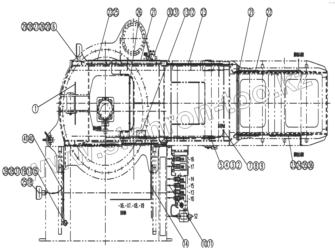
Каталог запасных частей к технике: XCMG QY30KL. 111201450 Turn Table Appliance
1
2
3
4
5
6
7
8
9
10
10
11
12
13
14
15
17
18
19
20
21
21
22
22
23
23
24
25
25
26
26
27
28
28
29
30
31
35
36
37
39
40
41
| Позиция на иллюстрации | Заводской номер детали | Название детали | |
|---|---|---|---|
| 1 | 111201469 | Turntable appliance welded construction | |
| 2 | 110500753 | Turntable wires | |
| 3 | 110500754 | Turntable wires | |
| 4 | 111701409 | Turntable wires | |
| 5 | 111701408 | Turntable wires | |
| 6 | 112400436 | Working lamp support | |
| 7 | 803600457 | Double plug | |
| 8 | 803107884 | Sealed | |
| 9 | 803600572 | Male end | |
| 10 | 803600575 | Insert flake | |
| 10 | 803600394 | The jacket of plug | |
| 11 | 803600440 | Plug | |
| 12 | 803602254 | Sensor | |
| 13 | 803500198 | Sensor | |
| 14 | 803602425 | Position switches | |
| 15 | 803700007 | Electric horn | |
| 16 | 801900028 | Clip strip | |
| 17 | 803700549 | Sleeve | |
| 18 | 839900103 | Plastic sleeve pipe | |
| 19 | 803602682 | Cable | |
| 20 | 803500022 | Working lamp | |
| 21 | 111201466 | Cover board | |
| 22 | 111201467 | Cover board | |
| 23 | 111201468 | Cover board | |
| 24 | 111201444 | Bracket | |
| 25 | 805000008 | Болт М6х12 | |
| 26 | 805000322 | Болт М6х16 | |
| 27 | 805200053 | Гайка М6 | |
| 28 | 805300029 | Шайба М6 | |
| 29 | 805300030 | Шайба М6 | |
| 30 | 803600462 | Columniform plug | |
| 31 | 803600459 | The jacket of columniform plug | |
| 32 | 111202367 | Cover board | |
| 33 | 803611325 | Cable | |
| 34 | 805000391 | Bolt M5x16 | |
| 35 | 805300109 | Шайба 5 | |
| 36 | 805300119 | Шайба 5 | |
| 37 | 805000018 | Болт М8х20 | |
| 38 | 805300010 | Шайба 8 | |
| 39 | 805200045 | Гайка М8 | |
| 40 | 803600458 | Double plug | |
| 41 | 803107881 | Sheet plug |
Содержащиеся в справочниках-каталогах запасные части и детали не предлагаются к продаже, а носят исключительно информационный характер