Каталог запасных частей к технике: XCMG QY25K. QY16K.08 Lifting movement
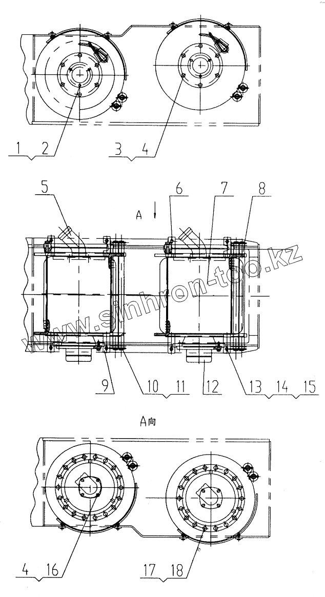
1
2
3
4
4
5
6
7
8
9
10
11
12
13
14
15
16
17
18
| Позиция на иллюстрации | Заводской номер детали | Название детали | |
|---|---|---|---|
| 1 | 10410374 | Bolt M6x16 | |
| 2 | 10440002 | Washer 16 | |
| 3 | 10410510 | Bolt М12х45 | |
| 4 | 10440010 | Washer 12 | |
| 5 | 10100151 | Motor | |
| 6 | QY16K.08.1 | Protective plate | |
| 7 | 10310083 | Winch reducer | |
| 8 | QY16K.08-2 | Shaft | |
| 9 | QY16K.08.3 | Protective plate | |
| 10 | 10440132 | Washer 30 | |
| 11 | 10470062 | Pin 6.3x60 | |
| 12 | 10810032 | Counter | |
| 13 | 10430004 | Nut M10 | |
| 14 | 10410038 | Bolt M10x30 | |
| 15 | 10440006 | Washer 10 | |
| 16 | 10410733 | Bolt M12x40 | |
| 17 | 10410170 | Bolt M16x55 | |
| 18 | 10440002 | Washer 16 |
Содержащиеся в справочниках-каталогах запасные части и детали не предлагаются к продаже, а носят исключительно информационный характер