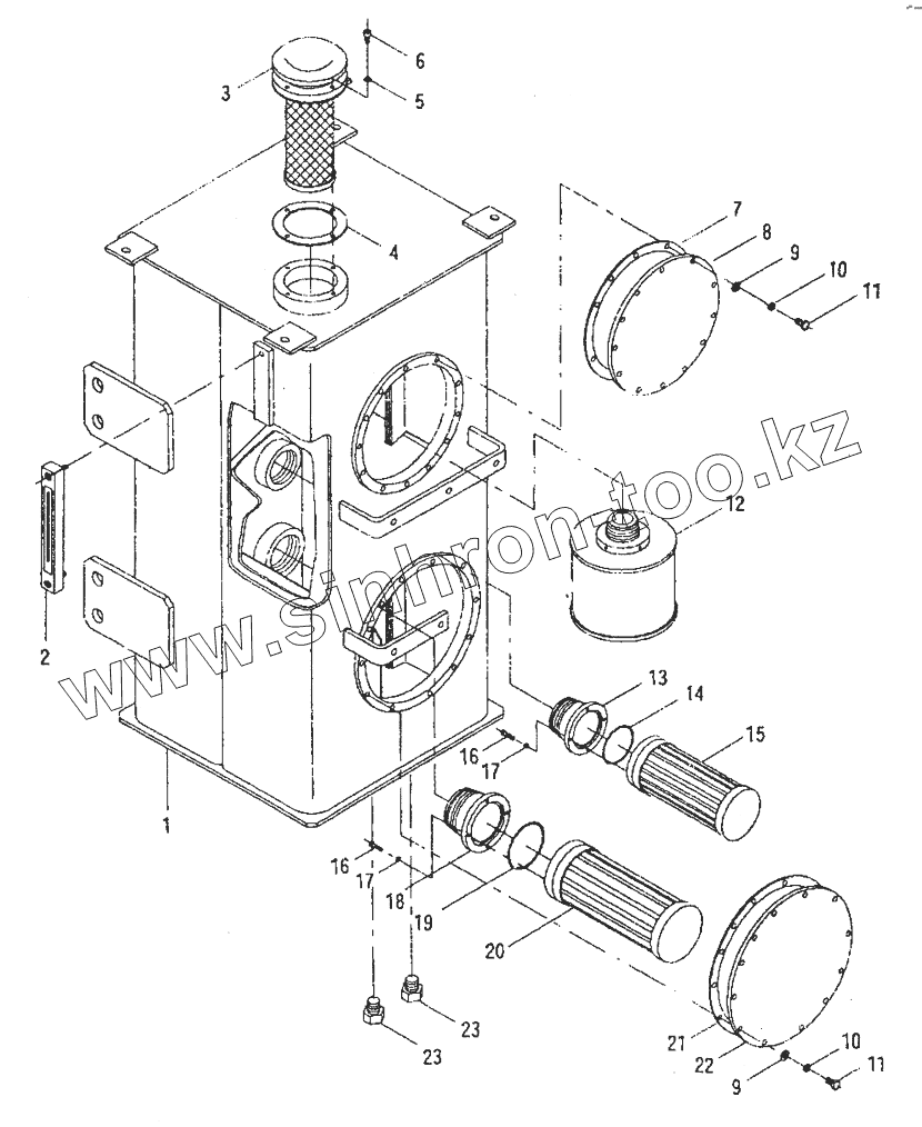
Каталог запасных частей к технике: XCMG LW-541F. LW560F.7.1.13 Гидравлический масляный бак
1
2
3
4
5
6
7
8
9
9
10
10
11
11
12
13
14
15
16
16
17
17
18
19
20
21
22
23
23
| Позиция на иллюстрации | Заводской номер детали | Название детали | |
|---|---|---|---|
| 1 | LW560F.7.1.13.1 | Резервуар | |
| 2 | YWZ-250 | Датчик уровня масла | |
| 3 | ZL40(X).1.3.5A | Filter Assembly | |
| 4 | ZL40.1.3-8 | Прокладка | |
| 5 | GB93-87 | Шайба 12 | |
| 6 | GB65-85 | Винт М6х25 | |
| 7 | ZL50E.7.3-5A | Прокладка | |
| 8 | ZL50E.7.3-4A | Крышка | |
| 9 | GB97.1-85 | Шайба | |
| 10 | GB93-87 | Шайба 12 | |
| 11 | GB5781-86 | Болт | |
| 12 | LW560F.7.1.13.2 | Узел фильтра | |
| 13 | ZL50E.7.3.3 | Соединительный элемент i | |
| 14 | GB3452.1-1992 | Кольцо | |
| 15 | WU-400X100F-J | Узел фильтра | |
| 16 | GB65-85 | Винт М6х25 | |
| 17 | GB93-87 | Шайба 12 | |
| 18 | ZL50E.7.3.2 | Соединительный элемент II | |
| 19 | GB3452.1-1992 | Кольцо | |
| 20 | WU-630X100F-J | Узел фильтра | |
| 21 | ZL50E.7.3-3A | Прокладка | |
| 22 | ZL50E.7.3-2A | Крышка | |
| 23 | GB5783-86 | Болт |
Содержащиеся в справочниках-каталогах запасные части и детали не предлагаются к продаже, а носят исключительно информационный характер