Каталог запасных частей к технике: XCMG LW-166. Задние шасси
1
1
1
1
1
2
2
2
2
2
3
3
4
4
5
5
6
7
8
9
10
10
11
11
12
13
14
15
16
17
18
19
20
21
22
23
24
25
26
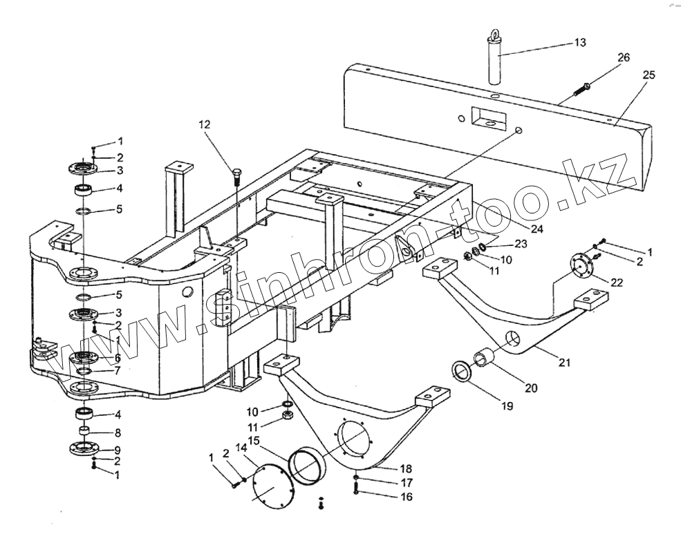
| Позиция на иллюстрации | Заводской номер детали | Название детали | |
|---|---|---|---|
| 1 | GB5783-86 | Болт | |
| 2 | GB93-87 | Шайба 12 | |
| 3 | ZL15E.8-2 | Крышка корпуса подшипника | |
| 4 | GE50ES | Смазочный ниппель | |
| 5 | GB1235-76 | Кольцо | |
| 6 | ZL15E.8-11 | Верхняя крышка корпуса подшипника | |
| 7 | GB1235-76 | Кольцо | |
| 8 | ZL15E.8-13 | Распорная втулка | |
| 9 | ZL15E.8-12 | Нижняя крышка корпуса подшипника | |
| 10 | GB93-87 | Шайба 12 | |
| 11 | GB6170-86 | Гайка | |
| 12 | GB5783-86 | Болт | |
| 13 | ZL15E.8.6 | Штифт сцепного устройства | |
| 14 | ZL15E.8-9 | Передняя крышка | |
| 15 | ZL15E.8-8 | Втулка | |
| 16 | GB5783-86 | Болт | |
| 17 | Гайка | Гайка | |
| 18 | ZL15E.8-10 | Передний навесной брус | |
| 19 | ZL15E.8-6 | Задняя соединительная подушка | |
| 20 | ZL15E.8-5 | Задняя соединительная втулка | |
| 21 | ZL15E.8-7 | Задний соединительный брус | |
| 22 | ZL15E.8-4 | Задний соединительный лонжерон | |
| 23 | GB96-85 | Шайба | |
| 24 | ZL16G.8.2 | Задняя рама | |
| 25 | ZL16G.8-3 | Задний противовес | |
| 26 | GB5782-86 | Болт |
Содержащиеся в справочниках-каталогах запасные части и детали не предлагаются к продаже, а носят исключительно информационный характер