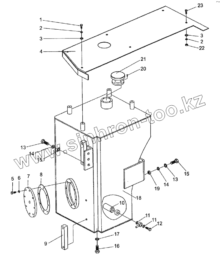
Каталог запасных частей к технике: XCMG LW-166. Топливный бак
1
2
2
3
3
4
5
6
7
8
9
10
11
11
12
13
13
14
14
15
15
16
17
18
19
20
21
22
23
| Позиция на иллюстрации | Заводской номер детали | Название детали | |
|---|---|---|---|
| 1 | GB5783-86 | Болт | |
| 2 | GB93-87 | Шайба 12 | |
| 3 | GB97.1-85 | Шайба | |
| 4 | ZL16G.19-1 | Крышка | |
| 5 | GB5783-86 | Болт | |
| 6 | GB93-87 | Шайба 12 | |
| 7 | ZL15E.19-2 | Крышка | |
| 8 | ZL15E.19-3 | Шайба | |
| 9 | YWZ-150127 | Указатель уровня | |
| 10 | YXL-134 | Узел фильтра | |
| 11 | JB982-77 | Шайба | |
| 12 | JB999-77 | Болт | |
| 13 | GB97.1-85 | Шайба | |
| 14 | GB93-87 | Шайба 12 | |
| 15 | GB5783-86 | Болт | |
| 16 | JB982-77 | Шайба | |
| 17 | JB1000-77 | Заглушка | |
| 18 | ZL16G.19.1 | Корпус | |
| 19 | GB6170-86 | Гайка | |
| 20 | GB70-85 | Болт | |
| 21 | EF3-40 | Фильтр | |
| 22 | GB6170-86 | Гайка | |
| 23 | GB5783-86 | Болт |
Содержащиеся в справочниках-каталогах запасные части и детали не предлагаются к продаже, а носят исключительно информационный характер