Каталог запасных частей к технике: XCMG LW-166. Передние шасси
1
2
3
4
4
4
4
4
5
5
6
7
7
7
7
8
8
8
8
8
8
9
9
9
10
11
12
13
14
15
16
16
17
18
19
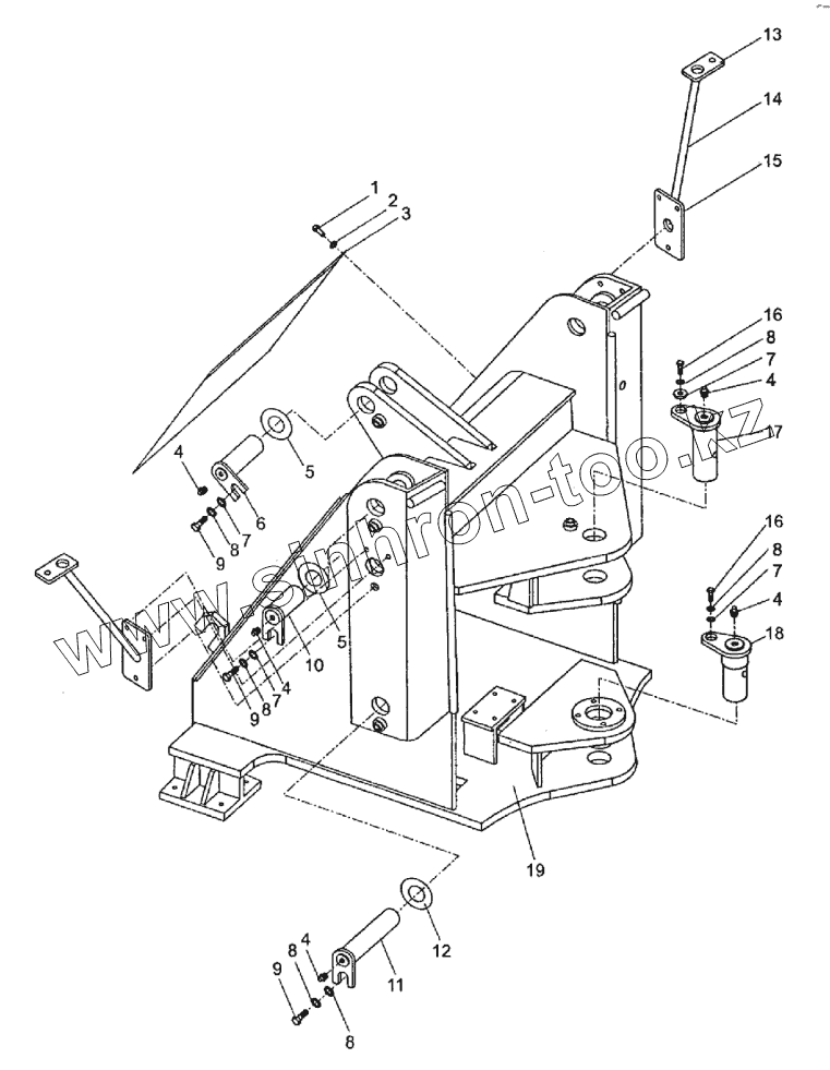
| Позиция на иллюстрации | Заводской номер детали | Название детали | |
|---|---|---|---|
| 1 | GB5783-86 | Болт | |
| 2 | GB93-87 | Шайба 12 | |
| 3 | ZL15E.8-1 | Пластина | |
| 4 | GB1152-79 | Заглушка для смазки | |
| 5 | ZL15E.11-11 | Масленка | |
| 6 | ZL15E.11-10 | Шайба | |
| 7 | GB96-85 | Шайба | |
| 8 | GB93-87 | Шайба 12 | |
| 9 | GB5783-86 | Болт | |
| 10 | ZL15E.11.9 | Болт | |
| 11 | ZL15E.11.11 | Штифт вала | |
| 12 | ZL15E.11A-9 | Штифт вала | |
| 13 | ZL15H.8.5-1 | Шайба | |
| 14 | ZL15H.8.5-2 | ZL15H.8.5-2 | |
| 15 | ZL15H.8.5-3 | ZL15H.8.5-3 | |
| 16 | GB5783-86 | Болт | |
| 17 | ZL15E.8.3 | Штифт вала | |
| 18 | ZL15E.8.4 | Штифт вала | |
| 19 | ZL16G.8.1 | Передняя рама |
Содержащиеся в справочниках-каталогах запасные части и детали не предлагаются к продаже, а носят исключительно информационный характер