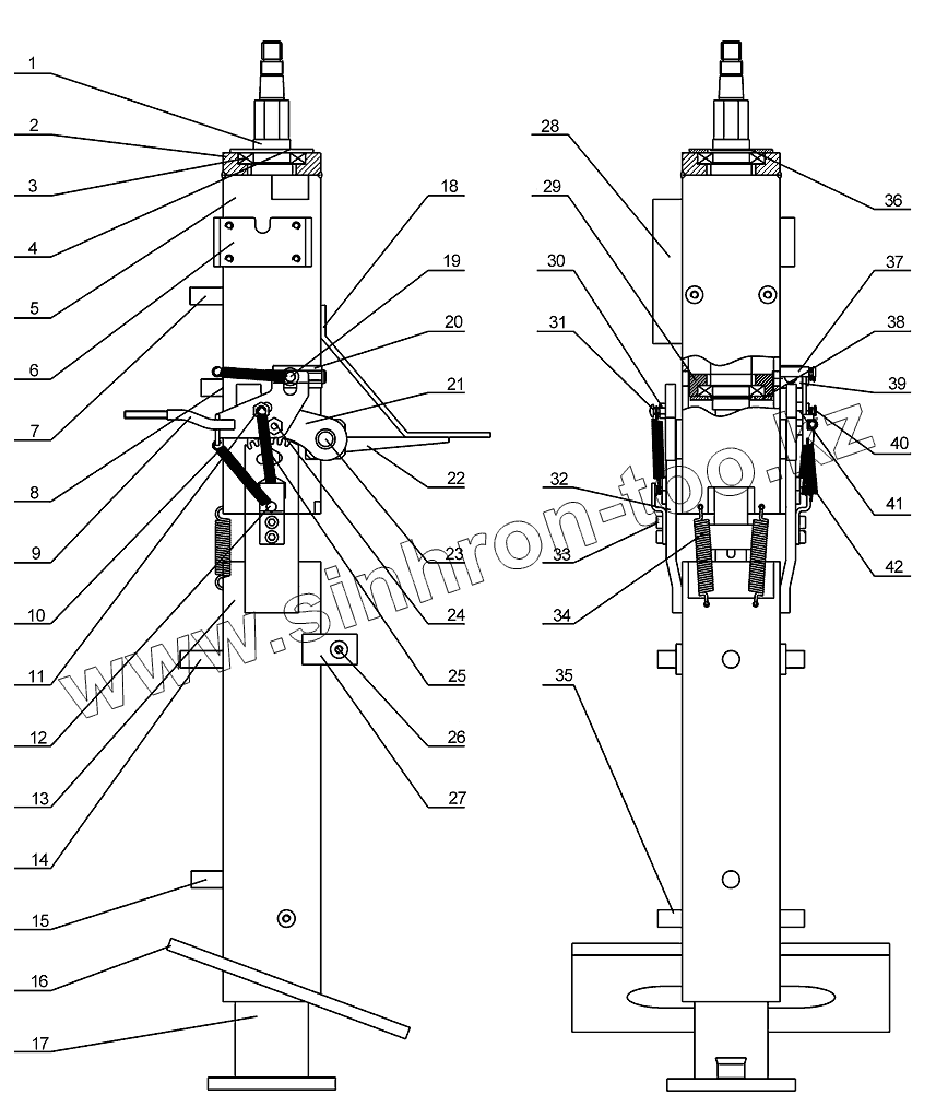
Каталог запасных частей к технике: XCMG LW300KN. Поворотный механизм LW300KN
1
2
3
4
5
6
7
8
9
10
11
12
13
14
15
16
17
18
19
20
21
22
23
24
25
26
27
28
29
30
31
32
33
34
35
36
37
38
39
40
41
42
| Позиция на иллюстрации | Заводской номер детали | Название детали | |
|---|---|---|---|
| 1 | RC3400-1010-01 | Блок вращающихся валов | |
| 2 | RC3400-1010-02 | Верхнее гнездо подшипника | |
| 3 | GB/T276-1994 | Подшипник | |
| 4 | RC3400-1010-03 | Перекрышка подшипника | |
| 5 | RC3400-1010-04 | Верхняя опора | |
| 6 | RC3400-1010-05 | Блок мелкой опоры | |
| 7 | RC3400-1010-06 | Крепительная втулка 27 | |
| 8 | RC3400-1010-07 | Крепительная втулка 18 | |
| 9 | RC3400-1010-08 | Блок скобы | |
| 10 | RC3400-1010-09 | Вытягивающая пружина | |
| 11 | RC3400-1010-10 | Болт поворотной планки | |
| 12 | RC3400-1010-11 | Нажимная планка вала вращения | |
| 13 | RC3400-1010-12 | Нижняя опора | |
| 14 | RC3400-1010-13 | Крепительная втулка 35 | |
| 15 | RC3400-1010-14 | Крепительная втулка 26 | |
| 16 | RC3400-1010-15 | Башмак | |
| 17 | RC3400-1010-16 | Комбинация основания | |
| 18 | RC3400-1010-17 | Крепительная планка кипы | |
| 19 | RC3400-1010-18 | Блок скользящего рычага | |
| 20 | RC3400-1010-19 | Сухарный вырез | |
| 21 | RC3400-1010-20 | Верхняя зубчатая полоса | |
| 22 | RC3400-1010-21 | Ребро жесткости | |
| 23 | RC3400-1010-22 | Вращающийся вал | |
| 24 | RC3400-1010-23 | Болт поворотной планки II | |
| 25 | RC3400-1010-24 | Мелкий болт вала вращения | |
| 26 | RC3400-1010-25 | Крепительная втулка 15 | |
| 27 | RC3400-1010-26 | Упорная планка крепительной втулки 15 | |
| 28 | RC3400-1010-27 | Боковая опора | |
| 29 | RC3400-1010-28 | Нижнее гнездо подшипника | |
| 30 | GB/T6170-2000 | Гайка M6 | |
| 31 | GB/T823 | Винт M6x16 | |
| 32 | RC3400-1010-29 | Нижняя зубчатая полоса | |
| 33 | GB/T70.1-2000 | Болт M6x12 | |
| 34 | RC3400-1010-30 | Вытягивающая пружина | |
| 35 | RC3400-1010-31 | Крепительная втулка 20 | |
| 36 | GB/T894.1-1986 | Борткольцо | |
| 37 | RC3400-1010-32 | Колонна пружинного крюка | |
| 38 | RC3400-1010-33 | Перекрышка нижнего гнезда подшипника | |
| 39 | RC3400-1010-34 | Упорное гнездо верхней зубчатой полосы | |
| 40 | RC3400-1010-35 | Болт вала вращения | |
| 41 | RC3400-1010-36 | Вытягивающая пружина | |
| 42 | RC3400-1010-37 | Шайба |
Содержащиеся в справочниках-каталогах запасные части и детали не предлагаются к продаже, а носят исключительно информационный характер