Каталог запасных частей к технике: XCMG LW300KN. Электросистема LW300KN
1
1
2
3
4
5
6
7
8
9
10
11
12
13
14
15
16
17
18
19
20
21
22
22
23
24
25
26
27
28
29
30
31
32
33
34
35
36
36
37
38
39
40
41
42
43
44
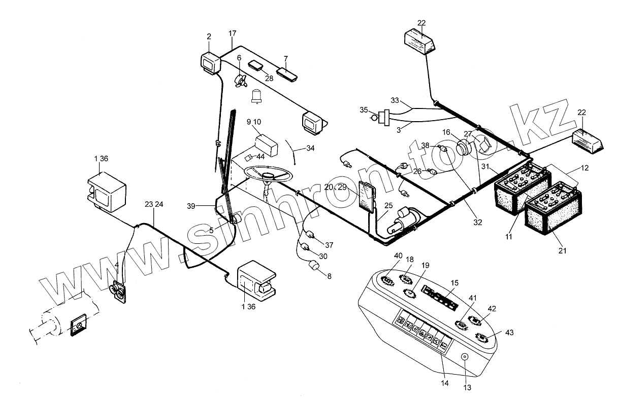
| Позиция на иллюстрации | Заводской номер детали | Название детали | |
|---|---|---|---|
| 1 | 803544057 | Рабочая фара | |
| 2 | 803544049 | Рабочая фара | |
| 3 | 803676251 | Проводка аккумулятора | |
| 4 | 803542844 | Сирена | |
| 5 | 802138058 | Стеклоочиститель | |
| 6 | 803502415 | Электровентилятор | |
| 7 | 803677653 | Перекидной выключатель | |
| 8 | 803676134 | Тормозный выключатель | |
| 9 | 251703060 | Коробка для предохранителей | |
| 10 | 803680178 | Коробка централизованного управления электроаппаратами | |
| 11 | 803613911 | Проводка аккумулятора | |
| 12 | 803614143 | Проводка аккумулятора | |
| 13 | 803608667 | Выключатель зажигания | |
| 14 | 803677653 | Перекидной выключатель | |
| 15 | 251700391 | Комбинированный огонь-указатель | |
| 16 | 803504582 | Датчик топлива | |
| 17 | 251805828 | Пучок проводов кабины | |
| 18 | 803502427 | Указатель топлива | |
| 19 | 803502410 | Указатель температуры воды двигателя | |
| 20 | 803678323 | Главный выключатель питания | |
| 21 | 803502471 | Аккумулятор | |
| 22 | 803544058 | Задний фонарь | |
| 23 | 252606218 | Пучек проводов передней рамы | |
| 24 | 801902724 | Нейлоновая тесьма-завязка | |
| 25 | 803611390 | Проводка аккумулятора | |
| 26 | 803502510 | Аварийный выключатель давления масла | |
| 27 | 803504584 | Сигнализатор заднего хода | |
| 28 | 803608271 | Сборка на радио | |
| 29 | 252903889 | Монтажная панель реле | |
| 30 | 803611283 | Напорный выключатель | |
| 31 | 801902753 | Резиновый защитный чехол | |
| 32 | 252606220 | Пучек проводов задней рамы | |
| 33 | 803604701 | Проводка аккумулятора | |
| 34 | 802138059 | Стеклоочиститель | |
| 35 | 803604579 | Выключатель отрицательного полюса аккумулятора | |
| 36 | 803608327 | Амортизирующая прокладка | |
| 37 | 803502420 | Датчик температуры масла | |
| 38 | 250100117 | Датчик температуры воды | |
| 39 | 252606219 | Жгут проводов приборного щита | |
| 40 | 803502517 | Часомер | |
| 41 | 803502414 | Указатель температуры масла Т/М | |
| 42 | 803538236 | Пневмометр | |
| 43 | 803502924 | Вольтметр | |
| 44 | 803542884 | Омыватель в сборе |
Содержащиеся в справочниках-каталогах запасные части и детали не предлагаются к продаже, а носят исключительно информационный характер