Каталог запасных частей к технике: XCMG LW300FN. Система кондиционера 251700161
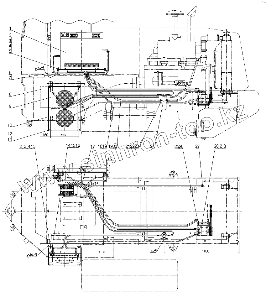
1
1
1
2
2
3
3
3
4
4
5
6
7
8
9
10
11
12
13
14
15
16
17
18
19
19
20
21
22
23
24
| Позиция на иллюстрации | Заводской номер детали | Название детали | |
|---|---|---|---|
| 803502601 | 803502601 | Компрессор кондиционера | |
| TYJ2-400 | TYJ2-400 | Резервный резервуар | |
| Конденсатор | Конденсатор | Конденсатор | |
| CDZ40K-010 | CDZ40K-010 | Выпариватель | |
| А17-430 | А17-430 | Ремень типа А 17-430 | |
| 1 | 803543162 | Кондиционер в сборе | |
| 1 | 803502530 | Кондиционер в сборе | |
| 2 | 805000715 | Болт M12x25 | |
| 3 | 805300018 | Шайба 12 | |
| 4 | 805300020 | Шайба 12 | |
| 5 | 251700175 | Передняя опора | |
| 6 | 251700176 | Задняя опора | |
| 7 | 250500176 | Левая упорная планка | |
| 8 | 250100589 | Шибер | |
| 9 | 251700323 | Кронштейн крепления конденсатора | |
| 10 | 805101744 | Винт М8х16 | |
| 11 | 805300069 | Шайба 8 | |
| 12 | 251900634 | Неподвижный блок | |
| 13 | 803163988 | Резиновая труба JB/T8406-2001 | |
| 14 | 250500207 | Водяная труба теплой воды | |
| 15 | 801902699 | Кольцевой хомут из двух стальных проловок 28-32 | |
| 16 | 250500208 | Водяная труба теплой воды | |
| 17 | 805000525 | Болт М6х20 | |
| 18 | 805300030 | Шайба М6 | |
| 19 | 805200053 | Гайка М6 | |
| 20 | 250100588 | Установочная планка ресивера | |
| 21 | 800787654 | Клапан водяного крана | |
| 22 | 250300190 | Соединение указателя температуры воды | |
| 23 | 250200223 | Соединение | |
| 24 | 250100674 | Опора компрессора кондиционера |
Содержащиеся в справочниках-каталогах запасные части и детали не предлагаются к продаже, а носят исключительно информационный характер