Каталог запасных частей к технике: XCMG LW300FN. Частотно-следящая управления с изменяемой скоростью 251702561
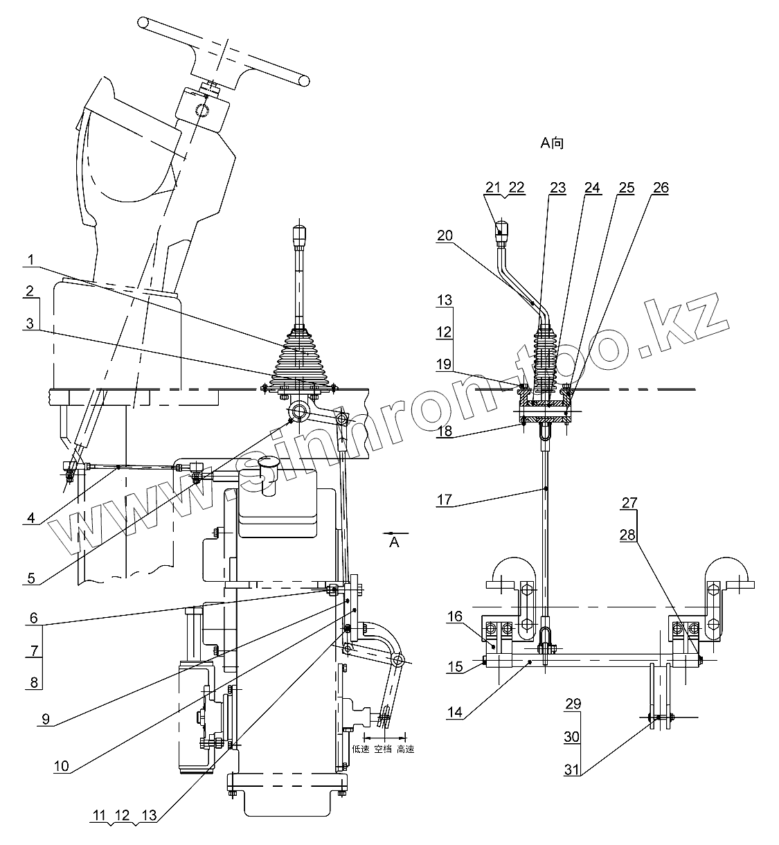
1
2
3
4
5
6
7
8
9
10
11
12
12
13
13
14
15
16
17
18
19
20
21
22
23
24
25
26
27
28
29
30
31
| Позиция на иллюстрации | Заводской номер детали | Название детали | |
|---|---|---|---|
| 1 | 251800359 | Резиновая втулка | |
| 2 | 805100056 | Винт М5х12 | |
| 3 | 805300183 | Шайба 5 | |
| 4 | 251700455 | Соединительный рычаг | |
| 5 | 801100336 | Масленка M10x1 | |
| 6 | 805000217 | Болт М16х100 | |
| 7 | 805200051 | Гайка М16 | |
| 8 | 805300011 | Шайба 16 | |
| 9 | 250100161 | Подстилка | |
| 10 | 250100162 | Упорная пластинка | |
| 11 | 805000207 | Болт M10x45 | |
| 12 | 805200048 | Гайка М10 | |
| 13 | 805300014 | Шайба 10 | |
| 14 | 250100881 | Нижний механизм | |
| 15 | 250100174 | Вал | |
| 16 | 250100436 | Опора | |
| 17 | 250100882 | Соединительный рычаг | |
| 18 | 805101818 | Винт М6х16 | |
| 19 | 805001924 | Болт М10х25 | |
| 20 | 250900396 | Рычаг управления | |
| 21 | 801902748 | Шар ручки | |
| 22 | 805200049 | Гайка М12 | |
| 23 | 250200195 | Промежуточное тело | |
| 24 | 250200196 | Гильза С1 | |
| 25 | 250200197 | Насадка | |
| 26 | 250100413 | Вал | |
| 27 | 805000018 | Болт М8х20 | |
| 28 | 250100437 | Шайба | |
| 29 | 805600002 | Вал штифта B10х60 | |
| 30 | 805601544 | Штифт 2.5x25 | |
| 31 | 805300017 | Шайба 10 |
Содержащиеся в справочниках-каталогах запасные части и детали не предлагаются к продаже, а носят исключительно информационный характер