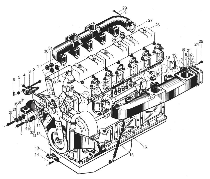
Каталог запасных частей к технике: XCMG DT-140B. 010031 Дизельный двигатель
1
2
3
4
5
6
8
9
9
9
10
11
12
13
14
15
16
17
18
19
20
21
22
23
24
24
25
26
27
28
29
30
30
31
31
32
33
33
34
34
35
| Позиция на иллюстрации | Заводской номер детали | Название детали | |
|---|---|---|---|
| 1 | 0А02005 | УЗЕЛ ВЫХЛОПНОЙ ТРУБЫ | |
| 2 | 0А02032 | БОЛТ | |
| 3 | 0А02008 | СУППОРТ ГЕНЕРАТОРА | |
| 4 | GB5783-86 | Болт | |
| 5 | GB6171-86 | Гайка | |
| 6 | GB91-86 | Шплинт | |
| 7 | 0А02036 | РЕГУЛИРОВОЧНЫЙ СУППОРТ | |
| 8 | GB5782-86 | Болт | |
| 9 | GB93-87 | Шайба 12 | |
| 10 | GB97.1-85 | Шайба | |
| 11 | 0А02035 | ПЕРЕДНИЙ СУППОРТ | |
| 12 | 0А02001 | ДИСК РЕМНЯ | |
| 13 | 0А02012 | УКАЗАТЕЛЬ | |
| 14 | GB5783-86 | Болт | |
| 15 | 0А02208 | СЕДЛО ИЗМЕРИТЕЛЬНОГО СТЕРЖНЯ | |
| 16 | 0А02025 | ИЗМЕРИТЕЛЬНЫЙ СТЕРЖЕНЬ | |
| 17 | GB5783-86 | Болт | |
| 18 | 0А02009 | КРЫШКА ПОВОРОТНОЙ ОСИ | |
| 19 | 0A02004 | ПРОКЛАДКА ВПУСКНОЙ ТРУБЫ | |
| 20 | 0А02010 | ВПУСКНАЯ ТРУБА | |
| 21 | 0А02003 | ПРОКЛАДКА | |
| 22 | GB5783-86 | Болт | |
| 23 | 0А02002 | ПЛАСТИНА КРЫШКИ | |
| 24 | GB93-87 | Шайба 12 | |
| 25 | GB5783-86 | Болт | |
| 26 | 6135AK-10 | ДИЗЕЛЬНЫЙ ДВИГАТЕЛЬ | |
| 27 | 0А02006 | ПРОКЛАДКА, ВЫХЛОПНАЯ ТРУБА | |
| 28 | 0А02007 | ВИНТОВАЯ ЗАГЛУШКА | |
| 29 | GB898-88 | Болт М12x130 | |
| 30 | GB849-88 | ШАЙБА 8 | |
| 31 | GB850-88 | ШАЙБА | |
| 32 | GB5783-86 | Болт | |
| 33 | GB849-86 | ШАЙБА 10 | |
| 34 | GB850-88 | ШАЙБА | |
| 35 | GB971-85 | ШАЙБА 8 |
Содержащиеся в справочниках-каталогах запасные части и детали не предлагаются к продаже, а носят исключительно информационный характер