Каталог запасных частей к технике: XCMG Автогрейдер-GR135. 380300953 (G135C00) Engine And Attachment
1
2
2
3
4
5
6
7
8
8
9
9
10
11
12
13
14
15
16
17
18
19
20
21
22
23
24
25
26
27
28
29
30
31
32
33
34
35
36
37
38
39
40
41
42
43
44
45
46
47
47
48
49
50
51
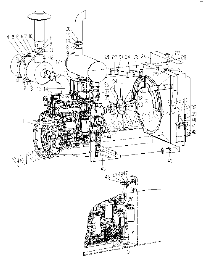
| Позиция на иллюстрации | Заводской номер детали | Название детали | |
|---|---|---|---|
| 1 | 800105766 | Diesel engine | |
| 2 | 805000727 | Болт М10х25 | |
| 3 | 805300014 | Шайба 10 | |
| 4 | 805000204 | Bolt | |
| 5 | 380300638 | Bracket,air cleaner | |
| 6 | 805200048 | Гайка М10 | |
| 7 | 805000437 | Bolt | |
| 8 | 805300010 | Шайба 8 | |
| 9 | 805200045 | Гайка М8 | |
| 10 | 380900881 | Tube | |
| 11 | 380300642 | Clamp | |
| 12 | 800105926 | Air cleaner | |
| 13 | 801907062 | Pipe clip | |
| 14 | 380300798 | Elbow | |
| 15 | 801907064 | Pipe clip | |
| 16 | 380300797 | Muffler bracket | |
| 17 | 380300796 | Muffler ass'y | |
| 18 | 805000137 | Bolt | |
| 19 | 380900986 | Clip | |
| 20 | 380300643 | Exhaust gas pipe | |
| 21 | 380300794 | Tube | |
| 22 | 380900979 | Hose | |
| 23 | 801907100 | Pipe clip | |
| 24 | 380300793 | Air intake pipe | |
| 25 | 800903126 | Air inlet duct | |
| 26 | 803010877 | Radiator assy | |
| 27 | 380300804 | Exhaust gas pipe | |
| 28 | 805801446 | Pipe clip | |
| 29 | 380300805 | Hutch water pipe | |
| 30 | 805801458 | Hoop iron | |
| 31 | 380300799 | Exhaust gas pipe | |
| 32 | 805000043 | Болт М10х30 | |
| 33 | 805000062 | Болт М10х35 | |
| 34 | 800105936 | Fan | |
| 35 | 380300800 | Fan separation | |
| 36 | 801907068 | Pipe clip | |
| 37 | 380300795 | Water outlet bend pipe | |
| 38 | 805000099 | Болт М12х60 | |
| 39 | 805300020 | Шайба 12 | |
| 40 | 805300018 | Шайба 12 | |
| 41 | 380300632 | Cushion | |
| 42 | 805200049 | Гайка М12 | |
| 43 | 801907069 | Pipe clip | |
| 44 | 801907070 | T-hoop | |
| 45 | 380300801 | Intake pipe | |
| 46 | 805009809 | Bolt | |
| 47 | 803192079 | Washer | |
| 48 | 380900991 | Tube,oil feed | |
| 49 | 380300802 | Pipe | |
| 50 | 803191153 | Tie-in | |
| 51 | 803190673 | Joint |
Содержащиеся в справочниках-каталогах запасные части и детали не предлагаются к продаже, а носят исключительно информационный характер