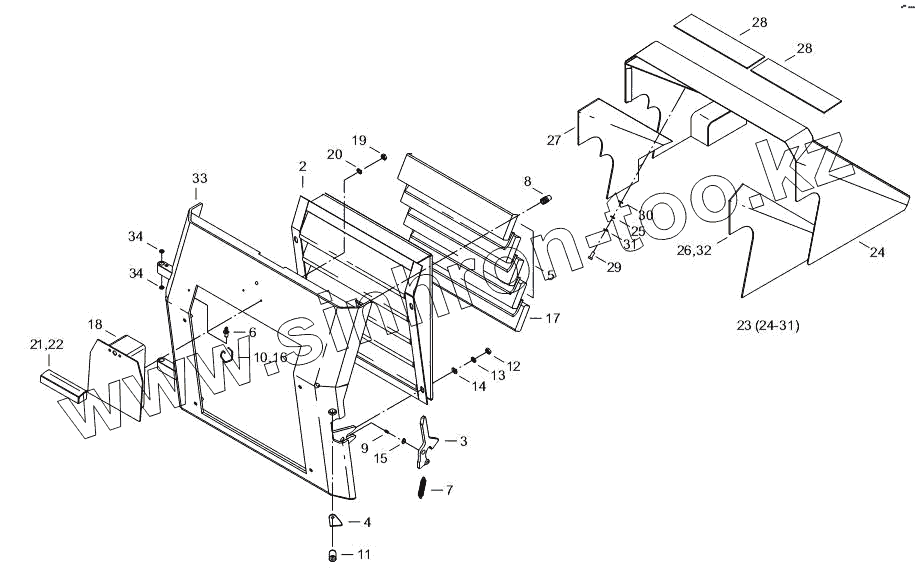
Каталог запасных частей к технике: WAY LOCUST L-853. Кузов
2
3
4
5
6
7
8
9
10
11
12
13
14
15
16
17
18
19
20
21
22
23
24
24
25
26
27
28
28
29
30
31
31
32
33
34
34
| Позиция на иллюстрации | Заводской номер детали | Название детали | |
|---|---|---|---|
| 2 | 11123002 | РАМКА | |
| 3 | 08120004 | РЫЧАГ | |
| 4 | 08120005 | ЗАПОР | |
| 5 | 11121005 | ОБЛИЦОВКА | |
| 6 | 11020015 | СТОПОР | |
| 7 | 07120007 | ПРУЖИНА | |
| 8 | 08120013 | УПОР | |
| 9 | 01122005 | МАСЛЕНКА | |
| 10 | 09121024 | ПРОВОД | |
| 11 | 07120016 | ЗАМОК | |
| 12 | 08120009 | ГАЙКА | |
| 13 | 09174014 | ПРОКЛАДКА | |
| 14 | 09151019 | ПРОКЛАДКА | |
| 15 | 00020013 | СТОПОРНОЕ КОЛЬЦО | |
| 16 | 00120041 | ТРУБКА | |
| 17 | 11123017 | ОБЛИЦОВКА | |
| 18 | 08120040 | КОНСОЛЬ | |
| 19 | 00081060 | ГАЙКА | |
| 20 | 00031055 | ПРОКЛАДКА | |
| 21 | 04040006 | СВЕТА | |
| 22 | 00101029 | ЛАМПОЧКА | |
| 23 | 11123023 | КРЫШКА ДВИГАТЕЛЯ | |
| 24 | 11123024 | КРЫШКА ДВИГАТЕЛЯ | |
| 25 | 11121018 | ПРОКЛАДКА | |
| 26 | 11121019 | ИЗОЛЯЦИЯ | |
| 27 | 11123027 | ИЗОЛЯЦИЯ | |
| 28 | 11121021 | ИЗОЛЯЦИЯ | |
| 29 | 00020010 | БОЛТ | |
| 30 | 00020018 | ПРОКЛАДКА | |
| 31 | 00020019 | ПРОКЛАДКА | |
| 32 | 07121049 | ПЕРЕВЯЗОЧНАЯ ЛЕНТА | |
| 33 | 11123033 | ЗАДНЯЯ КРЫШКА | |
| 34 | 11123034 | ВТУЛКА |
Содержащиеся в справочниках-каталогах запасные части и детали не предлагаются к продаже, а носят исключительно информационный характер