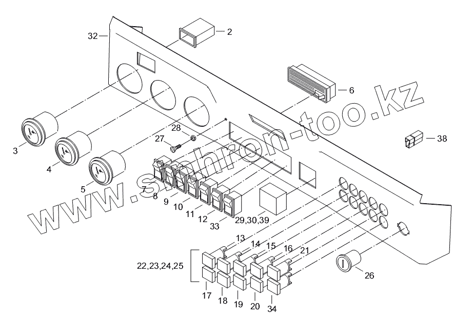
Каталог запасных частей к технике: WAY LOCUST L-1203. Щиток приборов
2
3
4
5
6
7
8
9
10
11
12
13
14
15
16
17
18
19
20
21
22
23
24
25
26
27
28
29
30
32
33
34
38
39
| Позиция на иллюстрации | Заводской номер детали | Название детали | |
|---|---|---|---|
| 2 | 07103002 | УКАЗАТЕЛЬ МОТОЧАСОВ | |
| 3 | 07103003 | ТЕРМОМЕТР ВОДЫ | |
| 4 | 07103004 | ТЕРМОМЕТР МАСЛА | |
| 5 | 07103005 | ТОПЛИВОМЕТР | |
| 6 | 00101013 | ПОТОЛОЧНЫЙ СВЕТ | |
| 7 | 07103007 | ВКЛЮЧАТЕЛЬ СТЕКЛООЧИСТИТЕЛЯ | |
| 8 | 07103008 | ВЛЮЧАТЕЛЬ ПЕЧКИ | |
| 9 | 07103009 | ВКЛЮЧАТЕЛЬ СВЕТА | |
| 10 | 07103010 | ПЕРЕКЛЮЧАТЕЛЬ РАБОЧЕГО СВЕТА | |
| 11 | 07103011 | ВКЛЮЧАТЕЛЬ МАЯЧКА | |
| 12 | 07103012 | ПЕРЕКЛЮЧАТЕЛЬ ТОРМОЗА | |
| 13 | 07103013 | СИМВОЛ ЗАРЯДКИ | |
| 14 | 07103014 | СИМВОЛ СМАЗКИ | |
| 15 | 07103015 | СИМВОЛ НАКАЛИВАНИЕ | |
| 16 | 07103016 | СИМВОЛ МАЯЧКА | |
| 17 | 07103017 | СИМВОЛ МИГАНИЕ ПОВОРОТА | |
| 18 | 07103018 | СИМВОЛ СВЕТА | |
| 19 | 07103019 | СИМВОЛ РАБОЧЕГО СВЕТА | |
| 20 | 07103020 | СИМВОЛ | |
| 21 | 07103021 | СИМВОЛ ЗАПАСА ТОПЛИВА | |
| 22 | 07103022 | ДЕРЖАТЕЛЬ | |
| 23 | 07103023 | КРЫШКА | |
| 24 | 07103024 | РАМКА | |
| 25 | 07103025 | ЛАМПОЧКА | |
| 26 | 00103009 | КОРОБКА ЗАЖИГАНИЯ | |
| 27 | 00153013 | БОЛТ | |
| 28 | 00081061 | ПРОКЛАДКА | |
| 29 | 07102007 | КОРОБКА ПРЕДОХРАНИТЕЛЕЙ | |
| 30 | 07102013 | ПРЕДОХРАНИТЕЛЬ | |
| 32 | 07103032 | ПРИБОРНЫЙ ЩИТОК | |
| 33 | 07103033 | ВКЛЮЧАТЕЛЬ ПРЕДУПР.СВЕТА | |
| 34 | 07103034 | СИМВОЛ ПРЕДУПР. СВЕТА | |
| 38 | 00238030 | ДИОД | |
| 39 | 07103035 | ПРЕДОХРАНИТЕЛЬ |
Содержащиеся в справочниках-каталогах запасные части и детали не предлагаются к продаже, а носят исключительно информационный характер