Каталог запасных частей к технике: WAY LOCUST L-1203. Кузов
4
5
6
7
9
10
11
13
13
14
15
16
22
23
24
25
26
27
27
28
28
28
29
30
31
31
32
33
35
36
36
37
38
39
40
41
44
45
46
47
48
49
50
50
51
52
53
53
54
55
56
57
58
59
60
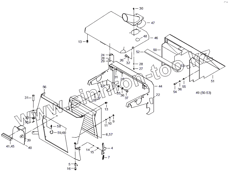
| Позиция на иллюстрации | Заводской номер детали | Название детали | |
|---|---|---|---|
| 4 | 08120004 | РЫЧАГ | |
| 5 | 08120005 | ЗАПОР | |
| 6 | 08120006 | ОБЛИЦОВКА | |
| 7 | 07120007 | ПРУЖИНА | |
| 9 | 08120009 | ГАЙКА | |
| 10 | 00031052 | ПРОКЛАДКА | |
| 11 | 00031054 | ПРОКЛАДКА | |
| 13 | 08120013 | УПОР | |
| 14 | 01122005 | МАСЛЕНКА | |
| 15 | 00020013 | СТОПОРНОЕ КОЛЬЦО | |
| 16 | 07120016 | ЗАМОК | |
| 22 | 08120022 | ИЗОЛЯЦИЯ | |
| 23 | 08120023 | ИЗОЛЯЦИЯ | |
| 24 | 08120024 | УШКО | |
| 25 | 08120025 | ЦАПФА | |
| 26 | 07062053 | ГАЙКА | |
| 27 | 00081060 | ГАЙКА | |
| 28 | 00031055 | ПРОКЛАДКА | |
| 29 | 08120029 | БОЛТ | |
| 30 | 08120030 | БОЛТ | |
| 31 | 00020024 | ШПЛИНТ | |
| 32 | 07120027 | СТОПОРНАЯ ЦАПФА | |
| 33 | 07120005 | ПРОКЛАДКА | |
| 34 | 08120034 | ЦАПФА | |
| 35 | 00020018 | ПРОКЛАДКА | |
| 36 | 00020019 | ПРОКЛАДКА | |
| 37 | 00063045 | БОЛТ | |
| 38 | 07120032 | ШПЛИНТ | |
| 39 | 00083018 | БОЛТ | |
| 40 | 08120040 | КОНСОЛЬ | |
| 41 | 04040006 | СВЕТА | |
| 44 | 08120044 | КРЫШКА | |
| 45 | 00101029 | ЛАМПОЧКА | |
| 46 | 08120046 | КРЫШКА | |
| 47 | 08120047 | ВЫХЛОП | |
| 48 | 08120048 | ИЗОЛЯЦИЯ | |
| 49 | 08151003 | КРЫШКАДВИГАТЕЛЯ | |
| 50 | 08151020 | ОБЛИЦОВКА | |
| 51 | 08151022 | КРЫШКАДВИГАТЕЛЯ | |
| 52 | 08151023 | ОБЛИЦОВКА | |
| 53 | 08151024 | ОБЛИЦОВКА | |
| 54 | 00020010 | БОЛТ | |
| 55 | 00173019 | ПРОКЛАДКА | |
| 56 | 08120056 | ЗАДНЯЯ КРЫШКА | |
| 57 | 08120057 | РАМКА | |
| 58 | 11020015 | СТОПОР | |
| 59 | 00120041 | ТРУБКА | |
| 60 | 11091036 | ТРОСИК |
Содержащиеся в справочниках-каталогах запасные части и детали не предлагаются к продаже, а носят исключительно информационный характер