Вернуться на главную
Поиск
Каталоги запчастей к технике
Спецтехника
Volvo
BL71 Plus
11880104, 11298197, 11298207 Regulator control
Каталог запасных частей к технике: Volvo BL71 Plus. 11880104, 11298197, 11298207 Regulator control
zoom-in
zoom-out
enlarge
shrink
circle-right
circle-left
file-text2
info
cart
Тип техники
Не выбрано
Легковые автомобили
Грузовые автомобили и прицепы
Автобусы
Сельхозтехника
Спецтехника
Двигатели
Мототехника
Марка
Не выбрано
Ammann
BOMAG
CARMIX
CASE IH
Changlin
ChengGong
Dimex
Doosan
DYNAPAC
Foton
HAMM
Hidromek
Hitachi
Hyundai
JCB
JLG
John Deere
Komatsu
LIEBHERR
LiuGong
Lonking (LongGong)
Luneng
MANITOU
Mitsuber
New Holland
PENGPU
RM-Terex
SANY
SDLG
SEM
Shantui
Shehwa HBXG
Soosan
TIGARBO
VOGELE
Volvo
WAY
WIRTGEN
XCMG
XGMA
Xiamen
YTO
Yuchai
Zoomlion
Автокран
АЗСМ
Алтайлесмаш
Амкодор
АОМЗ
Атек
АТЗ
Балканкар Рекорд
БелАЗ
Беловеж
Борекс
Брянский Арсенал
Булат
ВЭКС
ГАЗ
Геомаш
Гидромаш
Донекс
Дормаш
Дормашина
Дорэлектромаш
ДЭЗ
ЕлАЗ
ЗЗГТ
Ижнефтемаш
Канаш-электрокар
КЗКТ
ККЗ
Клевер
Клинцовский автокрановый завод
КМЗ
КМЗ 1 Мая
Ковровец
Коммаш
Кранэкс
КЭЗ
КЭМЗ
ЛЗА
МАЗ
МЗИК
МЗКМ
МЗКТ
Михневский РМЗ
МоАЗ
Мозырский МЗ
МТЗ
ОЗП
Онежец
ПАО "ТЗА"
ППС Детва
Промтрактор
ПТЗ
Раскат
СпецАгрегат
ТВЭКС
ТТМ
УВЗ
Угличмаш
УЗТМ
ХТЗ
ЧЗКМ
ЧСДМ
ЧТЗ
ЭКСКО
ЭКСМАШ
ЮрМаш
Модель
Не выбрано
BL60
BL61
BL61 Plus
BL70
BL71
BL71 Plus
BL71B
Схема
>
Не выбрано
PRODUCT SIGN PLATE
Repair kits for engine
Engine
Cylinder head
Cylinder block
Crankcase ventilation
Pistons
Valve mechanism
Timing gear casing and gears
Crankshaft and related parts
Flywheel housing
Oil sump
Engine mounting
11891209 Engine suspension.
Lubricating oil system
Oil filter
Oil cooler
Fuel tank with fitting parts
11891566 Fuel pump
11891566 Box
Fuel system
Fuel pump
Fuel injection pump with fitting parts
Regulator
Fuel lines and injectors
Inlet manifold and exhaust manifold
Exhaust system, silencer
Turbocharger with fitting parts
Air filter with fitting parts
Air filter
11891529 Air filter
Radiator with fitting parts
Expansion tank with fitting parts
Cooling system
Water pump and thermostat housing
11880104, 11891478 Fan
Belt transmission
11891429, 11891430 Engine heater.
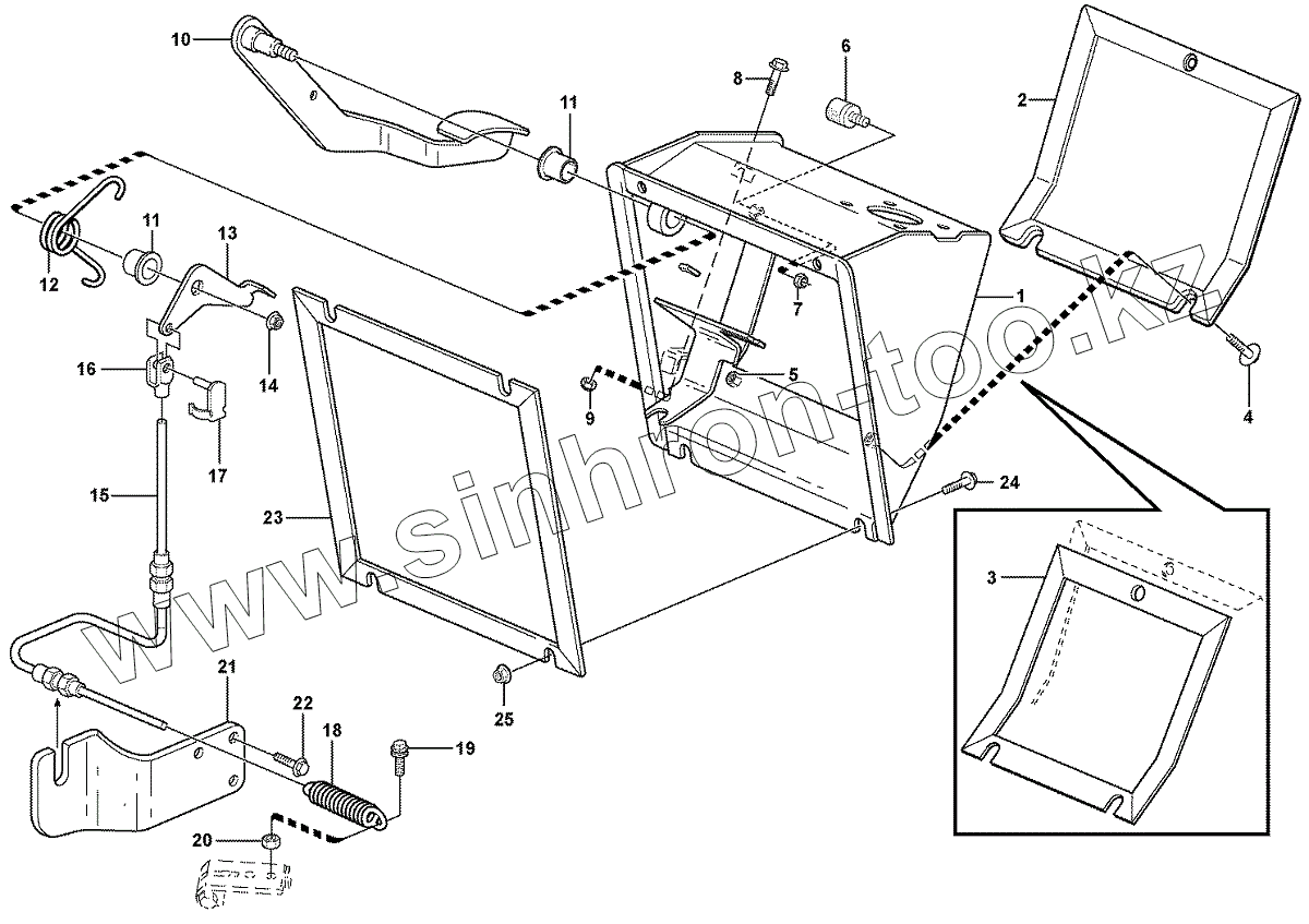
11880104, 11298197, 11298207 Regulator control
11298197, 11298207 Hand throttle
Shutdown device
Battery box with fitting parts
11888804 Alternator with assembling details
11888804 Starter motor with assembling details
11891002, 11891248, 11891249, 11891000, 11891050, 11890104 Lighting
11891291(REAR), 11891292(FORW) Work lights
11891002, 11891000, 11891248, 11891249, 11891050, 11298197, 11298204, 11298207, 11298208 Lighting, rear
11891001 License plate lamp
11298034 Position pointer and anchorage, license plate
Inner lamp
11880104, 11891377 Horn
11891261, 11891262 Rotating beacon
11298197, 11298203 Windshield wiper, front
11298197, 11298203 Windshield wiper, rear
11298197, 11298203 Windshield washer
11891392 (SINGLE), 11891391 (DOUBLE), 11880104 Battery cable and main switch
Cable harness, engine
11891209 Cable harness, transmission.
11891255 Cable harness, transmission.
11298197, 11298207, 11880104 Cable Harness Lighting Cab Ext.
11298197 Cable Harness cab int. roof
Cable harness chassis
Cable harness rear valve block
11880104, 11298197 Other cables
11891000, 11891002, 11891050, 11891248, 11891249 Cable harness, tail light
11891209 Cable harness, panel
11891255 Cable harness, panel
11891209 Cable harness, control panel right
11891255 Cable harness, control panel right
11298197 Cable harness heater and air conditioning
11891354 Wire harness 4 in 1
11891333 Cable harness, hand tool hydraulic
11891479, 11891480, 11891481, 11891482, 11891487, 11891409 Cable harness, Pilot Excavator Controls
11891238 Cable harness, Loader Quick Attach
11880104, 11298197, 11891255, 11891479 - 11891482, 11891487, 11891409 Electrical distribut.unit and control unit
11891278, 11891255, 11891280, 11891209, 11880104 Instrument panel
Switch
11891332 Anti-theft Kit
STD, 11891294 Foot switch and electric power outlet
Torque converter with fitting parts
11887381, 11891255 Hydraulic transmission with fitting parts
11887380, 11891209 Hydraulic transmission with fitting parts
11887381, 11891255 Oil filler and dipstick
11891209 Oil filler and dipstick
11891255 Oil pump
11887380, 11891209 Oil pump
11887381, 11891255 Clutch shaft forward/reverse
11897380, 11891209 Clutch shaft forward/reverse
11897381, 11891255 Reverse and primary shaft
11887381, 11891255 Secondary shaft
11887380, 11891209 Secondary shaft
11887381. 11891255 Hydraulic clutch, 4wd
11887380, 11891209 Axle, four-wheel drive
11887381, 11891255 Control valve
11887380, 11891209 Gearshifting
11897380, 11891209 Range selector valve
11897380, 11891209 Solenoid valve 4wd
11891209 Gear selector, 4-wheel drive
11891209, 11891255 Gear box housing with fitting parts
11891209, 11891255 Propeller shaft, mounting
11891209, 11891255 Propeller shaft
11887363, 11887362 Planet axles with fitting parts
11887362 Planetary axle, front
11887362 Pinion
11887362 Differential , front axle
11887362 Drive axle
11887362 Wheel hub
11887362 Planetary gear
11887363 Planet shaft, rear
11887363 Pinion
11887363 Differential. Rear
11887363 Hub reduction, rear axle
Differential lock
Differential lock
11891209, 11891255 Oil cooler, transmission
Multi-disc brake, rear
11880104, 11891209, 11891255 Wheel brake, rear
11298197, 11298207 Brake system
Parking brake
11880104, 11298197, 11298207 Parking brake
11298009, 11298010, 11880104, 11298021 Steering column with fitting parts
Steering system
Control valve
Frame
11891580 Protecting plates
11880104, 11891317, 11891358, 11891359 Counterweight
11891271 FRONT, 11891271 REAR, 11891474 FRONT, 11891474 REAR Wheel
11891477 FRONT, 11891477 REAR Wheel
11891313 FRONT, 11891313 REAR Wheel
11298197, 11298207, 11298160 Cab body: roof and floor panel
FRONT, REAR Cab mounting block
11880104, 11298197, 11298207, 11298239 Engine hood
Radiator casing
Splashguards, protective plates
11891000, 11891325, 11891340 Fender, front
11298197, 11298207 Fenders
11891514 Small rear fender.
Foot step
11298207 Step handle canopy
11298197 Door with fitting parts
11298164, 11298166, 11891000, 11891050, 11891248, 11891249, 11891002 Rear view mirror
11298197, 11298203 Glass panes
11298197 Windows
11298018 Interior components
11891216, 11891099, 11891217, 11891100, 11891314 Operator seat with fitting parts
11891376, 11891314 Operator's seat.
11891110, 11888868 Operator's seat
11298018 Air ducts
11298197 Air ducts
11298197 Cab heater
11298197, 11298018 Radiator and control
11298197 Cab heater with connectors
11298018 Air conditioning
11298018 Evaporator, assembly
11298018 Assembly hoses: Evaparator, receiver drier, condenser.
11298197, 11298207, 11880104, 11298032, 11298167 Instrument panel
11891303, 11891488 Radio bracket
11298032 Vandalism kit
11298197, 11298016, 11298207, 11298280, 11298168 Interior components
Cover for servo valves
11891479, 11891480, 11891482, 11891487, 11891481, 11891409 Cover for Pilot Excavator Controls
Toolbox
11891152 Tool
11891000, 11891050, 11891094 Stop block holder
11891584 Toolbox
11880104, 11891000, 11891050, 11891002, 11891249 Sign plates and decals
WARNING Decals
11880104, 11891298, 11891324 Hydraulic oil tank
Hydraulic system, suction line, filter
Hydraulic system, return line
Hydraulic oil cooler
Hydraulic system, feed line
11891294 Hydraulic system, hammer
11891375 Pipes for hammer attachment
Hydraulic system, stabiliser legs
11880104, 11891354 Hydraulics loader (lift & tilt)
11880104, 11891273, 11891354, 11891374 Hydraulic system, excavator
11880104, 11891354 Hydraulic system loader
Hydraulic system, boom
Hydraulic system dipper arm
11880104, 11891041, 11891524 Hydraulic system, bucket
11891273 Hydraulic system extendible dipper arm
11891326, 11891500 Hydraulic system safety valve boom and dipper arm cylinder
11891327,11891500 Hydraulic system loader safety valves
Hydraulic system pilot excavator controls
11880104 SE- Loader controls with safety accumulator
11891479, 11891482 Excavator Controls ISO
11891480, 11891487 Excavator Controls SAE
11891481, 11891409 Excavator Controls SAE/ISO
11886145 Valve body
Pressure limiting valve
Automatic self-level function
11891326, 11891500 Safety valve boom and dipper arm cylinder
11891326, 11891327, 11891500 Safety valve loader
Hydraulic pump with fitting parts
Hydraulic pump
11880104, 11891354, 11891374, 11891499 Servo valve
11886631, 11886632, 11886633 Servo valve
11891273 Pedal
Hydraulic system, sideshift
11891333 Optional hydraulic equipment
11891293 Boom suspension system
11891442 Optional hydraulic equipment
11891299 Attachment bracket, mechanical
11891323, 11891351, 11891362, 11891348 Hydraulic attachment bracket digger
11891351, 11891362 Hydraulic attachment bracket digger
11891323, 11891348 Hydraulic attachment bracket digger
11891323, 11891362 Hydraulic attachment bracket
11891238 Hydraulic attachment bracket
11891238 Hydraulic cylinder, quick attachment
11891238 Hydraulic attachment bracket
11891318, 11891320, 11891043, 11891321, 11891319 Bucket, straight with teeth
11891202, 11891091, 11891092, 11891192, 11891093 Bucket, straight with teeth
11891194, 11891265, 11891264 Bucket, straight with teeth
11891295, 11891296 Bucket, straight lip without teeth
11891540, 11891565 Bucket, straight lip without teeth
11891018, 11891265, 11891282, 11891015, 11891016 Multi-purpose bucket
11891002 Legal kit for Italy
11891541 Multi-purpose bucket
11891423 Multi-purpose bucket
11891018 Hydraulic cylinder
11891350 Transport bracket without front bucket
11891282, 11891176 Fork arm
11891017 Retainer for hammer
11891017 Hammer
11891498 1000 MM, 11891504 1200 MM, 2805036 1450 MM Forks (optional)
11845236, 11845237, 11845238, 11845239, 11845240 Hammer
Lifting framework with assembly parts
11880104, 11891000, 11891050 Lifting framework with assembly parts
11891561, 11891539 Pins for mounting bucket
11883976, 11883975 Hydraulic cylinder, lifting.
Hydraulic cylinder, tilt
Swing system
Boom swing system
Swing cylinder
Lock cylinder
11880104, 11891269 Stabilisers
Stabiliser cylinder
11891273, 11891109, 11891061 Excavator boom, extendible dipper arm
11891041, 11891524, 11891109, 11891061 Boom and dipper arm
Boom cylinder
Dipper arm cylinder
11891273 Extendible dipper cylinder
Throttle control
1
2
3
4
5
6
7
8
9
10
11
11
12
13
14
15
16
17
18
19
20
21
22
23
24
25
Позиция на иллюстрации
Заводской номер детали
Название детали
Throttle control
Throttle control
Throttle control
1
VOE 11202250
Box
2
Cover
Cover
3
VOE 11202254
Gasket
4
VOE 13947542
Screw
5
VOE 981269
Rivet Nut
6
VOE 11200579
Absorber
7
VOE 946036
Lock nut
8
VOE 13946173
Flange screw
9
VOE 946036
Lock nut
10
VOE 11202248
Accelerator Pedal
11
VOE 11200936
Flange Bearing
12
VOE 11202231
Torsion Spring
13
VOE 11202437
Link Arm
14
VOE 13971098
Flange nut
15
VOE 11888222
Throt Cont Ca
16
VOE 11882487
Fork
17
VOE 11882489
Pin
18
VOE 11882485
Spring
19
VOE 11882478
Screw
20
VOE 13955781
Nut
21
VOE 11882482
Bracket
22
VOE 13946173
Flange screw
23
VOE 11205982
Gasket
24
VOE 13945444
Flange screw
25
VOE 948645
Flange Lock Nut
Содержащиеся в справочниках-каталогах запасные части и детали не предлагаются к продаже, а носят исключительно информационный характер
Дополнительная информация
×
Название:
Номер:
Примечание: