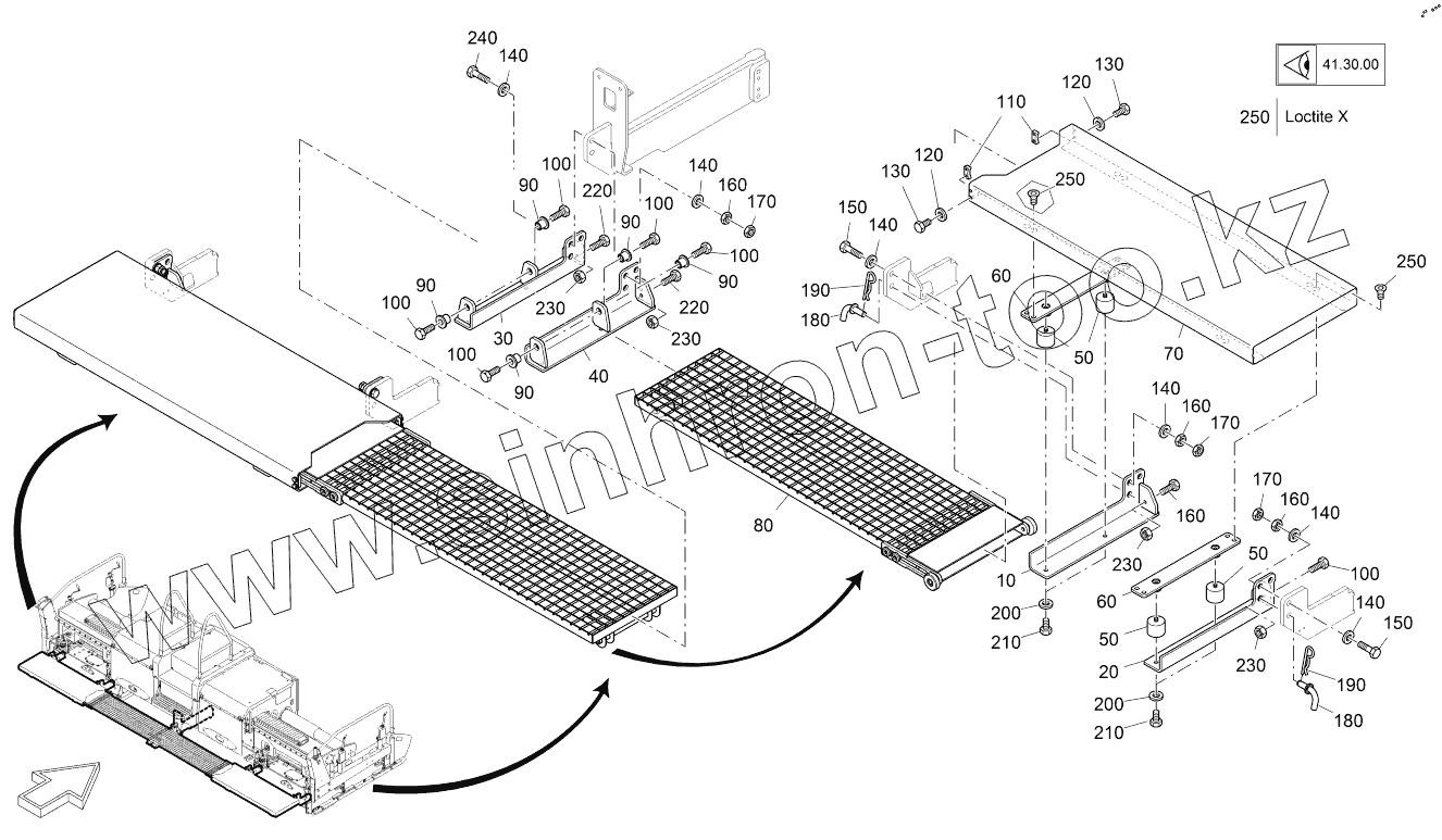
Каталог запасных частей к технике: VOGELE AB500-3 TV. GANGWAY
10
20
30
40
50
50
50
60
60
70
80
90
90
90
90
90
100
100
100
100
100
100
110
120
120
130
130
140
140
140
140
140
140
150
150
160
160
160
160
170
170
170
180
180
190
190
200
200
210
210
220
220
230
230
230
230
240
250
250
250
| Позиция на иллюстрации | Заводской номер детали | Название детали | |
|---|---|---|---|
| 10 | 2240296 | BRACKET, LEFT SIDE | |
| 20 | 2240297 | BRACKET, RIGHT SIDE | |
| 30 | 2240301 | BRACKET, LEFT SIDE | |
| 40 | 2240302 | BRACKET, RIGHT SIDE | |
| 50 | 2043093 | RUBBER BUFFER | |
| 60 | 2240303 | METAL PLATE | |
| 70 | 2240794 | CHECKERED PLATE | |
| 80 | 2229527 | FLAT GRID | |
| 90 | 2236330 | BUSH | |
| 100 | 9512310933 | SCREW | |
| 110 | 2240306 | METAL PLATE | |
| 120 | 9500080125 | WASHER | |
| 130 | 9508160933 | SCREW | |
| 140 | 9520312093 | CUP SPRING | |
| 150 | 9516350933 | SCREW | |
| 160 | 9500160934 | NUT | |
| 170 | 9500160439 | NUT | |
| 180 | 4602022607 | BOLT | |
| 190 | 9523111024 | SPRING PLUG | |
| 200 | 9500100125 | WASHER | |
| 210 | 9510200933 | SCREW | |
| 220 | 9512340933 | SCREW | |
| 230 | 9500120934 | NUT | |
| 240 | 9516360933 | SCREW | |
| 250 | 9510207991 | SCREW |
Содержащиеся в справочниках-каталогах запасные части и детали не предлагаются к продаже, а носят исключительно информационный характер