Каталог запасных частей к технике: УЗТМ ЭКГ-5А. Редуктор поворота
1080.16.00СБ
1082.16.00СБ
1082.16.00СБ
1080.16.00СБ
1
2
3
4
5
6
7
8
9
10
11
12
13
14
15
16
17
18
19
20
21
22
23
24
| Позиция на иллюстрации | Заводской номер детали | Название детали | |
|---|---|---|---|
| 1080.16.00СБ | 1080.16.00СБ | Редуктор поворота | |
| 1082.16.00СБ | 1082.16.00СБ | Редуктор поворота | |
| 1082.16.00СБ | 1082.16.00СБ | Редуктор поворота | |
| 1080.16.00СБ | 1080.16.00СБ | Редуктор поворота | |
| 1080.16.07СБ | 1080.16.07СБ | Маслопровод | |
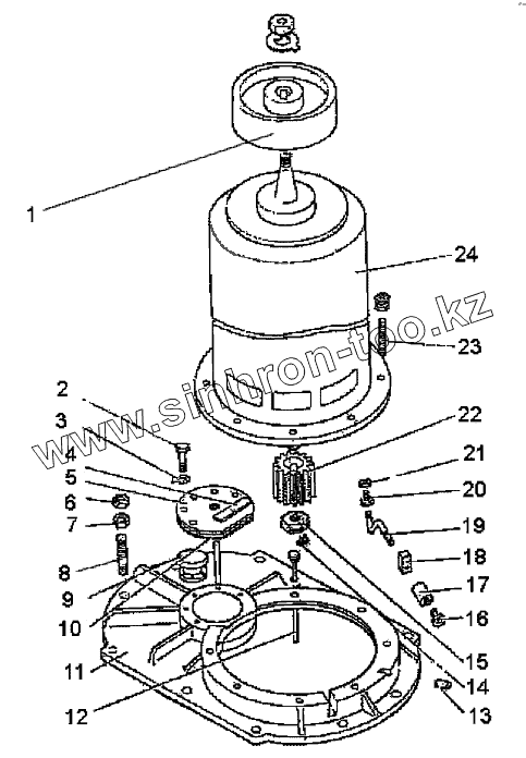
| 1 | 1080.16.41 | Шкив | |
| 2 | Болт М16х40.58 | Болт М16х40.58 | |
| 3 | Шайба стопорная 17.02 | Шайба стопорная 17.02 | |
| 4 | 1080.16.48 | Резина рулонная 2МБ-Б-С | |
| 5 | 1080.16.29 | Крышка | |
| 6 | Гайка М24.4 | Гайка М24.4 | |
| 7 | Гайка М24.4 | Гайка М24.4 | |
| 8 | Шпилька Б М24х70 (24/54) 010 | Шпилька Б М24х70 (24/54) 010 | |
| 9 | 01469.00 | Колпак вентиляционный № 1 | |
| 10 | Прокладка ф 270/192х0,5 | Прокладка ф 270/192х0,5 | |
| 11 | 1080.10.32-1 | Крышка | |
| 12 | 03680.00-01 | Маслоуказатель жезловой 1-400-390-15 | |
| 13 | Штифт 16х40 | Штифт 16х40 | |
| 14 | Болт 3 М10х20.58 | Болт 3 М10х20.58 | |
| 15 | 1080.16.26 | Гайка | |
| 16 | Масленка винтовая MB 3/8 | Масленка винтовая MB 3/8 | |
| 17 | Муфта к труб. 3/8 | Муфта к труб. 3/8 | |
| 18 | 1080.16.10 | Прокладка | |
| 19 | 1080.16.09 | Колено | |
| 20 | 1080.16.08 | Футорка | |
| 21 | Гайка M10.4 | Гайка M10.4 | |
| 22 | 1080.16.40-2 | Шестерня | |
| 23 | Шпилька Б М24х60-010 | Шпилька Б М24х60-010 | |
| 24 | Электродвигатель ДПВ-52 | Электродвигатель ДПВ-52 |
Содержащиеся в справочниках-каталогах запасные части и детали не предлагаются к продаже, а носят исключительно информационный характер