Каталог запасных частей к технике: УЗТМ ЭКГ-5А. Платформа с механизмами
1
1
1
1
2
2
2
2
3
3
3
3
4
4
4
4
5
5
5
5
6
6
6
6
7
7
7
7
8
8
8
8
9
9
9
9
10
10
10
10
11
11
11
11
12
12
12
12
13
13
13
13
14
14
14
14
15
15
15
15
16
16
16
16
17
17
17
17
18
18
18
18
18
18
18
18
19
19
19
19
20
20
20
20
21
21
21
21
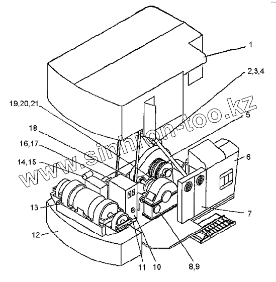
| Позиция на иллюстрации | Заводской номер детали | Название детали | |
|---|---|---|---|
| 1 | 1080.15.00СБ | Кузов | |
| 1 | 1080.15.00СБ | Кузов | |
| 1 | 1084.15.00СБ | Кузов | |
| 1 | 1080.15.00СБ | Кузов | |
| 2 | 1080.16.00СБ | Редуктор поворота | |
| 2 | 1080.16.00СБ | Редуктор поворота | |
| 2 | 1082.16.00СБ | Редуктор поворота | |
| 2 | 1082.16.00СБ | Редуктор поворота | |
| 3 | 1080.17.00СБ | Тормоза поворта | |
| 3 | 1080.17.00СБ | Тормоза поворта | |
| 3 | 1080.17.00СБ | Тормоза поворта | |
| 3 | 1080.17.00СБ | Тормоза поворта | |
| 4 | 1080.18.00-1СБ | Вентилятор поворота | |
| 4 | 1080.18.00-1СБ | Вентилятор поворота | |
| 4 | 1080.18.00-1СБ | Вентилятор поворота | |
| 4 | 1080.18.00-1СБ | Вентилятор поворота | |
| 5 | 1080.10.00СБ | Стойка | |
| 5 | 1080.10.00СБ | Стойка | |
| 5 | 1080.10.00СБ | Стойка | |
| 5 | 1080.10.00СБ | Стойка | |
| 6 | 1082.13.00-1СБ | Кабина | |
| 6 | 1082.13.00-1СБ | Кабина | |
| 6 | 1080.13.00-1СБ | Кабина | |
| 6 | 1080.13.00-1СБ | Кабина | |
| 7 | КУЭ-2У2 | Комплектное устройство управления приводом КУЭ-2У2 | |
| 7 | КУЭ-2Т2 | Комплектное устройство управления приводом КУЭ-2Т2 | |
| 7 | КУЭ-2Т2 | Комплектное устройство управления приводом КУЭ-2Т2 | |
| 7 | КУЭ-2У2 | Комплектное устройство управления приводом КУЭ-2У2 | |
| 8 | 1085.20.00СБ | Лебедка подъемная | |
| 8 | 1085.70.00СБ | Лебедка подъемная | |
| 8 | 1085.70.00СБ | Лебедка подъемная | |
| 8 | 1085.70.00СБ | Лебедка подъемная | |
| 9 | 1080.21.00СБ | Вентилятор подъема | |
| 9 | 1080.21.00СБ | Вентилятор подъема | |
| 9 | 1080.21.00СБ | Вентилятор подъема | |
| 9 | 1080.21.00СБ | Вентилятор подъема | |
| 10 | 2КВЭ-6У2 | Распределительное устройство 2КВЭ-6У2 | |
| 10 | 2КВЭ-6У2 | Распределительное устройство 2КВЭ-6У2 | |
| 10 | 2КВЭ-6Т2 | Распределительное устройство 2КВЭ-6Т2 | |
| 10 | 2КВЭ-6Т2 | Распределительное устройство 2КВЭ-6Т2 | |
| 11 | 1080.08.800СБ | Постамент | |
| 11 | 1080.08.800СБ | Постамент | |
| 11 | 1080.08.800СБ | Постамент | |
| 11 | 1080.08.800СБ | Постамент | |
| 12 | 1080.08.00-2СБ | Платформа | |
| 12 | 1080.08.00-2СБ | Платформа | |
| 12 | 1080.08.00-2СБ | Платформа | |
| 12 | 1080.08.00-2СБ | Платформа | |
| 13 | Пятимашинный преобразовательный агрегат, 6kV, 50 Hz | Пятимашинный преобразовательный агрегат, 6kV, 50 Hz | |
| 13 | Пятимашинный преобразовательный агрегат, 6kV, 50 Hz | Пятимашинный преобразовательный агрегат, 6kV, 50 Hz | |
| 13 | Пятимашинный преобразовательный агрегат, 6kV, 50 Hz | Пятимашинный преобразовательный агрегат, 6kV, 50 Hz | |
| 13 | Пятимашинный преобразовательный агрегат, 6kV, 50 Hz | Пятимашинный преобразовательный агрегат, 6kV, 50 Hz | |
| 14 | 1080.08.700СБ | Маслосборник | |
| 14 | 1080.08.700СБ | Маслосборник | |
| 14 | 1080.08.700СБ | Маслосборник | |
| 14 | 1080.08.700СБ | Маслосборник | |
| 15 | Трансформатор ТМЭ-40/6-69У1 | Трансформатор ТМЭ-40/6-69У1 | |
| 15 | Трансформатор ТМЭ-40/6-69Т1 | Трансформатор ТМЭ-40/6-69Т1 | |
| 15 | Трансформатор ТМЭ-40/6-69Т1 | Трансформатор ТМЭ-40/6-69Т1 | |
| 15 | Трансформатор ТМЭ-40/6-69У1 | Трансформатор ТМЭ-40/6-69У1 | |
| 16 | 1080.69.00СБ | Лебедка стреловая | |
| 16 | 1080.69.00-01СБ | Лебедка стреловая | |
| 16 | 1080.69.00-02СБ | Лебедка стреловая | |
| 16 | 1080.69.00-02СБ | Лебедка стреловая | |
| 17 | Трансформатор сварочный ТДМ-300Т | Трансформатор сварочный ТДМ-300Т | |
| 17 | Трансформатор сварочный ТДМ-300Т | Трансформатор сварочный ТДМ-300Т | |
| 17 | Трансформатор сварочный ТДМ-31-У2 | Трансформатор сварочный ТДМ-31-У2 | |
| 17 | Трансформатор сварочный ТДМ-31-У2 | Трансформатор сварочный ТДМ-31-У2 | |
| 18 | 1080.19.00СБ | Пневмосистема | |
| 18 | 1080.19.00СБ | Пневмосистема | |
| 18 | 1080.19.00-1СБ | Пневмосистема | |
| 18 | 1080.19.00-1СБ | Пневмосистема | |
| 18 | 1082.19.00СБ | Пневмосистема | |
| 18 | 1082.19.00СБ | Пневмосистема | |
| 18 | 1082.19.00-1СБ | Пневмосистема | |
| 18 | 1082.19.00-1СБ | Пневмосистема | |
| 19 | 1080.11.00-1СБ | Привод токоприемника | |
| 19 | 1080.11.00-1СБ | Привод токоприемника | |
| 19 | 1080.11.00-1СБ | Привод токоприемника | |
| 19 | 1080.11.00-1СБ | Привод токоприемника | |
| 20 | 1080.12.00СБ | Цапфа центральная | |
| 20 | 1080.12.00СБ | Цапфа центральная | |
| 20 | 1080.12.00СБ | Цапфа центральная | |
| 20 | 1080.12.00СБ | Цапфа центральная | |
| 21 | 44.46610СБ | Токосъемник высоковольтный | |
| 21 | 44.46610СБ | Токосъемник высоковольтный | |
| 21 | 44.46605СБ | Токосъемник высоковольтный | |
| 21 | 44.46605СБ | Токосъемник высоковольтный |
Содержащиеся в справочниках-каталогах запасные части и детали не предлагаются к продаже, а носят исключительно информационный характер