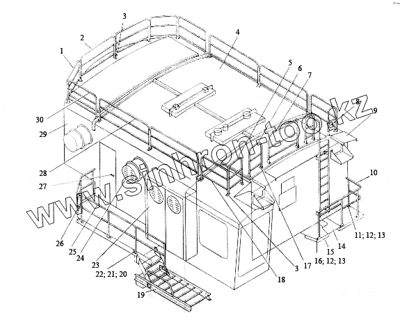
Каталог запасных частей к технике: УЗТМ ЭКГ-5А. Кузов
1080.15.00СБ
1080.15.00СБ
108-1.15.00СБ
1080.15.00СБ
1
2
3
3
4
5
6
7
8
9
10
11
11
12
12
13
13
14
15
16
17
18
19
20
21
22
23
24
25
26
27
28
28
29
29
30
30
| Позиция на иллюстрации | Заводской номер детали | Название детали | |
|---|---|---|---|
| 1080.15.00СБ | 1080.15.00СБ | Кузов | |
| 1080.15.00СБ | 1080.15.00СБ | Кузов | |
| 108-1.15.00СБ | 108-1.15.00СБ | Кузов | |
| 1080.15.00СБ | 1080.15.00СБ | Кузов | |
| 1 | 1080.15.12СБ | Перила | |
| 2 | 1080.15.13СБ | Перила | |
| 3 | 1080.15.20 | Лист | |
| 4 | 1080.15.700 | Кровля | |
| 5 | 1080.15.10СБ | Перила | |
| 6 | 1080.15.09СБ | Перила | |
| 7 | 1080.15.08СБ | Перила | |
| 8 | 1080.15.06СБ | Перила | |
| 9 | 1080.15.22 | Лист | |
| 10 | 1080.15.16СБ | Перила | |
| 11 | Болт М12х35.58 | Болт М12х35.58 | |
| 12 | Гайка M12.4 | Гайка M12.4 | |
| 13 | Шайба 12 65Г | Шайба 12 65Г | |
| 14 | 1080.15.11СБ | Площадка | |
| 15 | 1080.15.07СБ | Площадка | |
| 16 | Болт M12х30.58 | Болт M12х30.58 | |
| 17 | 1080.15.21 | Лист | |
| 18 | 1080.15.05СБ | Перила | |
| 19 | 1080.15.02-2СБ | Лестница входная | |
| 20 | Шайба 16 65Г | Шайба 16 65Г | |
| 21 | Гайка M16.4 | Гайка M16.4 | |
| 22 | Болт M16х35.58 | Болт M16х35.58 | |
| 23 | 1080.15.600 | Шкаф электроаппаратуры | |
| 24 | 1080.15.01СБ | Установка для вентилятора | |
| 25 | 1080.15.15СБ | Перила | |
| 26 | 1080.15.14СБ | Перила | |
| 27 | 1090.20.816 | Ключ | |
| 28 | 1080.15.04СБ | Перила | |
| 28 | 1080.15.04СБ | Перила | |
| 29 | 1080.15.200 | Стенка | |
| 29 | 1084.15.200 | Стенка | |
| 30 | 1080.15.03СБ | Перила | |
| 30 | 1080.15.03СБ | Перила |
Содержащиеся в справочниках-каталогах запасные части и детали не предлагаются к продаже, а носят исключительно информационный характер