Вернуться на главную
Поиск
Каталоги запчастей к технике
Спецтехника
УЗТМ
ЭКГ-4,6Б
Золотник d 25
Каталог запасных частей к технике: УЗТМ ЭКГ-4,6Б. Золотник d 25
zoom-in
zoom-out
enlarge
shrink
circle-right
circle-left
file-text2
info
cart
Тип техники
Не выбрано
Легковые автомобили
Грузовые автомобили и прицепы
Автобусы
Сельхозтехника
Спецтехника
Двигатели
Мототехника
Марка
Не выбрано
Ammann
BOMAG
CARMIX
CASE IH
Changlin
ChengGong
Dimex
Doosan
DYNAPAC
Foton
HAMM
Hidromek
Hitachi
Hyundai
JCB
JLG
John Deere
Komatsu
LIEBHERR
LiuGong
Lonking (LongGong)
Luneng
MANITOU
Mitsuber
New Holland
PENGPU
RM-Terex
SANY
SDLG
SEM
Shantui
Shehwa HBXG
Soosan
TIGARBO
VOGELE
Volvo
WAY
WIRTGEN
XCMG
XGMA
Xiamen
YTO
Yuchai
Zoomlion
Автокран
АЗСМ
Алтайлесмаш
Амкодор
АОМЗ
Атек
АТЗ
Балканкар Рекорд
БелАЗ
Беловеж
Борекс
Брянский Арсенал
Булат
ВЭКС
ГАЗ
Геомаш
Гидромаш
Донекс
Дормаш
Дормашина
Дорэлектромаш
ДЭЗ
ЕлАЗ
ЗЗГТ
Ижнефтемаш
Канаш-электрокар
КЗКТ
ККЗ
Клевер
Клинцовский автокрановый завод
КМЗ
КМЗ 1 Мая
Ковровец
Коммаш
Кранэкс
КЭЗ
КЭМЗ
ЛЗА
МАЗ
МЗИК
МЗКМ
МЗКТ
Михневский РМЗ
МоАЗ
Мозырский МЗ
МТЗ
ОЗП
Онежец
ПАО "ТЗА"
ППС Детва
Промтрактор
ПТЗ
Раскат
СпецАгрегат
ТВЭКС
ТТМ
УВЗ
Угличмаш
УЗТМ
ХТЗ
ЧЗКМ
ЧСДМ
ЧТЗ
ЭКСКО
ЭКСМАШ
ЮрМаш
Модель
Не выбрано
ЭКГ-4
ЭКГ-4,6
ЭКГ-4,6А
ЭКГ-4,6Б
ЭКГ-5А (2009)
Схема
>
Не выбрано
Кабина машиниста
Муфта
Редуктор ходового механизма (с N 4394/Э541)
Редуктор ходового механизма (с N 4564/Э551)
Редуктор ходового механизма (с N 4394/Э541)
Редуктор ходового механизма (с N 4564/Э551)
Муфта переключения левая/правая (до N 4563/Э551)
Муфта переключения левая/правая (с N 4564/Э551)
Тормоз двигателя хода
Электродвигатель постоянного тока с одним концом вала (ход)
Нижняя рама
Цепь гусеничная
Гусеничный ход
Гидравлическая система управления механизмом хода
Гидравлическая система управления механизмом хода
Цилиндр гидравлический (до N 4563/Э551)
Цилиндр гидравлический (с N 4564/Э551)
Золотник d 25
Пневматическая система управления
Установка компрессора ЭК-4
Воздухосборник
Электропневматический распределитель 3/4" одноклапанный с одним соленоидом
Электропневматический распределитель 3/4" одноклапанный с одним соленоидом
Пневмосистема кабины
Роликовый круг
Центральная цапфа
Вентилятор двигателя поворота
Редуктор механизма поворота
Тормоз двигателя поворота
Электродвигатель постоянного тока (поворот)
Пятимашинный преобразовательный агрегат
Высоковольтный асинхронный электродвигатель
Генератор постоянного тока (подъем)
Генератор постоянного тока (поворот)
Генератор постоянного тока (напор)
Генератор постоянного тока (возбудитель)
Контакторная панель № 1
Блок магнитных усилителей
Пульт управления
Блок сопротивлений
Блок сопротивлений
Трансформатор силовой: высокое напряжение 6000, 3000, 6600, 3300 в, низкое напряжение 230 в
Высоковольтное комплектное распред-устройство с предохранителем ПКЭ-6СТ, ПКЭ-6С
Выключатель масляный с приводом ПМ-300Т, ПМ-300
Сопротивление установочное
Стрела и напорный механизм
Напорный механизм
Вал промежуточный
Головная часть стрелы
Вентилятор двигателя напора
Обойма с блоком
Направляющие ролики
Тормоз двигателя напора
Двуногая стойка
Лебедка подъема стрелы
Электродвигатель постоянного тока с двумя концами вала (напор)
Подъемная лебедка
Эластичная муфта
Муфта промежуточного вала
Редуктор
Привод барабана
Тормоз
Цилиндр
Вентилятор двигателя подъема
Вентилятор двигателя подъема
Электродвигатель постоянного тока (подъема)
Ковш в сборе
Корпус ковша
Днище ковша
Механизм торможения днища ковша
Рукоять
Механизм открывания ковша
Лебедка открывания ковша
Ограничитель хода рукояти
Электродвигатель постоянного тока (открывание днища)
Основные узлы
Основные узлы
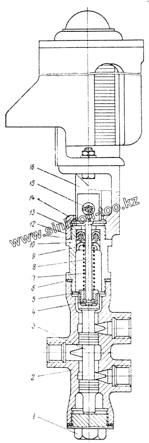
1
2
3
4
5
6
7
8
9
10
11
12
13
14
15
16
Позиция на иллюстрации
Заводской номер детали
Название детали
1001.14.136Сб3
1001.14.136Сб3
Золотник диаметр 25
1
1001.20.94.1
Пробка М45х1,5
2
1001.20.95.4
Корпус
3
1001.14.201.2
Золотник
4
1001.20.96
Шайба
5
1001.14.138.2
Гайка М20х1,5
6
1001.20.97
Прокладка
7
1001.14.139.2
Пружина
8
1001.14.140.2
Тяга
9
1001.14.141.2
Стакан
10
1001.14.142.2
Втулка соединительная
11
1001.20.277
Манжетодержатель
12
1001.20.268
Манжета 10/30
13
1001.20.98.1
Кольцо
14
1001.20.99
Кронштейн
15
К 404
Ось 10х4х25
16
1001.14.144
Якорь электромагнита
Содержащиеся в справочниках-каталогах запасные части и детали не предлагаются к продаже, а носят исключительно информационный характер
Дополнительная информация
×
Название:
Номер:
Примечание: