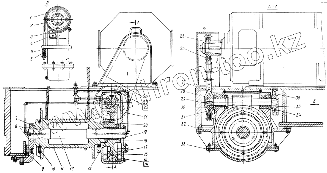
Каталог запасных частей к технике: УЗТМ ЭКГ-4,6Б. Лебедка подъема стрелы
1
2
3
4
5
6
6
7
9
10
11
11
12
13
14
15
16
16
16
17
17
18
19
20
21
22
23
24
25
26
27
28
29
30
31
32
33
34
35
36
| Позиция на иллюстрации | Заводской номер детали | Название детали | |
|---|---|---|---|
| 1001.10.00.4Т | 1001.10.00.4Т | Лебедка подъема стрелы | |
| 1001.10.00.2 | 1001.10.00.2 | Лебедка подъема стрелы | |
| 1 | 1001.10.71Сб | Тормозная лепта | |
| 2 | 1001.10.76 | Лента тормозная асбестовая тип 70х6 ГОСТ 1198-55, L= 845 | |
| 3 | 1001.10.72 | Хвостовик ленты | |
| 4 | 1001.10.93.2 | Уголок 100х63х10, L= 90 ГОСТ 8510-57 | |
| 5 | 1001.10.91 | Стакан | |
| 6 | 1001.10.56.3 | Кронштейн | |
| 6 | 1001.10.42.1 | Пружина | |
| 7 | 1001.10.16 | Шайба | |
| 9 | 1001.10.54.1 | Прокладка | |
| 10 | 1041.12.08 | Клин | |
| 11 | 1001.10.60.4 | Барабан | |
| 11 | 1001.10.60.3Т | Барабан | |
| 12 | 1001.10.62 | Ось барабана | |
| 13 | 1001.10.117Сб | Шайба | |
| 14 | Д786 | Прокладка диаметр 55/45х1,5 | |
| 15 | 0.01080 | Пробка М20 | |
| 16 | 1001.10.77Сб2Т | Колесо червячное | |
| 16 | 1001.10.77Сб1 | Колесо червячное | |
| 16 | 1001.10.78.2 | Венец червячного колеса | |
| 17 | 1001.10.80.1 | Ступица червячного колеса | |
| 17 | 1001.10.80.2Т | Ступица червячного колеса | |
| 18 | 1001.10.98 | Шайба | |
| 19 | 1001.10.102 | Втулка | |
| 20 | К397 | Штифт цилиндрический 20Пр22ах80 ГОСТ 3128-60 | |
| 21 | 1001.10.09Сб2 | Смазка лебедки | |
| 22 | 1001.10.115 | Крышка 3х210х460 | |
| 23 | 1001.10.116 | Прокладка | |
| 24 | 1001.10.31Сб4 | Кожух цепной передачи | |
| 25 | 1001.10.142 | Звездочка, z=19 | |
| 26 | Втулочно-роликовая цепь ЦВР-1 3/4 l=2578 | Втулочно-роликовая цепь ЦВР-1 3/4 l=2578 | |
| 27 | 808320 | Шарикоподшипник нестандартный | |
| 28 | 1001.10.04.1 | Звездочка, z = 28 | |
| 29 | 1001.10.97.2 | Втулка 85х82 | |
| 30 | 1001.10.08.3 | Шайба | |
| 31 | 1001.10.10.6 | Вал червячный | |
| 32 | 1001.10.05.4 | Корпус | |
| 33 | 1001.10.135Сб | Крышка | |
| 34 | 1001.10.39.2 | Стакан | |
| 35 | 1001.10.06 | Втулка 85х137 | |
| 36 | 1001.10.38 | Шкив тормозной |
Содержащиеся в справочниках-каталогах запасные части и детали не предлагаются к продаже, а носят исключительно информационный характер