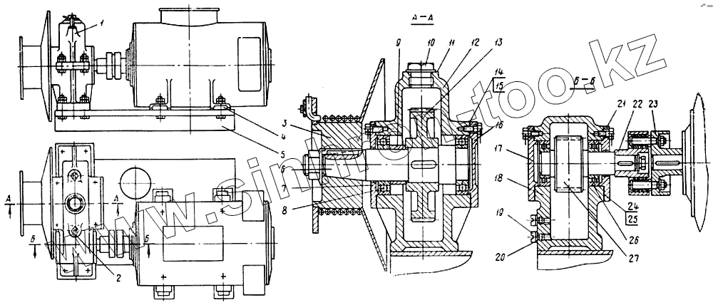
Каталог запасных частей к технике: УЗТМ ЭКГ-4,6А. Лебедка открывания ковша
1
2
3
4
5
6
7
8
9
10
11
12
13
14
15
16
17
18
19
20
21
22
23
24
25
25
27
| Позиция на иллюстрации | Заводской номер детали | Название детали | |
|---|---|---|---|
| 1041.01.100.2 | 1041.01.100.2 | Лебедка открывания ковша | |
| 1 | 1041.04.130Сб1 | Редуктор | |
| 2 | 0.03535 (Д480.1) | Рым-болт М12 ГОСТ 4751-52 | |
| 3 | 1041.04.136Сб | Барабан | |
| 4 | 1014.54.09 | Упор | |
| 5 | 1041.04.149Сб | Рама | |
| 6 | 1041.04.145 | Вал | |
| 7 | 1041.04.144 | Крышка | |
| 8 | 212 | Шарикоподшипник ГОСТ 8338-57 | |
| 9 | 1041.04.143 | Втулка | |
| 10 | 1041.04.132 | Пробка М42 | |
| 11 | Д786 | Прокладка диаметр 55/45х1,5 | |
| 12 | 1041.04.134 | Крышка | |
| 13 | 1041.04.157 | Колесо m=3, z=68 | |
| 14 | 0.02302 (Д904) | Прокладка | |
| 15 | 0.02317 (Д403) | Прокладка | |
| 16 | 0.04866 (Д557) | Крышка 110х6 | |
| 17 | 1041.04.146 | Крышка | |
| 18 | 1041.04.135 | Корпус | |
| 19 | 0.01078 (Д356) | Пробка М12 | |
| 20 | Д786 | Прокладка диаметр 55/45х1,5 | |
| 21 | 1041.04.131 | Крышка | |
| 22 | 0.08573 (Д707.1) | Полумуфта МУВП1-28/2 | |
| 23 | 0.02758.00 (Д705.1) | Полумуфта МУВП1-28/2 | |
| 24 | 1041.04.148 | Прокладка диаметр 140/86х0,5 | |
| 25 | 1041.04.141 | Прокладка | |
| 25 | 209 | Шарикоподшипник ГОСТ 8338-57 | |
| 27 | 1041.04.156 | Вал-шестерня |
Содержащиеся в справочниках-каталогах запасные части и детали не предлагаются к продаже, а носят исключительно информационный характер