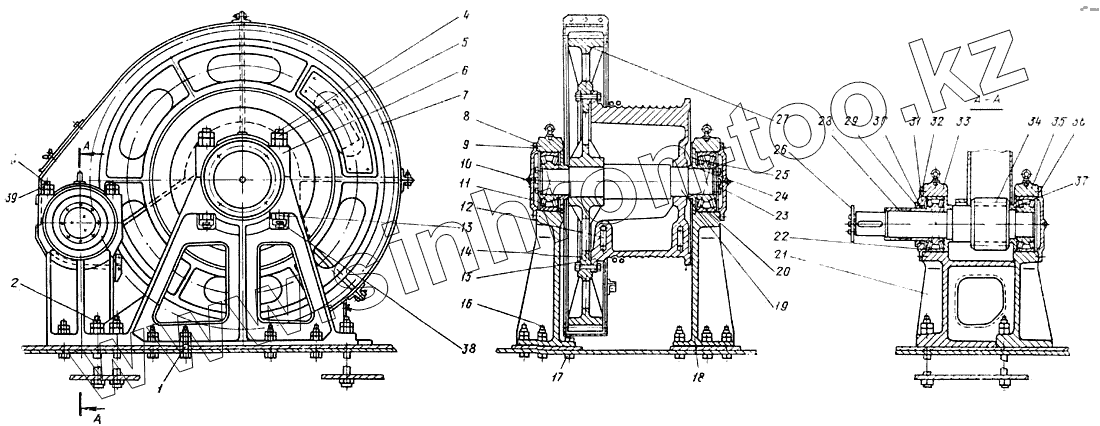
Каталог запасных частей к технике: УЗТМ ЭКГ-4. Привод барабана
1
2
3
4
5
6
7
8
9
10
11
12
13
13
14
14
15
15
16
17
18
19
20
21
22
23
24
25
26
27
28
29
30
31
32
33
34
35
36
37
38
39
| Позиция на иллюстрации | Заводской номер детали | Название детали | |
|---|---|---|---|
| 1014.59.400.2Т | 1014.59.400.2Т | Привод барабана | |
| 1014.59.400 | 1014.59.400 | Привод барабана | |
| 1 | 1014.59.452 | Болт | |
| 2 | 1001.09.260.1 | Шпилька М48х775 | |
| 3 | К 126 | Шпилька АМ18х280 | |
| 4 | 1001.09.16 | Шпилька М64х630 | |
| 5 | К427 | Гайка М36-010 ГОСТ 5915-62 | |
| 6 | 1001.09.14 | Крышка подшипника | |
| 7 | 1014.59.700 | Установка кожухов | |
| 8 | 1014.59.454 | Фланец глухой | |
| 9 | 1001.09.10 | Прокладка | |
| 10 | А90 | Тавотница ТРГК 3/8"Труб. | |
| 11 | 0.03164 | Распорное кольцо | |
| 12 | 1014.59.487 | Клин | |
| 13 | 0.00884 | Гайка М64 | |
| 13 | 0.00884 (К300) | Гайка М64 | |
| 14 | 1014.59.421.Сб3 | Вал барабана | |
| 14 | 1014.59.421Сб4Т | Вал барабана | |
| 15 | 1001.09.04.7 | Барабан диаметр 1050 | |
| 15 | 1001.09.04.6Т | Барабан диаметр 1050 | |
| 16 | 1014.59.453.1 | Болт | |
| 17 | 1014.59.455 | Болт М36х3х215 | |
| 18 | 1014.59.430Сб | Правая стойка лебедки | |
| 19 | 1001.09.09.4 | Ось барабана | |
| 20 | 3636 | Роликоподшипник ГОСТ 5721-57 | |
| 21 | 1014.59.422Сб3 | Стойка левая | |
| 22 | 3634 | Роликоподшипник ГОСТ 5721-57 | |
| 23 | 1041.09.363 | Шайба упорная 220 | |
| 24 | 1014.59.4.19 | Втулка распорная | |
| 25 | 1014.59.148 | Фланец с лабиринтом | |
| 26 | 1014.59.486 | Шайба упорная 220 | |
| 27 | 1009.09.37.2 | Колесо зубчатое | |
| 28 | 1014.59.418.1 | Втулка | |
| 29 | 0.04515 (Д533) | Кольцо нажимное 194 | |
| 30 | Д385 | Уплотнение севанитовое НР-190 Н2602 | |
| 31 | 1014.59.462 | Крышка | |
| 32 | 0.02319 (Д403) | Прокладка жестяная №25 диаметр 460/362 | |
| 33 | 1014.59.428.1 | Крышка подшипника | |
| 34 | 1014.59.424.1 | Вал-шестерня | |
| 35 | 1014.59.416.1 | Крышка подшипника | |
| 36 | 1014.59.425.1 | Фланец глухой | |
| 37 | 1014,59.423.1 | Шайба | |
| 38 | К350.1 | Шплинт 10х100 | |
| 39 | К427 | Гайка М36-010 ГОСТ 5915-62 |
Содержащиеся в справочниках-каталогах запасные части и детали не предлагаются к продаже, а носят исключительно информационный характер