Вернуться на главную
Поиск
Каталоги запчастей к технике
Спецтехника
УЗТМ
ЭКГ-4
Электропневматический распределитель 3/4" одноклапанный с одним соленоидом
Каталог запасных частей к технике: УЗТМ ЭКГ-4. Электропневматический распределитель 3/4" одноклапанный с одним соленоидом
zoom-in
zoom-out
enlarge
shrink
circle-right
circle-left
file-text2
info
cart
Тип техники
Не выбрано
Легковые автомобили
Грузовые автомобили и прицепы
Автобусы
Сельхозтехника
Спецтехника
Двигатели
Мототехника
Марка
Не выбрано
Ammann
BOMAG
CARMIX
CASE IH
Changlin
ChengGong
Dimex
Doosan
DYNAPAC
Foton
HAMM
Hidromek
Hitachi
Hyundai
JCB
JLG
John Deere
Komatsu
LIEBHERR
LiuGong
Lonking (LongGong)
Luneng
MANITOU
Mitsuber
New Holland
PENGPU
RM-Terex
SANY
SDLG
SEM
Shantui
Shehwa HBXG
Soosan
TIGARBO
VOGELE
Volvo
WAY
WIRTGEN
XCMG
XGMA
Xiamen
YTO
Yuchai
Zoomlion
Автокран
АЗСМ
Алтайлесмаш
Амкодор
АОМЗ
Атек
АТЗ
Балканкар Рекорд
БелАЗ
Беловеж
Борекс
Брянский Арсенал
Булат
ВЭКС
ГАЗ
Геомаш
Гидромаш
Донекс
Дормаш
Дормашина
Дорэлектромаш
ДЭЗ
ЕлАЗ
ЗЗГТ
Ижнефтемаш
Канаш-электрокар
КЗКТ
ККЗ
Клевер
Клинцовский автокрановый завод
КМЗ
КМЗ 1 Мая
Ковровец
Коммаш
Кранэкс
КЭЗ
КЭМЗ
ЛЗА
МАЗ
МЗИК
МЗКМ
МЗКТ
Михневский РМЗ
МоАЗ
Мозырский МЗ
МТЗ
ОЗП
Онежец
ПАО "ТЗА"
ППС Детва
Промтрактор
ПТЗ
Раскат
СпецАгрегат
ТВЭКС
ТТМ
УВЗ
Угличмаш
УЗТМ
ХТЗ
ЧЗКМ
ЧСДМ
ЧТЗ
ЭКСКО
ЭКСМАШ
ЮрМаш
Модель
Не выбрано
ЭКГ-4
ЭКГ-4,6
ЭКГ-4,6А
ЭКГ-4,6Б
ЭКГ-5А (2009)
Схема
>
Не выбрано
Кабина машиниста
Ходовой механизм
Муфта переключения
Редуктор
Муфта
Смазка редуктора
Насос плунжерный
Тормоз двигателя хода
Электродвигатель постоянного тока с одним концом вала (ход)
Нижняя рама
Цепь гусеничная
Гусеничный ход
Гидравлическая система управления механизмом хода
Цилиндр
Золотник d 25
Пневматическая система управления
Установка компрессора ЭК-4
Воздухосборник
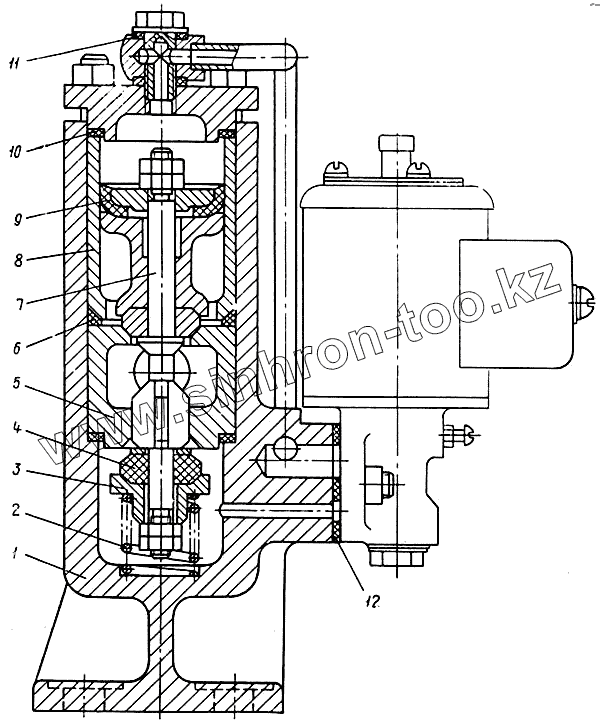
Электропневматический распределитель 3/4" одноклапанный с одним соленоидом
Электропневматический распределитель 3/4" одноклапанный с одним соленоидом
Пневмосистема кабины
Роликовый круг
Центральная цапфа
Муфта
Редуктор механизма поворота
Тормоз двигателя поворота
Вентилятор двигателя поворота
Электродвигатель постоянного тока (поворот)
Пятимашинный преобразовательный агрегат
Высоковольтный асинхронный электродвигатель
Генератор постоянного тока (возбудитель)
Магнитный контроллер
Трансформатор силовой: высокое напряжение 6000, 3000, 3300, 6600 в, низкое напряжение 230 в
Высоковольтное комплектное распред-устройство с предохранителем ПКЭ-6СТ, ПКЭ-6С
Выключатель масляный с приводом ПМ-300Т, ПМ-300
Сопротивление установочное
Стрела и напорный механизм
Напорный механизм
Седловой подшипник
Напорный механизм
Вал промежуточный
Головная часть стрелы
Обойма с блоком
Направляющие ролики
Двуногая стойка
Вентилятор двигателя напора
Электродвигатель постоянного тока с двумя концами вала (напор)
Тормоз двигателя напора
Лебедка подъема стрелы
Подъемная лебедка
Эластичная муфта
Муфта промежуточного вала
Редуктор
Привод барабана
Тормоз
Цилиндр
Вентилятор двигателя подъема
Электродвигатель постоянного тока (подъема)
Ковш в сборе
Корпус ковша
Днище ковша
Механизм торможения днища ковша
Рукоять
Механизм открывания ковша
Электродвигатель постоянного тока (открывание днища)
Основные узлы
Основные узлы
1
2
3
4
5
6
7
8
9
10
11
12
Позиция на иллюстрации
Заводской номер детали
Название детали
5029.09.100
5029.09.100
Электропневматический распределитель
1
5029.09.01
Корпус
2
5015.01.22
Пружина, проволока П-3 ГОСТ 9389-60
3
5015.01.17
Тарелка клапана
4
5009.01.12
Резина клапана
5
5018.01.02
Седло клапана
6
5029.02.05
Кольцо уплотнительное диаметр 50/60х6
7
5015.01.03
Шток
8
5009.01.07
Стакан
9
5005.17.14
Манжета диаметр 50
10
5029.02.14
Прокладка диаметр 60/48х2
11
5029.02.13
Прокладка диаметр 22/12х3
12
5029.05.14
Прокладка 2х48х74
Содержащиеся в справочниках-каталогах запасные части и детали не предлагаются к продаже, а носят исключительно информационный характер
Дополнительная информация
×
Название:
Номер:
Примечание: