Каталог запасных частей к технике: УВЗ ПУМ-500. Агрегат заправочный П1.90сб
1
2
2
2
3
4
4
4
5
5
5
6
6
6
7
8
8
9
10
11
11
12
12
13
14
15
16
17
18
18
18
19
20
21
22
23
24
25
26
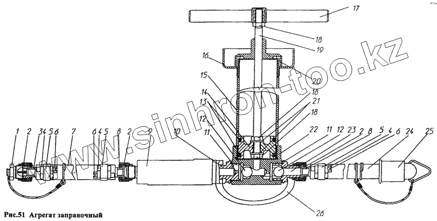
| Позиция на иллюстрации | Заводской номер детали | Название детали | |
|---|---|---|---|
| П1.90.00.025сб | П1.90.00.025сб | Насос ручной | |
| П1.90.00.027сб | П1.90.00.027сб | Рукав | |
| 520.25.001-сб-01 | 520.25.001-сб-01 | Хомут | |
| П1.90.00.024сб | П1.90.00.024сб | Агрегат заправочный | |
| 1 | П1.90.00.029сб | Заглушка | |
| 2 | П1.90.00.067 | Гайка накидная | |
| 3 | П1.90.00.030сб | Ниппель | |
| 4 | 520.25.002 | Рамка | |
| 5 | 520.25.003-01 | Лента | |
| 6 | 520.25.001 | Валик | |
| 7 | ГОСТ 10362-76 | Рукав 12х20-0,63 L=1955 мм | |
| 8 | П1.90.00.065 | Ниппель | |
| 9 | БС5.886.026 | Фильтр | |
| 10 | П1.90.00.061 | Штуцер | |
| 11 | МН4152-62 | Кольцо 12х18 | |
| 12 | ГОСТ 3722-81 | Шарик 9,525-60 | |
| 13 | 520.15.004-22 | Кольцо уплотнительное | |
| 14 | П1.90.00.062 | Поршень | |
| 15 | П1.90.00.055 | Труба | |
| 16 | П1.90.00.058 | Стакан | |
| 17 | П1.90.00.064 | Ручка | |
| 18 | ГОСТ 2526-70 | Гайка М12х1,25-6Н.04.40.016 | |
| 19 | П1.90.00.057 | Шток | |
| 20 | П1.90.00.056 | Крышка | |
| 21 | 520.07.003-03 | Шайба | |
| 22 | П1.90.00.054 | Корпус | |
| 23 | П1.90.00.060 | Штуцер | |
| 24 | ГОСТ 10362-76 | Рукав 12х20-0,63 L=1955 мм | |
| 25 | П1.90.00.031сб | Колпачок | |
| 26 | П1.90.00.063 | Скоба |
Содержащиеся в справочниках-каталогах запасные части и детали не предлагаются к продаже, а носят исключительно информационный характер