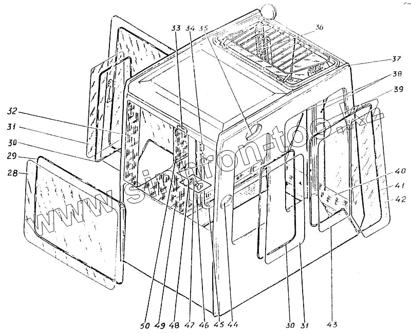
Каталог запасных частей к технике: УВЗ ЭО-5126. Установка кабины машиниста
28
29
30
30
31
31
32
33
34
35
36
37
38
39
40
41
42
43
44
45
46
47
48
49
50
| Позиция на иллюстрации | Заводской номер детали | Название детали | |
|---|---|---|---|
| ЭО-5221.08.00.000сб | ЭО-5221.08.00.000сб | Установка кабины машиниста | |
| 28 | ЭО-5221.08.00.004 | Стекло | |
| 29 | ЭО-5221.08.00.013-01 | Уплотнение | |
| 30 | ЭО-5221.08.00.013 | Уплотнение | |
| 31 | ЭО-5221.08.00.002 | Стекло | |
| 32 | ЭО-5221.08.00.160сб | Панель | |
| 33 | ЭО-5221.08.00.210сб | Панель | |
| 34 | ЭО-5221.08.00.006 | Окантовка | |
| 35 | ЭО-5221.08.00.090сб | Панель | |
| 36 | ЭО-5221.08.00.190сб | Панель | |
| 37 | ЭО-5221.08.05.000сб | Установка оборудования кабины | |
| 38 | ПР-038 | Уплотнитель стекла | |
| 39 | ЭО-5221.08.00.040сб | Стойка | |
| 40 | ЭО-5221.08.00.220сб | Панель | |
| 41 | ЭО-5221.08.00.013-03 | Уплотнение | |
| 42 | ЭО-5221.08.00.003 | Стекло | |
| 43 | ЭО-5221.08.00.005 | Стекло | |
| 44 | ЭО-5221.08.00.100сб | Панель | |
| 45 | ЭО-5221.08.00.007 | Окантовка | |
| 46 | А37.06.011 | Профиль резиновый | |
| 47 | Винт В1М5-8gх10.58.019 [ГОСТ 17473-80] | Винт В1М5-8gх10.58.019 [ГОСТ 17473-80] | |
| 48 | Шайба 5.65Г.019 [ГОСТ 6402-70] | Шайба 5.65Г.019 [ГОСТ 6402-70] | |
| 49 | ЭО-5221.08.00.170сб | Панель | |
| 50 | ЭО-5221.08.00.180сб | Панель |
Содержащиеся в справочниках-каталогах запасные части и детали не предлагаются к продаже, а носят исключительно информационный характер