Вернуться на главную
Поиск
Каталоги запчастей к технике
Спецтехника
УВЗ
ЭО-5126
Блок золотников
Каталог запасных частей к технике: УВЗ ЭО-5126. Блок золотников
zoom-in
zoom-out
enlarge
shrink
circle-right
circle-left
file-text2
info
cart
Тип техники
Не выбрано
Легковые автомобили
Грузовые автомобили и прицепы
Автобусы
Сельхозтехника
Спецтехника
Двигатели
Мототехника
Марка
Не выбрано
Ammann
BOMAG
CARMIX
CASE IH
Changlin
ChengGong
Dimex
Doosan
DYNAPAC
Foton
HAMM
Hidromek
Hitachi
Hyundai
JCB
JLG
John Deere
Komatsu
LIEBHERR
LiuGong
Lonking (LongGong)
Luneng
MANITOU
Mitsuber
New Holland
PENGPU
RM-Terex
SANY
SDLG
SEM
Shantui
Shehwa HBXG
Soosan
TIGARBO
VOGELE
Volvo
WAY
WIRTGEN
XCMG
XGMA
Xiamen
YTO
Yuchai
Zoomlion
Автокран
АЗСМ
Алтайлесмаш
Амкодор
АОМЗ
Атек
АТЗ
Балканкар Рекорд
БелАЗ
Беловеж
Борекс
Брянский Арсенал
Булат
ВЭКС
ГАЗ
Геомаш
Гидромаш
Донекс
Дормаш
Дормашина
Дорэлектромаш
ДЭЗ
ЕлАЗ
ЗЗГТ
Ижнефтемаш
Канаш-электрокар
КЗКТ
ККЗ
Клевер
Клинцовский автокрановый завод
КМЗ
КМЗ 1 Мая
Ковровец
Коммаш
Кранэкс
КЭЗ
КЭМЗ
ЛЗА
МАЗ
МЗИК
МЗКМ
МЗКТ
Михневский РМЗ
МоАЗ
Мозырский МЗ
МТЗ
ОЗП
Онежец
ПАО "ТЗА"
ППС Детва
Промтрактор
ПТЗ
Раскат
СпецАгрегат
ТВЭКС
ТТМ
УВЗ
Угличмаш
УЗТМ
ХТЗ
ЧЗКМ
ЧСДМ
ЧТЗ
ЭКСКО
ЭКСМАШ
ЮрМаш
Модель
Не выбрано
ПУМ-500
ЭО-5126
Схема
>
Не выбрано
Установка кабины машиниста
Установка кабины машиниста
Пульт-кресло
Рычаги управления
Установка отопителя
Платформа
Привод поворота
Редуктор
Управление
Установка рычага безопасности
Установка капотов
Капот силовой установки
Установка силовая
Управление дизелем
Установка подогревателя
Установка дизеля и насосов
Установка насосов
Установка насосов
Насос в сборе
Насос
Система топливная
Система выхлопа
Установка радиаторов
Шторка радиатора
Вентилятор
Трубопроводы
Установка маслоохладителя
Муфта сцепления
Привод гусеницы
Редуктор
Водило 1-й ступени
Водило 2-й ступени
Водило 3-й ступени
Рама хода
Тележка гусеничная
Колесо натяжное с механизмом сдавливания
Колесо натяжное
Механизм сдавливания
Гидроцилиндр
Каток поддерживающий
Каток опорный
Трубопроводы управления
Трубопроводы управления
Золотник сливной
Коллектор в сборе
Блок клапанов
Блок золотников
Блок золотников
Клапан
Трубопроводы управления
Трубопроводы управления стрелой
Трубопроводы управления на платформе
Трубопроводы управления
Установка реле давления
Тормоз
Электрооборудование
Электрооборудование кабины
Установка аккумуляторов
Проводка
Щиток управления
Щиток подогревателя
Пневмоаккумулятор
Установка блока баков
Гидрозатвор
Установка датчика уровня
Трубопроводы на платформе
Гидроаппарат гидромоторов
Золотник тормозной
Установка гидроаппарата
Гидроаппарат регулирующий
Клапан обратный
Трубопроводы сливные
Установка перекачивающего насоса
Трубопроводы всасывания
Гидрооборудование кабины
Трубопроводы гусеничной тележки
Лопата обратная с ковшом 1куб.м.
Гидроаппарат гидроцилиндров
Гидроцилиндр стрелы
Ковш 1 куб.м.
Установка моноблочной стрелы
Стрела моноблочная
Трубопроводы стрелы
Установка рукояти обратной лопаты
Рукоять обратной лопаты
Трубопроводы рукояти (рабочего оборудования)
Гидроцилиндр ковша
Гидроцилиндр рукояти
Экскаватор одноковшовый ЭО-5126
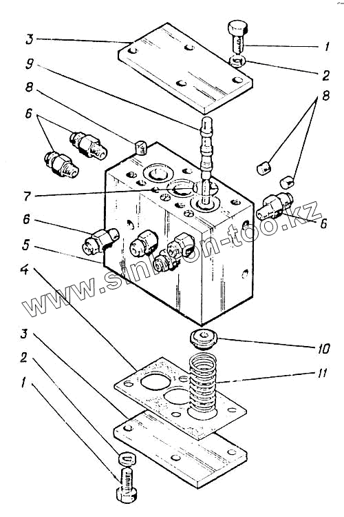
1
1
2
2
3
3
4
5
6
6
6
7
8
8
9
10
11
Позиция на иллюстрации
Заводской номер детали
Название детали
ЭО-5122А.04.28.000-1сб
ЭО-5122А.04.28.000-1сб
Блок золотников
1
Болт М10-8qх25.46.016 [ГОСТ 7798-70]
Болт М10-8qх25.46.016 [ГОСТ 7798-70]
2
Шайба 10.65г.016 [ГОСТ 6402-70]
Шайба 10.65г.016 [ГОСТ 6402-70]
3
ЭО-5122А.04.28.001-1
Крышка
4
ЭО-5122А.04.28.002-1
Прокладка (паронит)
5
ЭО-5122А.04.28.101-1
Корпус
6
ЭО-5122А.05.25.013
Штуцер К 1/4"
7
Кольцо 024-030-36-2-3 [ГОСТ 18829-73]
Кольцо 024-030-36-2-3 [ГОСТ 18829-73]
8
172.87.335
Пробка
9
ЭО-5122А.04.23.005
Золотник
10
ЭО-5122А.04.23.007-1
Втулка
11
ЭО-5122А.04.23.006-1
Пружина
Содержащиеся в справочниках-каталогах запасные части и детали не предлагаются к продаже, а носят исключительно информационный характер
Дополнительная информация
×
Название:
Номер:
Примечание: