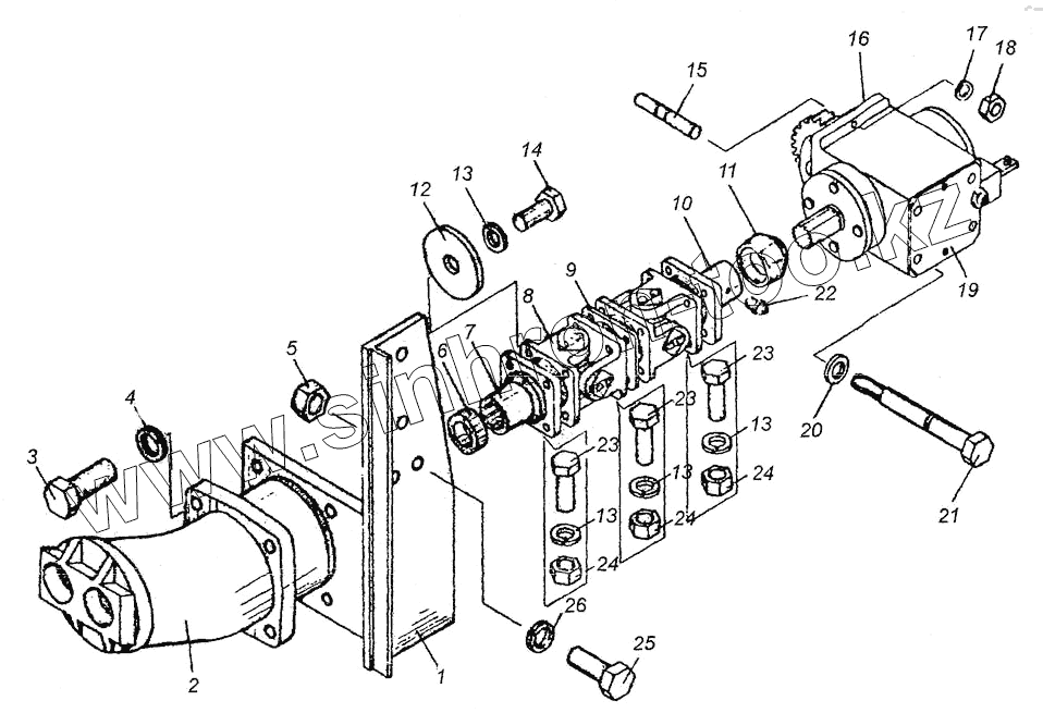
Каталог запасных частей к технике: Угличмаш КС-3577. Привод насоса КС-3577.14.000
1
2
3
4
5
6
7
8
9
10
11
12
13
13
13
13
14
15
16
17
18
19
20
21
22
23
23
23
24
24
24
25
26
| Позиция на иллюстрации | Заводской номер детали | Название детали | |
|---|---|---|---|
| 1 | КС-3577.14.040 | Кронштейн | |
| 2 | 310.112-00 | Гидромотор | |
| 3 | Болт 1,116х50.46.019 [ГОСТ 7798-70] | Болт 1,116х50.46.019 | |
| 4 | Шайба 16.65Г [ГОСТ 6402-70] | Шайба 16.65Г | |
| 5 | Гайка М14 [ГОСТ 5915-70] | Гайка М14 | |
| 6 | КС-3577.14.026 | Кольцо | |
| 7 | КС-3577.14.027 | Фланец | |
| 8 | КС-3577.14.070 | Кардан | |
| 9 | КС-3577.14.028 | Пластина | |
| 10 | КС-3577.14.033 | Фланец | |
| 11 | КС-3577.14.034 | Муфта защитная | |
| 12 | КС-3577.26.016 | Шайба | |
| 13 | Шайба 12.65Г [ГОСТ- 6402-70] | Шайба 12.65Г | |
| 14 | Болт М12х25.46.019 [ГОСТ 7798-70] | Болт М12х25.46.019 | |
| 15 | Шпилька М10х50.03.019 | Шпилька М10х50.03.019 | |
| 16 | КС-3577.14.032 | Прокладка | |
| 17 | Шайба 10.65Г [ГОСТ 6402-70] | Шайба 10.65Г | |
| 18 | Гайка М10.5.019 [ГОСТ 5915-70] | Гайка М10.5.019 | |
| 19 | КС-3577.14.100 | Коробка отбора мощности | |
| 20 | КС-3577.14.031 | Шайба | |
| 21 | КС-3577.14.029 | Болт специальный | |
| 22 | Масленка 1,2Ц6Хр [ГОСТ 19853-74] | Масленка 1,2Ц6Хр | |
| 23 | Болт М12х1,25х40.46.019 [ГОСТ 7796-70] | Болт М12х1,25х40.46.019 | |
| 24 | Гайка М12х1,25.5.019 [ГОСТ 5915-70] | Гайка М12х1,25.5.019 | |
| 25 | Болт М14х45.46.019 [ГОСТ 7798-70] | Болт М14х45.46.019 | |
| 26 | Шайба 14.65Г [ГОСТ 6402-70] | Шайба 14.65Г |
Содержащиеся в справочниках-каталогах запасные части и детали не предлагаются к продаже, а носят исключительно информационный характер