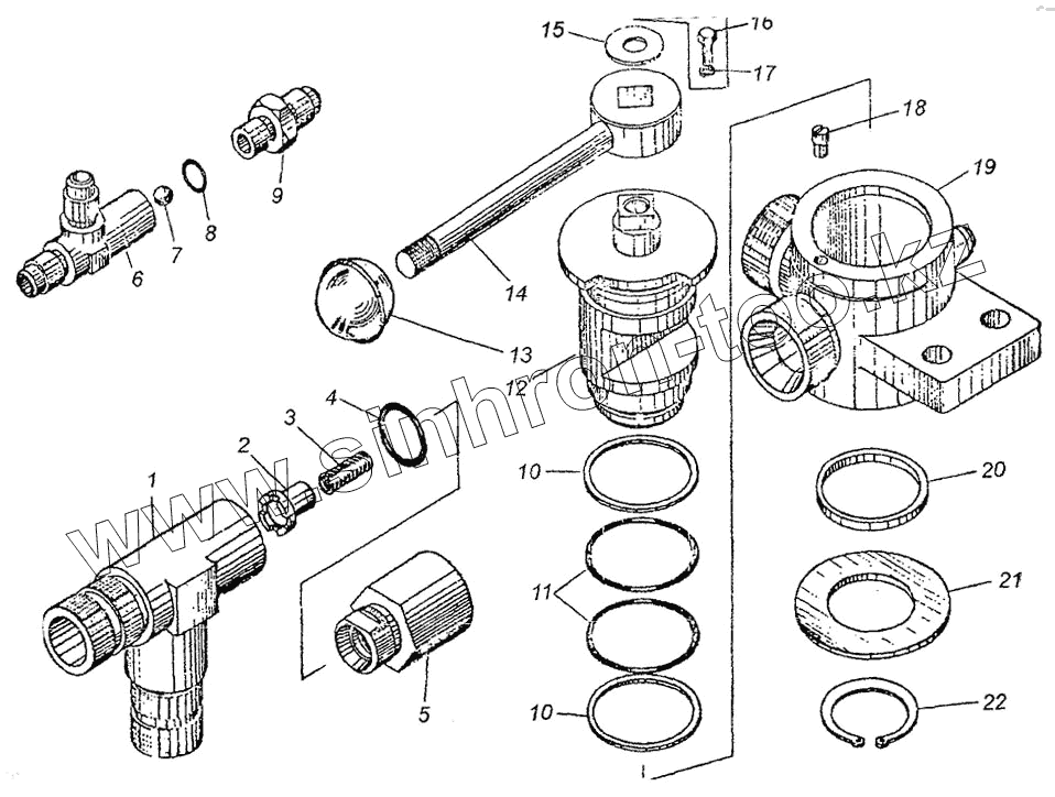
Каталог запасных частей к технике: Угличмаш КС-3577. Клапан аварийный КС-3577.84.400
1
2
3
4
5
6
7
8
9
10
10
11
12
13
14
15
16
17
18
19
20
21
22
| Позиция на иллюстрации | Заводской номер детали | Название детали | |
|---|---|---|---|
| 1 | КС-3577.84.410 | Корпус в сборе | |
| 2 | КС-3577.84.405 | Клапан | |
| 3 | КС-3577.84.406 | Пружина | |
| 4 | Кольцо 023-028-30 [9833] | Кольцо 023-028-30 | |
| 5 | КС-3577.84.401 | Штуцер | |
| 6 | КС-3577.84.542-2 | Корпус | |
| 7 | Шарик 6-У 9,922 [ГОСТ 3722-81] | Шарик 6-У 9,922 | |
| 8 | 9833 | Кольцо 011-015-25 | |
| 9 | КС-3577.83.027-1 | Штуцер | |
| 10 | Кольцо 52х46 [9833-73] | Кольцо 52х46 | |
| 11 | 046-052-369833 | Кольцо | |
| 12 | У.034.00.002-3 | Корпус | |
| 13 | 40(0024-03) | Ручка | |
| 14 | У.034.20.000-7 | Ручка | |
| 15 | КС-3571.42.011 | Шайба | |
| 16 | Болт М8х16 [7798-70] | Болт М8х16 | |
| 17 | Шайба 8.65Г [6402] | Шайба 8.65Г | |
| 18 | У.034.00.004 | Упор | |
| 19 | У.034.00.006-7 | Обойма | |
| 20 | У.034.00.001-1 | Шайба | |
| 21 | У.034.00.003 | Шайба | |
| 22 | В40.13942 | Кольцо |
Содержащиеся в справочниках-каталогах запасные части и детали не предлагаются к продаже, а носят исключительно информационный характер