Каталог запасных частей к технике: Угличмаш КС-3577-3. Установка ограничителя грузоподъемности КС-3577.81.700
11
11
11
14
14
14
14
15
15
15
15
25
25
25
38
39
40
41
41
42
43
43
44
45
46
47
48
49
50
51
51
52
52
53
54
54
55
56
57
58
59
60
61
62
63
64
65
66
67
68
69
69
70
71
72
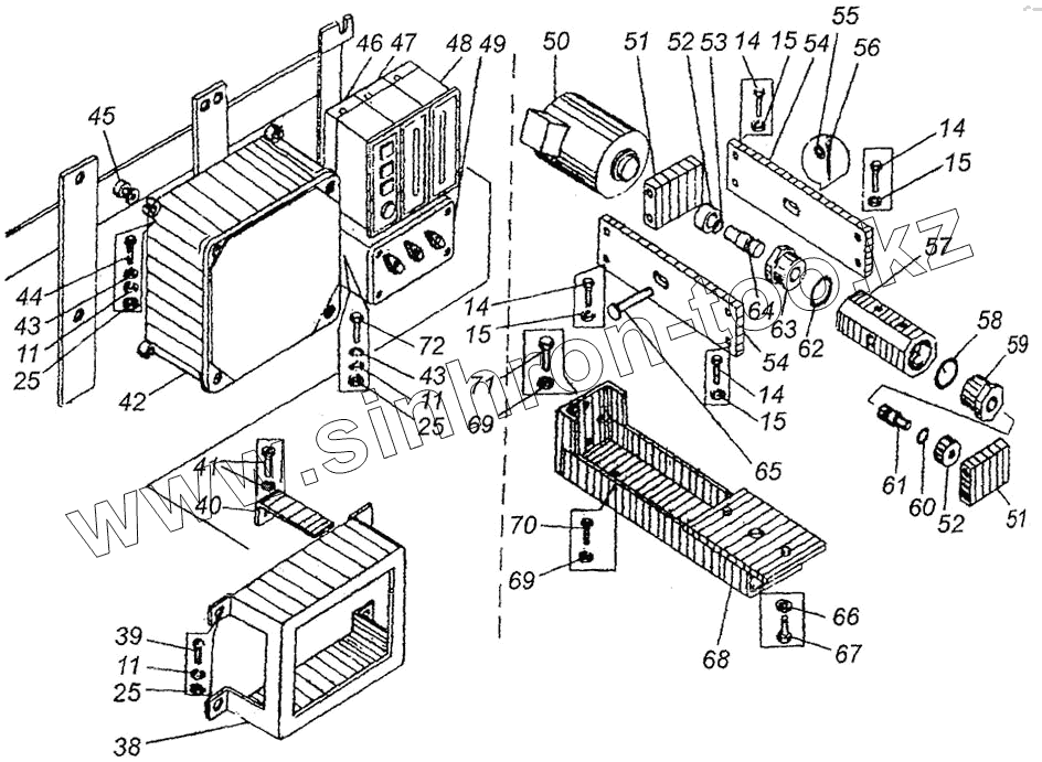
| Позиция на иллюстрации | Заводской номер детали | Название детали | |
|---|---|---|---|
| 11 | Шайба 6.65Г.019 [ГОСТ 6402-70] | Шайба 6.65Г.019 | |
| 14 | Болт М10х20.46.019 [ГОСТ 7798-70] | Болт М10х20.46.019 | |
| 15 | Шайба 10.65Г.019 [ГОСТ 6402-70] | Шайба 10.65Г.019 | |
| 25 | Гайка М6.5.019 [ГОСТ 5915-70] | Гайка М6.5.019 | |
| 38 | КС-3677.81.730 | Кронштейн | |
| 39 | Винт М6х16.46.019 [ГОСТ 11371-78] | Винт М6х16.46.019 | |
| 40 | Скоба | Скоба | |
| 41 | Винт М5х30 | Винт М5х30 | |
| 41 | Шайба 5 | Шайба 5 | |
| 42 | Блок электроники | Блок электроники | |
| 43 | Шайба 6.01.019 [ГОСТ 11371-78] | Шайба 6.01.019 | |
| 44 | Болт М6х50.46.019 [ГОСТ 7798-70] | Болт М6х50.46.019 | |
| 45 | Втулка | Втулка | |
| 46 | 13070 | Контрольный прибор | |
| 47 | 13069 | Индикаторный прибор | |
| 48 | 13056 | Индикаторный прибор | |
| 49 | Вариантный переключатель | Вариантный переключатель | |
| 50 | Датчик усилий 10127 | Датчик усилий 10127 | |
| 51 | КС-3577.80.788 | Пластина | |
| 52 | КС-3577.80.786 | Уплотнение | |
| 53 | Кольцо 020-025-30-2-2 [ГОСТ 9833-73] | Кольцо 020-025-30-2-2 | |
| 54 | КС-3577.81.774 | Пластина | |
| 55 | Шайба 10.01.019 [ГОСТ 11371-78] | Шайба 10.01.019 | |
| 56 | Шплинт 2,5х16.019 [ГОСТ 397-79] | Шплинт 2,5х16.019 | |
| 57 | КС-3577.81.778 | Корпус | |
| 58 | Кольцо 030-035-30-30-2-2 [ГОСТ 9833-78] | Кольцо 030-035-30-30-2-2 | |
| 59 | КС-3577.81.778 | Корпус | |
| 60 | Кольцо 011-015-25-2-2 [ГОСТ 9833-78] | Кольцо 011-015-25-2-2 | |
| 61 | КС-3577.81.779 | Плунжер | |
| 62 | Кольцо 040-045-30-2-2 [ГОСТ 983-78] | Кольцо 040-045-30-2-2 | |
| 63 | КС-3577.81.776 | Штуцер | |
| 64 | КС-3577.81.777 | Плунжер | |
| 65 | Ось 6х80 [ГОСТ 9650-80] | Ось 6х80 | |
| 66 | Шайба 20.65Г.019 [ГОСТ 6402-70] | Шайба 20.65Г.019 | |
| 67 | КС-3577.81.773 | Болт | |
| 68 | КС-3577.81.780 | Рама | |
| 69 | Шайба 8.65Г.019 [ГОСТ 6402-70] | Шайба 8.65Г.019 | |
| 70 | Болт М8х20.46.019 [ГОСТ 7798-70] | Болт М8х20.46.019 | |
| 71 | Болт М8х30.46.019 [ГОСТ 7798-70] | Болт М8х30.46.019 | |
| 72 | Болт М6х25.46.019 [ГОСТ 7798-70] | Болт М6х25.46.019 |
Содержащиеся в справочниках-каталогах запасные части и детали не предлагаются к продаже, а носят исключительно информационный характер