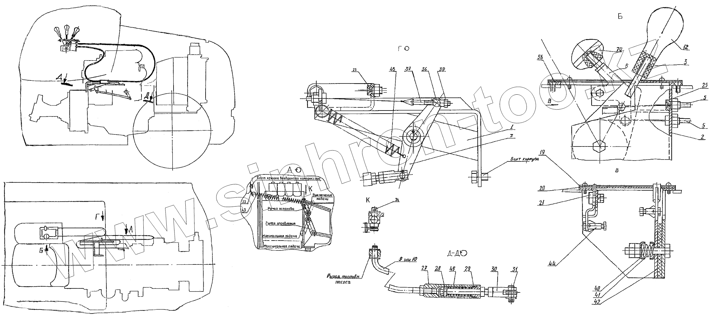
Каталог запасных частей к технике: ТВЭКС ВП-05 (вариант). 005-04-03.21.000 Управление двигателем
1
2
3
5
5
6
7
9
10
12
19
20
21
25
25
27
28
29
30
31
33
34
36
37
39
40
41
42
43
43
44
45
70
| Позиция на иллюстрации | Заводской номер детали | Название детали | |
|---|---|---|---|
| 1 | 005-04-03.21.010 | Кронштейн | |
| 2 | 005-04-03.14.020 | Корпус | |
| 3 | 005-04-03.14.030 | Рычаг | |
| 5 | 005-04-03.14.050 | Оболочка | |
| 6 | 005-04-03.14.060 | Рычаг останова | |
| 7 | 005-04-03.21.020 | Рычаг | |
| 9 | 005-01-03.10.070 | Тяга (с насосом 4УТНМ) | |
| 10 | 005-01-03.10.070-10 | Тяга (с насосом 49.1111084) | |
| 12 | 13.80.04.670 | Ручка | |
| 19 | 005-04-03.14.003 | Пластина | |
| 20 | 005-04-03.14.004 | Пластина | |
| 21 | 005-04-03.14.005 | Ось | |
| 25 | 005-01-03.10.006 | Втулка предохранительная | |
| 27 | 005-01-03.10.008 | Корпус ограничителя | |
| 28 | 005-01-03.10.009 | Ползун | |
| 29 | 005-01-03.10.011 | Крышка | |
| 30 | 005-01-03.10.012 | Вилка | |
| 31 | 005-01-03.10.013 | Палец | |
| 33 | ЭО-3323.04.02.004 | Скоба | |
| 34 | 312-04-03.50.302 | Палец | |
| 36 | 005-01-03.03.002 | Ось | |
| 37 | 005-01-03.03.004 | Тяга | |
| 39 | 005-01-03.03.006 | Гайка регулировочная | |
| 40 | ЭО-3323.04.02.002 | Чашка | |
| 41 | ЭО-3323А.02.06.003 | Пружина | |
| 42 | Э302-1-2200-03 | Диск фрикционный | |
| 43 | Э302-1-2200-04 | Пружина возвратная | |
| 44 | ЭО-3322А.02.03.005 | Палец | |
| 45 | 13.80.04.613-20 | Пружина | |
| 70 | 51-1703-088 | Головка шаровая |
Содержащиеся в справочниках-каталогах запасные части и детали не предлагаются к продаже, а носят исключительно информационный характер