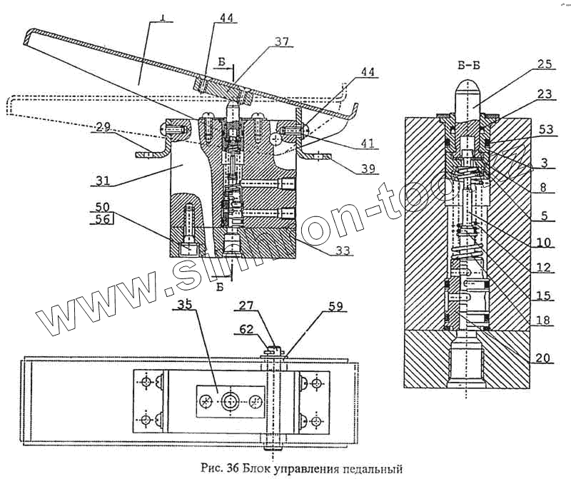
Каталог запасных частей к технике: ТВЭКС ВП-05. Блок управления педальный
1
3
5
8
10
12
15
18
20
23
25
27
29
31
33
35
37
39
41
44
44
50
56
59
62
| Позиция на иллюстрации | Заводской номер детали | Название детали | |
|---|---|---|---|
| 1 | 13.80.04.910 | Педаль | |
| 3 | 13.80.04.507 | Втулка верхняя | |
| 5 | 13.80.04.519 | Упор | |
| 8 | 13.80.04.518 | Шайба | |
| 10 | 13.80.04.510 | Золотник | |
| 12 | 13.80.04.611-20 | Пружина | |
| 15 | 13.80.04.612 | Втулка | |
| 18 | 13.80.04.613-20 | Пружина | |
| 20 | 13.80.04.514 | Втулка нижняя | |
| 23 | 13.80.04.616 | Манжета 10х13.6 | |
| 25 | 13.80.04.566 | Толкатель | |
| 27 | 13.80.04.804 | Ось | |
| 29 | 13.80.04.905 | Уголок | |
| 31 | 13.80.04.921 | Корпус | |
| 33 | 13.80.04.922 | Крышка | |
| 35 | 13.80.04.923 | Пластина | |
| 37 | 13.80.04.924 | Платик | |
| 39 | 13.80.04.906 | Уголок | |
| 41 | 6.01.05 ГОСТ 11371 | Шайба | |
| 44 | М6-8gх14.58.019 ГОСТ 17473-80 | Винт | |
| 47 | М6-8gх14.58.019 ГОСТ 17475-80 | Винт | |
| 50 | М8-8gх30.58.019 ГОСТ 11738-80 | Винт | |
| 55 | 014-018-25-2-3 ГОСТ 9833-73 | Кольцо | |
| 56 | 8.65Г.019 ГОСТ 6402-80 | Шайба | |
| 59 | 10.01.08кп.019 ГОСТ 11371-78 | Шайба | |
| 62 | 2х14.019 ГОСТ 397-79 | Шплинт |
Содержащиеся в справочниках-каталогах запасные части и детали не предлагаются к продаже, а носят исключительно информационный характер