Каталог запасных частей к технике: ТВЭКС ВП-05. Блок управления
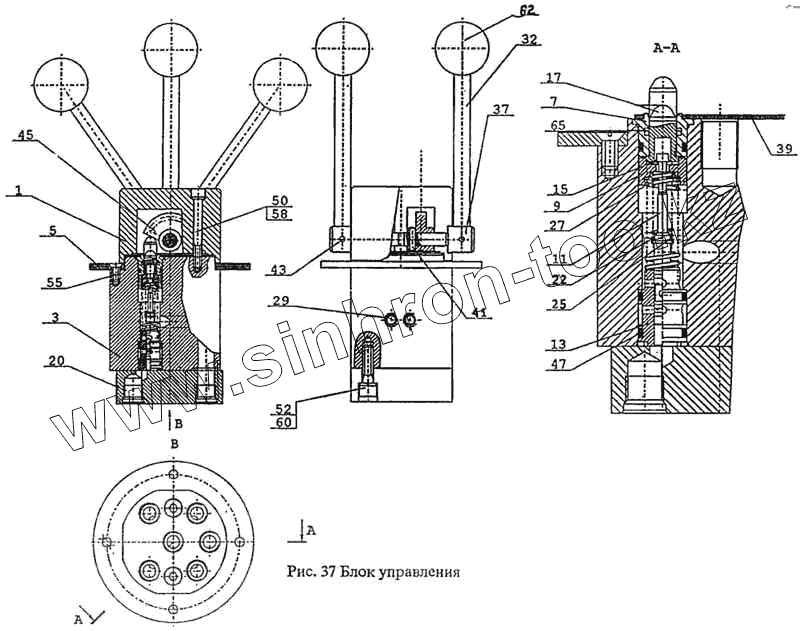
1
3
5
7
9
11
13
15
17
20
22
25
27
29
32
37
39
41
43
45
47
50
52
55
58
60
62
65
| Позиция на иллюстрации | Заводской номер детали | Название детали | |
|---|---|---|---|
| 1 | 13.80.04.451 | Крышка | |
| 3 | 13.80.04.501 | Корпус | |
| 5 | 13.80.04.503 | Фланец | |
| 7 | 13.80.04.507 | Втулка верхняя | |
| 9 | 13.80.04.519 | Упор | |
| 11 | 13.80.04.510 | Золотник | |
| 13 | 13.80.04.514 | Втулка нижняя | |
| 15 | 13.80.04.518 | Шайба | |
| 17 | 13.80.04.566 | Толкатель | |
| 20 | 13.80.04.602-30 | Крышка | |
| 22 | 13.80.04.611-20 | Пружина | |
| 25 | 13.80.04.612 | Втулка | |
| 27 | 13.80.04.613 | Пружина | |
| 29 | 13.80.04.618 | Пробка | |
| 32 | 13.80.04.778 | Рычаг | |
| 37 | 13.80.04.709 | Ось кулачка | |
| 39 | 13.80.04.710 | Крышка | |
| 41 | 13.80.04.711 | Штифт | |
| 43 | 13.80.04.712 | Штифт | |
| 45 | 13.80.04.752 | Кулачок | |
| 47 | 014-018-25-2-3 ГОСТ 9833-73 | Кольцо | |
| 50 | М6-8gх55.58.019 ГОСТ 11738-72 | Винт | |
| 52 | М8-8gх30.58.019 ГОСТ 11738-72 | Винт | |
| 55 | М6-8gх14.58.019 ГОСТ 17475-80 | Винт | |
| 58 | 5.65Г.019 ГОСТ 6402-68 | Шайба | |
| 60 | 8.65Г.019 ГОСТ 6402-68 | Шайба | |
| 62 | 51.1703.88 | Головка шаровая | |
| 65 | 601.00.00.014 | Манжета 10х13.6 |
Содержащиеся в справочниках-каталогах запасные части и детали не предлагаются к продаже, а носят исключительно информационный характер