Каталог запасных частей к технике: ТВЭКС ВП-03. Гидроуправление
68.3709
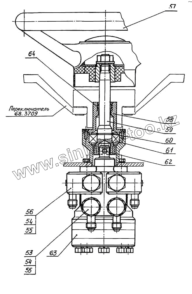
53
54
54
55
55
56
57
58
59
60
61
62
63
64
| Позиция на иллюстрации | Заводской номер детали | Название детали | |
|---|---|---|---|
| 68.3709 | 68.3709 | Переключатель | |
| 1 | 005-04-80.04.005 | Болт | |
| 2 | 13.03.02.009 | Штуцер | |
| 3 | 23358.14М3 | Прокладка | |
| 4 | ЭО-3323А.07.31.040 | Рукав (L=150 мм) | |
| 5 | ЭО-3322Б. 11.07.015 | Штуцер | |
| 6 | 23358.12М3 | Прокладка | |
| 7 | 003-50-80.04.010 | Переходник | |
| 8 | 016-00-80.04.002 | Штуцер | |
| 9 | ЭО-3322А.23.03.004 | Штуцер | |
| 10 | ЭО-3323А.07.21.350 | Трубопровод | |
| 11 | ЭО-3323А.07.21.440 | Трубопровод | |
| 12 | ЭО-3323А.07.31.120 | Рукав L=750 мм | |
| 13 | 003-00-80.04.001 | Штуцер | |
| 14 | 9833.024-028-25-2-3 | Кольцо | |
| 15 | ЭО-3322А.23.02.260 | Включатель манометра | |
| 16 | ЭО-3322А.23.03.006 | Тройник | |
| 17 | 64002.00.000 | Пневмогидроаккумулятор (баллон) | |
| 18 | ЭО-3322Б.23.03.008 | Хомут | |
| 19 | ЭО-3322А.24.01.004 | Тройник | |
| 20 | 13.80.04.930 | Блок управления | |
| 21 | ЭО-3323А.07.31.180 | Рукав (L=1450 мм) | |
| 22 | ЭО-3322А.24.00.005 | Штуцер | |
| 23 | 016-00-80.04.010 | Переходник | |
| 24 | 016-00-80.04.001 | Болт | |
| 25 | 003-03-80.04.030 | Блок управления | |
| 26 | ЭО-3323А.07.31.090 | Рукав L=500 мм | |
| 27 | ЭО-3323А.07.31.180-10 | Рукав (L=1550 мм) | |
| 28 | ЭО-3323А.07.31.050 | Рукав L=300 мм | |
| 29 | ЭО-3323А.07.31.190 | Рукав L=1700 мм | |
| 30 | ЭО-3323А.07.31.170 | Рукав L=1300 мм | |
| 31 | ЭО-3323А.07.31.130-10 | Рукав L=950 мм | |
| 32 | ЭО-3323А.07.31.070 | Рукав L=400 мм | |
| 33 | ЭО-3323А.07.31.150 | Рукав L= 1100 мм | |
| 34 | 13.80.04.500-10 | Блок управления | |
| 35 | ЭО-3323А.07.21.003 | Крестовина | |
| 36 | ЭО-3323А.07.21.360 | Трубопровод L=175 мм | |
| 37 | СП-71.0.30.100-10 | Клапан обратный | |
| 38 | ЭО-3322А.24.01.005 | Штуцер | |
| 39 | 520.20.20.025 | Штуцер | |
| 40 | 9833.012-016-25-2-3 | Кольцо | |
| 41 | 13.80.04.940-10 | Блок управления | |
| 42 | 64002.10.000 | Пневмогидроаккумулятор с гидроклапанами | |
| 43 | ЭО-3323.01.82.680 | Включатель манометра | |
| 44 | ЭО-3323А.07.31.100 | Рукав (L=600 мм) | |
| 45 | ЭО-3323А.07.15.380 | Трубопровод L=390 мм | |
| 46 | ЭО-3323А.07.21.370 | Трубопровод L=300 мм | |
| 47 | ЭО-3323А.07.31.130 | Рукав (L=900 мм) | |
| 48 | Э-302-1-2200-06 | Скоба | |
| 49 | ЭО-3323А.07.21.320 | Трубопровод | |
| 50 | 080-50-02.04.000 | Гидроцилиндр | |
| 51 | ЭО-3322А.24.01.008 | Гайка | |
| 52 | ЭО-3323А.07.31.125 | Рукав (L=800 мм) | |
| 53 | 005-04-80.04.040 | Переходник | |
| 54 | 005-04-80.04.002 | Болт | |
| 55 | 23358.20М3 | Прокладка | |
| 56 | 005-04-80.04.020 | Переходник | |
| 57 | 10.226.000.00 | Колесо рулевое «Вираж» | |
| 58 | 005-04-80.04.009 | Крышка | |
| 59 | 005-04-80.04.080 | Вал | |
| 60 | 13940.1325 | Кольцо | |
| 61 | 8338.205 | Подшипник | |
| 62 | ЭО-3323.07.13.002 | Штифт | |
| 63 | НДМ80-У250 | Насос-дозатор | |
| 64 | 520.941/20 | Подшипник |
Содержащиеся в справочниках-каталогах запасные части и детали не предлагаются к продаже, а носят исключительно информационный характер