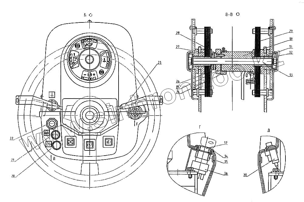
Каталог запасных частей к технике: ТВЭКС ВП-03. 005-04-02.05.100-13 Колонка рулевая
20
20
21
22
23
24
25
26
27
28
29
30
31
32
33
34
35
36
37
| Позиция на иллюстрации | Заводской номер детали | Название детали | |
|---|---|---|---|
| 1 | 005-04-02.05.140 | Основание | |
| 2 | Э 302-1-1200-40 | Втулка предохранительная | |
| 3 | 005-04-02.05.160 | Рычаг | |
| 4 | 005-04-02.05.005 | Ось | |
| 5 | 005-04-02.05.180 | Вилка | |
| 6 | 005-04-02.05.102 | Облицовка | |
| 7 | 005-04-02.05.103 | Облицовка | |
| 8 | КП125 | Комбинация приборов | |
| 9 | 005-04-02.05.019 | Контакт | |
| 10 | 005-04-02.05.017 | Втулка | |
| 11 | 005-04-02.05.018 | Пружина | |
| 12 | 005-04-02.05.009 | Контакт | |
| 13 | 375.3710 | Выключатель | |
| 14 | 005-04-02.05.101-13 | Облицовка | |
| 15 | 005-04-02.05.130 | Кронштейн | |
| 16 | 005-04-02.05.112 | Пружина | |
| 17 | 005-04-02.05.104 | Кожух | |
| 18 | 005-04-02.05.150 | Педаль | |
| 19 | 005-04-02.05.007 | Накладка | |
| 20 | 121.3803 | Фонарь контрольной лампы | |
| 21 | 12.3803 | Фонарь контрольной лампы | |
| 22 | 11.3704 | Выключатель | |
| 23 | 68.3709(2108-3709305) | Переключатель | |
| 24 | 005-04-02.05.107 | Гайка | |
| 25 | 005-04-02.05.106 | Муфта | |
| 26 | 005-04-02.05.002 | Пластана | |
| 27 | 005-04-02.05.011 | Фиксатор | |
| 28 | 005-04-02.05.108 | Штифт | |
| 29 | 005-04-02.05.111 | Пластина | |
| 30 | 005-04-02.05.170 | Каретка | |
| 31 | 005-04-02.05.105 | Втулка | |
| 32 | 005-04-02.05.004 | Шайба | |
| 33 | 005-04-02.05.109 | Ось | |
| 34 | 005-04-02.05.110 | Шляпка | |
| 35 | 005-04-02.05.114 | Втулка | |
| 36 | ВК353 | Выключатель | |
| 37 | 314-02-85.03.304 | Гайка |
Содержащиеся в справочниках-каталогах запасные части и детали не предлагаются к продаже, а носят исключительно информационный характер