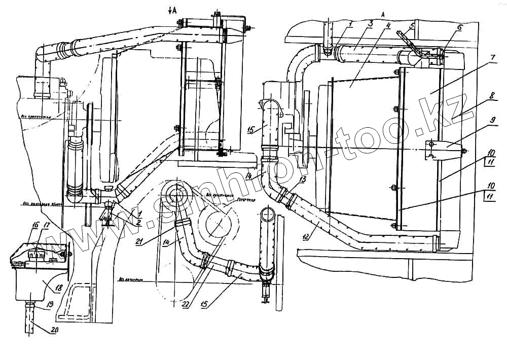
Каталог запасных частей к технике: ТВЭКС ВП-03. 003-04-03.03.000 Установка радиаторов
1
1
2
3
4
5
6
7
8
9
10
10
11
11
12
13
14
14
15
15
16
17
18
19
20
21
22
| Позиция на иллюстрации | Заводской номер детали | Название детали | |
|---|---|---|---|
| 1 | 003-04-03.03.090 | Угольник | |
| 2 | 130-1015370 | Кран | |
| 3 | 003-02-03.03.005 | Рукав 38х49-1.6 ГОСТ 10362-76 L=380 мм | |
| 4 | 003-04-03.03.080 | Диффузор | |
| 5 | 003-02-03.03.007 | Рукав 8х18-4 ГОСТ 10362-76 L=650 мм | |
| 6 | [Хомут червячный d 12..,20] | Хомут червячный d 12..,20 | |
| 7 | КМ003-00-80.06.200 | Радиатор (масляный) | |
| 8 | 144-1301010 | Радиатор (поляной) | |
| 9 | 003-02-03.03.001 | Скоба | |
| 10 | 003-02-03.03.010 | Пластина 1Ф-1ТКМЩ-С-10 ГОСТ 7338-90 380х30х10 | |
| 11 | 003-02-03.03.011 | Пластина 1Ф-1ТКМЩ-С-10 ГОСТ 7338-90 530х30х10 | |
| 12 | 003-02-03.03.006 | Рукав 38х49-1.6 ГОСТ 10362-76 1=500 мм | |
| 13 | 016-00-04.01.004 | Труба | |
| 14 | ЭО-3323.04.04.012 | Шланг | |
| 15 | ЭО-3323.04.04.002 | Шланг | |
| 16 | 003-03-03.01.110 | Кожух | |
| 17 | 3302-131065 | Пробка бачка расширительного | |
| 18 | 3105-1311038-21 | Бачок расширительный | |
| 19 | [Хомут червячный d 20...32] | Хомут червячный d 20...32 | |
| 20 | 003-02-03.03.008 | Рукав 18х26-0.6 ГОСТ 10362-76 L=750 мм | |
| 21 | [Хомут червячный d 32...50] | Хомут червячный d 32...50 | |
| 22 | 003-04-03.03.001 | Труба |
Содержащиеся в справочниках-каталогах запасные части и детали не предлагаются к продаже, а носят исключительно информационный характер