Вернуться на главную
Поиск
Каталоги запчастей к технике
Спецтехника
ТВЭКС
ВП-03
003-03-80.04.030 Блок управления
Каталог запасных частей к технике: ТВЭКС ВП-03. 003-03-80.04.030 Блок управления
zoom-in
zoom-out
enlarge
shrink
circle-right
circle-left
file-text2
info
cart
Тип техники
Не выбрано
Легковые автомобили
Грузовые автомобили и прицепы
Автобусы
Сельхозтехника
Спецтехника
Двигатели
Мототехника
Марка
Не выбрано
Ammann
BOMAG
CARMIX
CASE IH
Changlin
ChengGong
Dimex
Doosan
DYNAPAC
Foton
HAMM
Hidromek
Hitachi
Hyundai
JCB
JLG
John Deere
Komatsu
LIEBHERR
LiuGong
Lonking (LongGong)
Luneng
MANITOU
Mitsuber
New Holland
PENGPU
RM-Terex
SANY
SDLG
SEM
Shantui
Shehwa HBXG
Soosan
TIGARBO
VOGELE
Volvo
WAY
WIRTGEN
XCMG
XGMA
Xiamen
YTO
Yuchai
Zoomlion
Автокран
АЗСМ
Алтайлесмаш
Амкодор
АОМЗ
Атек
АТЗ
Балканкар Рекорд
БелАЗ
Беловеж
Борекс
Брянский Арсенал
Булат
ВЭКС
ГАЗ
Геомаш
Гидромаш
Донекс
Дормаш
Дормашина
Дорэлектромаш
ДЭЗ
ЕлАЗ
ЗЗГТ
Ижнефтемаш
Канаш-электрокар
КЗКТ
ККЗ
Клевер
Клинцовский автокрановый завод
КМЗ
КМЗ 1 Мая
Ковровец
Коммаш
Кранэкс
КЭЗ
КЭМЗ
ЛЗА
МАЗ
МЗИК
МЗКМ
МЗКТ
Михневский РМЗ
МоАЗ
Мозырский МЗ
МТЗ
ОЗП
Онежец
ПАО "ТЗА"
ППС Детва
Промтрактор
ПТЗ
Раскат
СпецАгрегат
ТВЭКС
ТТМ
УВЗ
Угличмаш
УЗТМ
ХТЗ
ЧЗКМ
ЧСДМ
ЧТЗ
ЭКСКО
ЭКСМАШ
ЮрМаш
Модель
Не выбрано
5846ТМ (ЕА17) (2010)
E145W (ЕК-14)
E145W (ЕК-14) (2005)
E185W (ЕК-18)
E185W (ЕК-18) (2005)
E185W (ЕК-18) (2008)
E225LC (2022)
E225NLC (2022)
TLB 825 (2016)
TLB 825 (2017)
TLB 825 (2019)
TLB 935 (2020)
TLB 935 (2021)
TVEX-140W (2015)
TVEX-180i (2015)
TVEX-180W (2015)
TX220LC (2019)
TX220NLC (2019)
WX200 (2019)
WХ-200 (2015)
WХ-200 (2017) (2017)
ВП-03 (2005)
ВП-05
ВП-05 (2015)
ВП-05 (2005) (2005)
ВП-05 (вариант) (2005)
Е200СН (2018)
Е245СН (2018)
ЕК-12 (2005)
ЕК-12 (2007) (2007)
ЕК-12 (2013) (2013)
ЕК-14-20 (2013)
ЕК-14-90 (2011)
ЕК-14-90 (2015)
ЕК-18-20 (2010)
ЕК-18-40 (2005)
ЕК-18-45-60 (2008)
ЕК-18-90 (2012)
ЕК-18-90 (2015)
ЕК-20-20 (2010)
ЕТ-16 (2005)
ЕТ-16-20 (2007)
ЕТ-18-20 (2005)
ЕТ-20-20 (2012)
ЕТ-25
ЕТ-25-20 (2007)
ЕТ-26i (2010)
ЕТ-26i (2015)
ТХ-210 (2015)
ТХ-210 (2017)
ТХ-220 (2017)
ТХ-270 / 300 (2017)
ТЭП-18 (2012)
ЭО-3122
ЭО-3323
ЭО-3323А (2002)
ЭО-3326 (2000)
ЭОВ-3521 (2007)
ЭОВ-3521М-1 (2007)
ЭОВ-3521М-1 (2017)
ЭОВ-3521М-1 (2017)
Схема
>
Не выбрано
Кабина
Установка педальных блоков
003-01-02.00.000 Кабина
003-00-02.00.000 Кабина (каркасная)
003-00-02.30.100 Установка педальных блоков
003-00-02.40.100 Установка основания
003-01-02.90.000 Установка стеклоочистителей
003-01-02.30.000 Дверь левая
003-01-02.40.000 Дверь правая
003-01-02.80.000 Установка стекол
005-04-90.00.000 Сиденье
Установка зеркала заднего вида
Установка силовая
003-04-03.00.000 Установка силовая
016-00-04.08.100 Установка насоса ВШ 10-3Л
016-00-04.05.000 Управление двигателем
016-00-04.03.000-10 Установка воздухоочистителя
003-04-03.07.000 Установка глушителя
003-04-03.01.000 Установка насоса
003-04-03.03.000 Установка радиаторов
003-04-70.00.000 Ход пневмоколёсный
003-00-70.90.000 Привод хода правый
003-03-33.01.000 Рама основная
003-00-70.30.000 Мост неприводной управляемый
Колонка рулевая
005-04-02.05.100-13 Колонка рулевая
003-00-70.40.000 Управление поворотом колес
Электрооборудование
Электрооборудование
Электрооборудование
Гидроуправление
003-00-80.01.000-03 Трубопроводы
003-00-80.00.000-20 Гидрооборудование
003-00-80.04.000-02 Гидроуправление
Гидроуправление
13.80.04.930 Блок управления
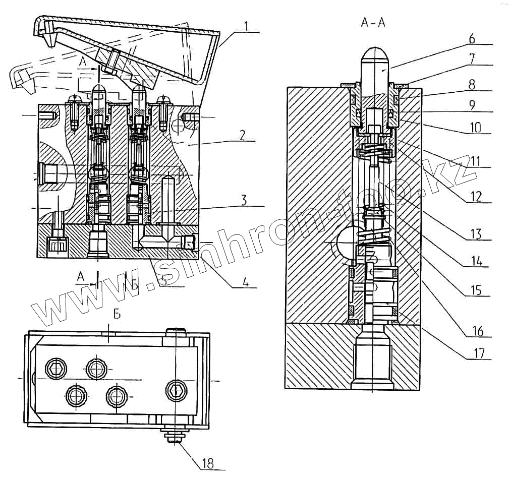
003-03-80.04.030 Блок управления
13.80.04.500-10 Блок управления
СП-71.0.30.100-10 Клапан обратный
13.80.04.940-10 Блок управления
64002.10.000 Пневмогидроаккумулятор с гидроклапанами
080-50-02.04.000 Гидроцилиндр
003-00-80.01.000-03 Трубопроводы
005-00-80.01.700 Регулятор расхода
003-00-80.01.020 Фильтр
РС 120-71.80.240 Клапан предохранительный
003-520 Гидрораспределитель
520.20.50.300 Секция рабочая
520.20.53.700 Секция рабочая (ход)
505.21.62.100 Секция напорно-сливная
505.20.02.000 Клапан предохранительный
520.20.53.990 Секция рабочая
13.71.80.750 Гидрозамок односторонний
520.32.00.000-20 Блок клапанов "или"
063-63-16.00.000 Гидроцилиндр подъёма
060-30-01.01.000 Гидроцилиндр наклона левый,060-30-01.00.000 Гидроцилиндр наклона правый
Грузоподъёмник
003-03-33.00.000 Грузоподъёмник
003-03-33.02.000 Рама выдвижная
003-03-33.03.000 Каретка
003-00-33.33.400-10 Вилы
003-04-00.00.000 Погрузчик вилочный гидравлический ВП-03
1
2
3
4
5
6
7
8
9
10
11
12
13
14
15
16
17
18
Позиция на иллюстрации
Заводской номер детали
Название детали
1
003-03-80.04.040
Педаль
2
003-00-80.04.021-10
Корпус
3
003-00-80.04.023
Втулка нижняя
4
13.04.02.108
Пробка
5
003-00-80.04.022-10
Крышка
6
13.80.04.566
Толкатель
7
13.80.04.903
Крышка
8
9833.014-018-25-2-3
Кольцо
9
13.80.04.616
Манжета 10х13.6
10
13.80.04.507
Втулка верхняя
11
13.80.04.518
Шайба
12
13.80.04.519
Упор
13
13.80.04.510
Золотник
14
13.80.04.611-20
Пружина
15
13.80.04.612
Втулка
16
13.80.04.613-20
Пружина
17
13.80.04.514
Втулка нижняя
18
13.80.04.804
Ось
Содержащиеся в справочниках-каталогах запасные части и детали не предлагаются к продаже, а носят исключительно информационный характер
Дополнительная информация
×
Название:
Номер:
Примечание: