Вернуться на главную
Поиск
Каталоги запчастей к технике
Спецтехника
ТВЭКС
TX220LC
Кабина в сборе
Каталог запасных частей к технике: ТВЭКС TX220LC. Кабина в сборе
zoom-in
zoom-out
enlarge
shrink
circle-right
circle-left
file-text2
info
cart
Тип техники
Не выбрано
Легковые автомобили
Грузовые автомобили и прицепы
Автобусы
Сельхозтехника
Спецтехника
Двигатели
Мототехника
Марка
Не выбрано
Ammann
BOMAG
CARMIX
CASE IH
Changlin
ChengGong
Dimex
Doosan
DYNAPAC
Foton
HAMM
Hidromek
Hitachi
Hyundai
JCB
JLG
John Deere
Komatsu
LIEBHERR
LiuGong
Lonking (LongGong)
Luneng
MANITOU
Mitsuber
New Holland
PENGPU
RM-Terex
SANY
SDLG
SEM
Shantui
Shehwa HBXG
Soosan
TIGARBO
VOGELE
Volvo
WAY
WIRTGEN
XCMG
XGMA
Xiamen
YTO
Yuchai
Zoomlion
Автокран
АЗСМ
Алтайлесмаш
Амкодор
АОМЗ
Атек
АТЗ
Балканкар Рекорд
БелАЗ
Беловеж
Борекс
Брянский Арсенал
Булат
ВЭКС
ГАЗ
Геомаш
Гидромаш
Донекс
Дормаш
Дормашина
Дорэлектромаш
ДЭЗ
ЕлАЗ
ЗЗГТ
Ижнефтемаш
Канаш-электрокар
КЗКТ
ККЗ
Клевер
Клинцовский автокрановый завод
КМЗ
КМЗ 1 Мая
Ковровец
Коммаш
Кранэкс
КЭЗ
КЭМЗ
ЛЗА
МАЗ
МЗИК
МЗКМ
МЗКТ
Михневский РМЗ
МоАЗ
Мозырский МЗ
МТЗ
ОЗП
Онежец
ПАО "ТЗА"
ППС Детва
Промтрактор
ПТЗ
Раскат
СпецАгрегат
ТВЭКС
ТТМ
УВЗ
Угличмаш
УЗТМ
ХТЗ
ЧЗКМ
ЧСДМ
ЧТЗ
ЭКСКО
ЭКСМАШ
ЮрМаш
Модель
Не выбрано
5846ТМ (ЕА17) (2010)
E145W (ЕК-14)
E145W (ЕК-14) (2005)
E185W (ЕК-18)
E185W (ЕК-18) (2005)
E185W (ЕК-18) (2008)
E225LC (2022)
E225NLC (2022)
TLB 825 (2016)
TLB 825 (2017)
TLB 825 (2019)
TLB 935 (2020)
TLB 935 (2021)
TVEX-140W (2015)
TVEX-180i (2015)
TVEX-180W (2015)
TX220LC (2019)
TX220NLC (2019)
WX200 (2019)
WХ-200 (2015)
WХ-200 (2017) (2017)
ВП-03 (2005)
ВП-05
ВП-05 (2015)
ВП-05 (2005) (2005)
ВП-05 (вариант) (2005)
Е200СН (2018)
Е245СН (2018)
ЕК-12 (2005)
ЕК-12 (2007) (2007)
ЕК-12 (2013) (2013)
ЕК-14-20 (2013)
ЕК-14-90 (2011)
ЕК-14-90 (2015)
ЕК-18-20 (2010)
ЕК-18-40 (2005)
ЕК-18-45-60 (2008)
ЕК-18-90 (2012)
ЕК-18-90 (2015)
ЕК-20-20 (2010)
ЕТ-16 (2005)
ЕТ-16-20 (2007)
ЕТ-18-20 (2005)
ЕТ-20-20 (2012)
ЕТ-25
ЕТ-25-20 (2007)
ЕТ-26i (2010)
ЕТ-26i (2015)
ТХ-210 (2015)
ТХ-210 (2017)
ТХ-220 (2017)
ТХ-270 / 300 (2017)
ТЭП-18 (2012)
ЭО-3122
ЭО-3323
ЭО-3323А (2002)
ЭО-3326 (2000)
ЭОВ-3521 (2007)
ЭОВ-3521М-1 (2007)
ЭОВ-3521М-1 (2017)
ЭОВ-3521М-1 (2017)
Схема
>
Не выбрано
Перечень сборочных единиц
Экскаватор одноковшовый гусеничный гидравлический ТХ220
Ходовая тележка в сборе
Ходовая тележка в сборе
Гидрооборудование тележки (устанавливается фирмы «Bosch-Rexroth»)
Гидрооборудование тележки (устанавливается фирмы Sungbo)
Установка приводов хода
Установка поддонов
Установка ОПУ
Платформа поворотная с механизмами
Платформа поворотная с механизмами
Установка стопора
Установка механизма поворота
Установка кабины
Установка интерьера кабины
Установка верхней решетки
Кабина в сборе
Кабина в сборе
Кабина в сборе
Кабина в сборе
Кабина в сборе
Кабина в сборе
Кабина в сборе
Дверь в сборе
Установка передней рамки
Рамка передняя
Дверца задняя в сборе
Форточка задняя
Установка фиксатора двери
Установка нижнего стекла
Установка опор кабины
Установка ступени
Установка сиденья оператора
Установка стеклоочистителя
Установка стеклоочистителя
Установка аудиосистемы
Подключение отопителя
Установка зеркал с подогревом
Пост управления экскаватором
Пост управления экскаватором
Пост управления экскаватором
Установка пультов
Установка пультов
Установка пультов
Регулятор воздуха
Установка противовеса
Гидроуправление экскаватора
Гидроуправление экскаватора
Гидроуправление экскаватора
Бак гидравлический
Гидрооборудование на поворотной платформе (двигатель “ЯМЗ”, мех-м поворота Бош-Рексрот)
Гидрооборудование на поворотной платформе (двигатель “ЯМЗ”, мех-м поворота Бош-Рексрот)
Гидрооборудование на поворотной платформе (двигатель “ЯМЗ”, мех-м поворота Бош-Рексрот)
Гидрооборудование на поворотной платформе (двигатель “ЯМЗ”, мех-м поворота Бош-Рексрот), (двигатель “ЯМЗ”, мех-м поворота Sungbо)
Гидрооборудование на поворотной платформе (двигатель “ЯМЗ”, гидравлика с электороуправлением)
Гидрооборудование на поворотной платформе (двигатель “ЯМЗ”, гидравлика с электороуправлением)
Гидрооборудование на поворотной платформе (двигатель “ЯМЗ”, гидравлика с электороуправлением)
Гидрооборудование на поворотной платформе (двигатель “ЯМЗ”, гидравлика с электороуправлением)
Гидрооборудование на поворотной платформе (двигатель “ЯМЗ”, гидравлика с электороуправлением), (двигатель “ЯМЗ”, гидравлика с электороуправлением и мех-м поворота Sungbо)
Гидрораспределитель
Электроуправление в кабине
Электроуправление в кабине
Электроуправление в кабине
Электрооборудование на поворотной платформе
Установка АКБ
Кронштейн реле на бак
Подсветка номерного знака
Плафон капота
Сигнал
Жгуты поворотной платформы
Установка кондицонера
Установка конденсатора
Установка климатической системы
Установка камеры заднего вида и фары на противовес
Установка четырех фар на крыше
Установка фары на противовес
Установка баков
Бак топливный
Установка силовая ЯМЗ 536
Двигатель с опорами
Топливная система
Фильтр предварительной очистки топлива
Радиатор с кронштейнами
Патрубки водяного радиатора и расширительный бачок
Патрубки системы охлаждения
Патрубки интеркулера
Установка воздухоочистителя
Установка глушителя
Установка агрегата насосного
Установка капота
Установка капота
Установка капота
Установка капота
Установка капота
Установка рабочего оборудования
Исполнения рабочего оборудования TX-210
Гидроцилиндр стрелы
Гидроцилиндр рукояти
Гидроразводка стрелы с разводкой под гидромолот
Гидроразводка стрелы с тормозными клапанами
Установка рукояти 2920 с разводкой под гидромолот
Установка рукояти 2400 с разводкой под гидромолот
Гидроразводка рукояти 2920 с разводкой под гидромолот
Гидроразводка рукояти 2400 с разводкой под гидромолот
Гидроразводка рукояти 2920 без разводки под гидромолот
Гидроразводка рукояти 2400 без разводки под гидромолот
Гидроцилиндр ковша
Установка ковша
Установка ковша
Комплект опций
Установка гидроразводки на грейфер с ротатором с рукоятью 2400
Установка гидроразводки на грейфер с ротатором с рукоятью 2920
Установка гидроразводки на грейфер с ротатором (гидравлика)
Установка стабилизации стрелы
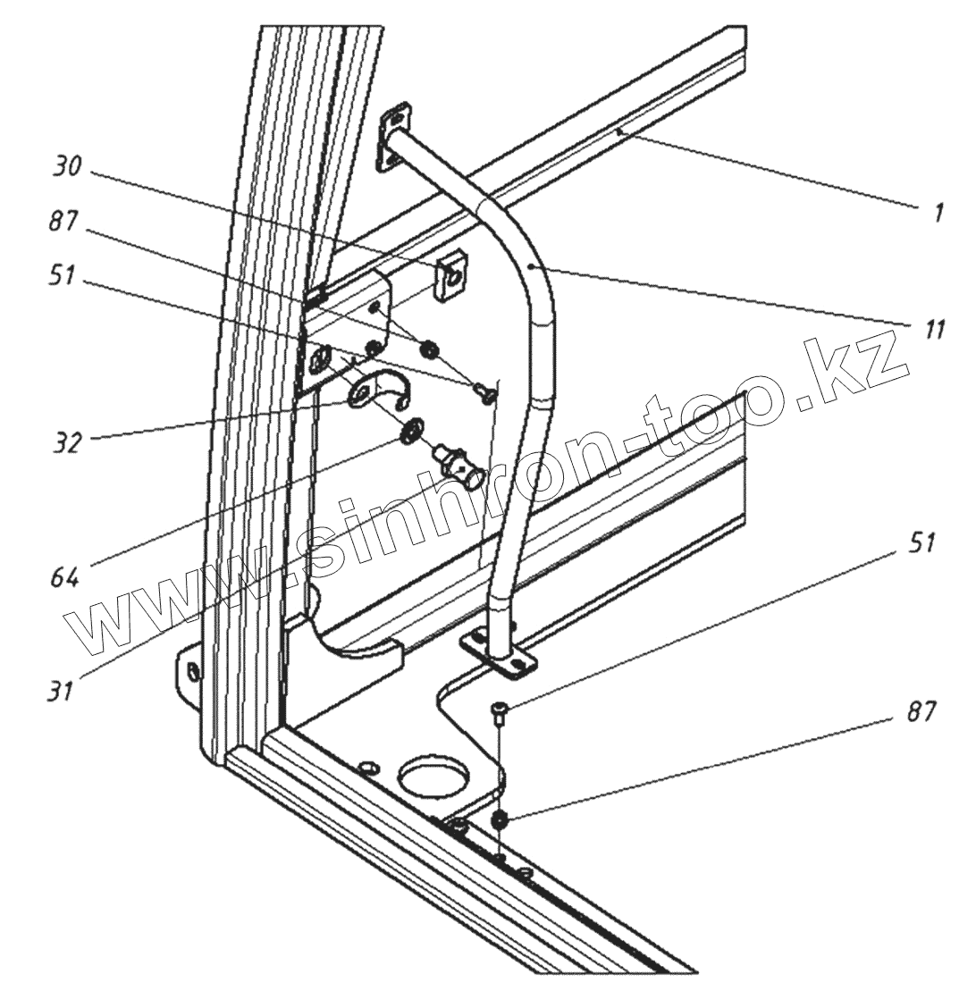
1
11
30
31
32
51
51
64
87
87
Позиция на иллюстрации
Заводской номер детали
Название детали
1
202020110000 00
Корпус кабины
2
202020120000 00
Дверь в сборе
3
202020130000 00
Установка передней рамки
4
202020140000 00
Дверца задняя в сборе
5
202020150000 00
Форточка задняя
10
202020100100 00
Поручень наружный
11
202020100200 00
Поручень внутренний
12
202020100300 00
Каркас фильтра
13
202020100400 00
Решетка задняя
14
202020100500 00
Установка фиксатора двери
15
202020100600 00
Установка нижнего стекла
16
202020100700 00
Планка резьбовая
23
202020100001 00
Стекло правое
24
202020100002 00
Стекло крыши
25
202020100003 00
Стекло левое
26
202020100004 00
Кронштейн щетки
27
202020100005 00
Люк задний
28
202020100006 00
Штырь
29
202020100007 00
Планка
30
202020100008 00
Планка резьбовая
31
000294100301 01
Штырь
32
000294100302 01
Скоба
46
000026400230 01
Болт
50
000026430105 01
Винт
51
000026430100 01
Винт
53
000026420311 01
Винт
54
000026420188 01
Винт
55
000026410608 01
Гайка
56
000026410610 01
Гайка
59
000026440205 01
Шайба
60
000026440206 01
Шайба
62
000026440608 01
Шайба
63
000026440610 01
Шайба
64
000026440612 01
Шайба
67
000918204055 01
Шторка противосолнечная
68
000026482516 01
Скоба резьбовая
69
000109080128 01
Втулка предохранительная
70
000913402801 01
Буфер
72
000918202005 01
Петля
73
000918202004 01
Ось петли
74
000918202003 01
Масленка петли
75
000918202071 01
Колпачок масленки
76
000026430031 01
Винт
78
064309006 1
Уплотнитель
79
064309006 1
Уплотнитель
80
064309006 1
Уплотнитель
81
064309006 1
Уплотнитель
83
064309008 1
Уплотнитель
84
064309008 1
Уплотнитель
85
000918101064 01
Зеркало заднего вида
86
000026410231 01
Гайка заклеп. шестигр.
87
000026410232 01
Гайка заклепочная
88
000026410234 01
Гайка заклепочная
90
064450201 1
Лента амортизационная
91
064450201 1
Лента амортизационная
92
000924000089 01
Маяк проблесковый
93
000924000090 01
Кронштейн маяка
Содержащиеся в справочниках-каталогах запасные части и детали не предлагаются к продаже, а носят исключительно информационный характер
Дополнительная информация
×
Название:
Номер:
Примечание: