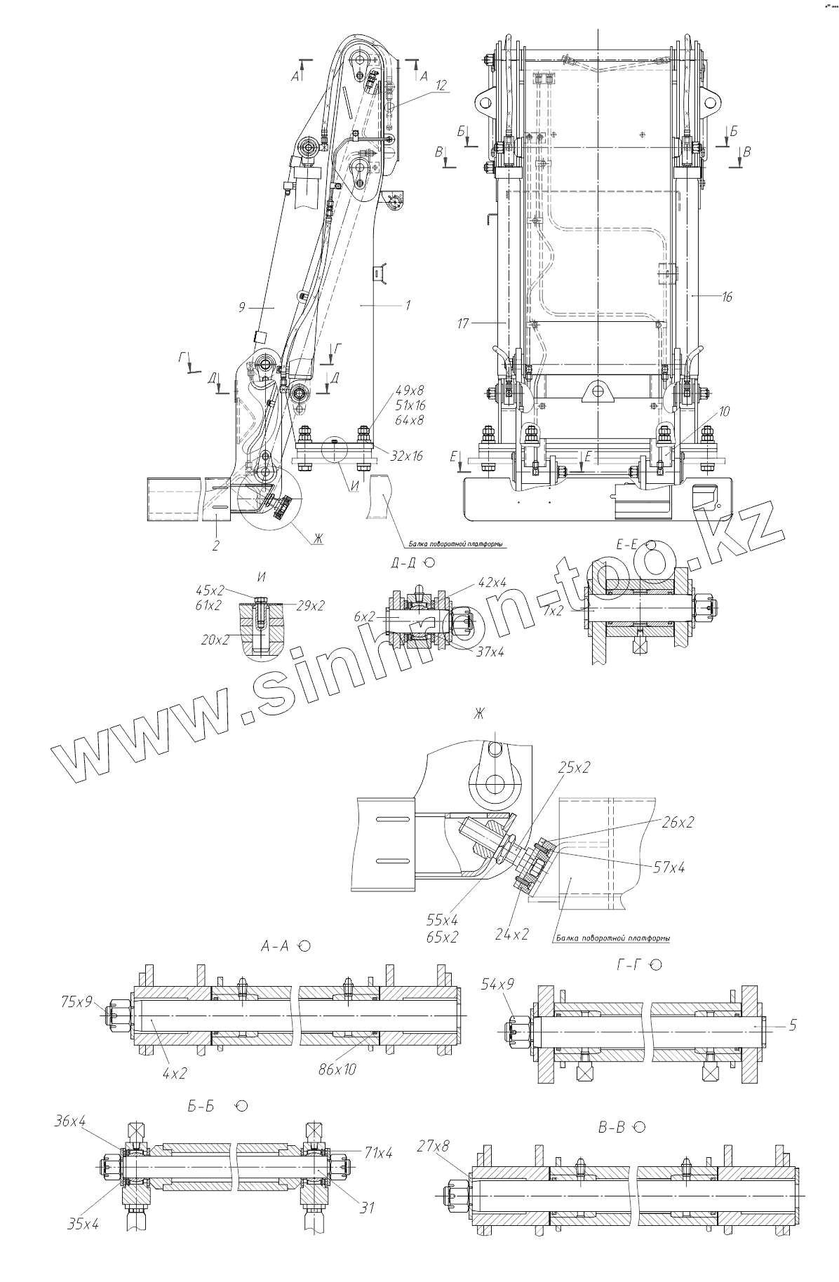
Каталог запасных частей к технике: ТВЭКС TVEX-180i. 318503100000 00 Механизм подъема кабины
1
2
4
5
6
7
9
10
12
16
17
20
24
25
26
27
29
31
32
35
36
37
42
45
49
51
54
55
57
61
64
65
71
75
86
| Позиция на иллюстрации | Заводской номер детали | Название детали | |
|---|---|---|---|
| 1 | 31850310620000 | Стойка | |
| 2 | 31850310740000 | Подкабинник | |
| 4 | 31845310008000 | Ось в сборе | |
| 5 | 31845310009000 | Ось в сборе | |
| 6 | 31845310010000 | Палец в сборе | |
| 7 | 31845310011000 | Палец в сборе | |
| 9 | 31845310410000 | Тяга верхняя | |
| 10 | 31845310510000 | Тяга нижняя | |
| 12 | 31845310800000 | Установка централизованной смазки | |
| 16 | 06040060200000 | Гидроцилиндр правый | |
| 17 | 06040060300000 | Гидроцилиндр левый | |
| 20 | 31850310000100 | Штифт | |
| 24 | 31845310001600 | Шайба | |
| 25 | 31845310001700 | Винт | |
| 26 | 31845310001800 | Шайба | |
| 27 | 31845310001900 | Шайба | |
| 29 | 31845310002100 | Планка | |
| 31 | 31845310002300 | Ось | |
| 32 | 31845310002400 | Шайба | |
| 35 | 31300401900200 | Кольцо | |
| 36 | 31300401900100 | Уплотнение | |
| 37 | 31300403000700 | Кольцо | |
| 42 | 31300403001000 | Подшипник сферический | |
| 45 | М10-6gх20.58.016 | Болт | |
| 49 | М24-8gх150.110.016 | Болт | |
| 51 | М24-7Н.10.40Х.016 | Гайка | |
| 54 | М24-7Н.10.40Х.016 | Гайка | |
| 55 | М30-7Н.10.40Х.016 | Гайка | |
| 57 | М6-6gх25.48.019 | Винт | |
| 61 | 10.65Г.016 | Шайба | |
| 64 | 24.65Г.016 | Шайба | |
| 65 | 30.65Г.016 | Шайба | |
| 71 | В55 | Кольцо | |
| 75 | 5х60.019 | Шплинт | |
| 86 | Шнур1-4С | Шнур |
Содержащиеся в справочниках-каталогах запасные части и детали не предлагаются к продаже, а носят исключительно информационный характер