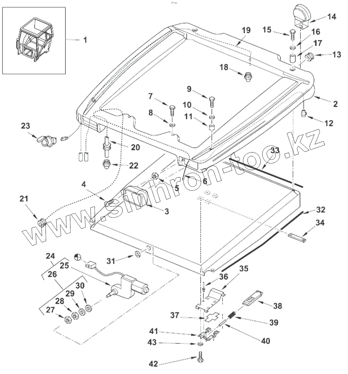
Каталог запасных частей к технике: ТВЭКС TLB 935. Внешняя крыша кабины
1
2
3
4
5
6
7
8
9
10
11
12
13
14
15
16
17
18
19
20
21
22
23
24
25
26
27
28
29
30
31
32
33
34
35
36
37
38
39
40
41
42
43
| Позиция на иллюстрации | Заводской номер детали | Название детали | |
|---|---|---|---|
| 1 | 825000115000 00 | Каркас с заклепками | |
| 2 | 000815001134 01 | Крышка внешняя черная | |
| 3 | 000815001102 01 | Рабочее освещение в сборе переднее | |
| 4 | 000815001102 01 | Винт | |
| 5 | 000815071201 01 | Гайка | |
| 6 | 000815001262 03 | Жгут | |
| 7 | 000026420337 01 | Винт | |
| 8 | 825000104301 00 | Шайба | |
| 9 | 000026400332 01 | Болт | |
| 10 | 000026440194 01 | Шайба | |
| 11 | 825108008145 00 | Дистанционная втулка | |
| 12 | 000815001106 01 | Разъем маяка | |
| 13 | 000815001276 00 | Изолирующая трубка | |
| 14 | 000815000154 04 | Фара головная | |
| 15 | 000026400339 01 | Болт | |
| 16 | 000026440194 01 | Шайба | |
| 17 | 825108008146 00 | Дистанционная втулка | |
| 18 | 000815001105 01 | Шайба | |
| 19 | 3522641M4 | Труба гибкая | |
| 20 | 3522640M3 | Труба гибкая | |
| 21 | 6099457M1 | Прокладка | |
| 22 | 000815001105 01 | Шайба | |
| 23 | 000815001106 01 | Разъем маяка | |
| 24 | 3504311M91 | Мотор щетки переднего стеклоочистителя | |
| 25 | MOTOR, WIPER | Мотор стеклоочистителя | |
| 26 | 3523336M91 | Комплект крепежа | |
| 27 | CAP | Крышка | |
| 28 | NUT | Гайка | |
| 29 | WASHER | Шайба | |
| 30 | WASHER | Шайба | |
| 31 | 000026440616 01 | Шайба плоская | |
| 32 | 3019881X1 | Уплотнитель | |
| 33 | 6099455M1 | Уплотнитель | |
| 34 | 000815001157 01 | Платик | |
| 35 | 825000102601 00 | Кронштейн | |
| 36 | 000815001161 01 | Заклепка | |
| 37 | 000815001162 01 | Пластина | |
| 38 | 825000102100 00 | Зацеп | |
| 39 | 825000102100 00 | Зацеп | |
| 40 | 000815071016 01 | Пружинный шплинт | |
| 41 | 825000102701 00 | Кронштейн | |
| 42 | 000026400122 01 | Болт с шестигранной головкой | |
| 43 | 000026440608 01 | Шайба |
Содержащиеся в справочниках-каталогах запасные части и детали не предлагаются к продаже, а носят исключительно информационный характер