Каталог запасных частей к технике: ТВЭКС TLB 935. Управление

zoom-in zoom-out enlarge shrink circle-right circle-left file-text2 info cart
1
2
3
4
5
6
7
8
9
10
11
12
13
14
15
16
17
18
19
20
21
21
22
23
23
24
24
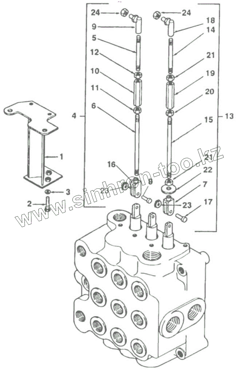
Позиция на иллюстрации Заводской номер детали Название детали
1 1B0179 Упор в сборе
2 339009X1 Винт
3 339374X1 Шайба
4 1B0159 Рычаг в сборе
5 815-40-70.00.005 Шток
6 815-40-70.00.006 Шток
7 1B0139 Серьга
8 1B0158 Шплинтуемый палец тяги
9 3517518M1 Шаровой шарнир составной
10 6102733M1 Винтовая стяжная муфта
11 339169X1 Гайка
12 3519650M1 Гайка
13 1B0159 Рычаг в сборе
14 815-40-70.00.005 Шток
15 815-40-70.00.006 Шток
16 1B0139 Серьга
17 1B0158 Шплинтуемый палец тяги
18 3517518M1 Шаровой шарнир составной
19 6102733M1 Винтовая стяжная муфта
20 339169X1 Гайка
21 3519650M1 Гайка
22 3518878M3 Диск
23 291415M1 Хомут
24 394367X1 Гайка
Содержащиеся в справочниках-каталогах запасные части и детали не предлагаются к продаже, а носят исключительно информационный характер