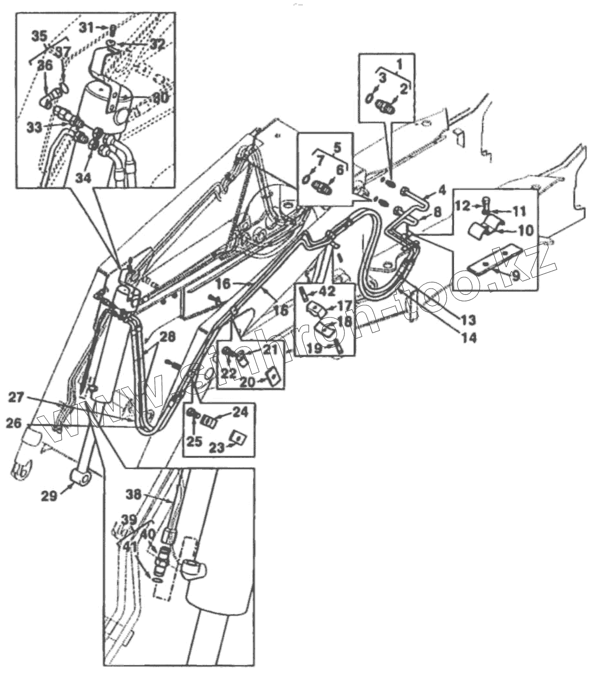
Каталог запасных частей к технике: ТВЭКС TLB 825. ГИДРООБОРУДОВАНИЕ / ЦИЛИНДР КОВША
1
2
3
4
5
6
7
8
9
10
11
12
13
14
15
16
17
18
19
20
21
22
23
24
25
26
27
28
29
30
31
32
33
34
35
36
37
38
39
40
41
42
| Позиция на иллюстрации | Заводской номер детали | Название детали | |
|---|---|---|---|
| 1 | 835057M91 | Переходник в сборе | |
| 2 | 358736X1 | Переходник | |
| 3 | 835025M1 | Уплотнение | |
| 4 | 1TH0029M1 | Труба в сборе | |
| 5 | 1H0183 | Переходник в сборе | |
| 6 | 1HO165 | Переходник | |
| 7 | 835025M1 | Уплотнение | |
| 8 | 1TH0028M1 | Труба в сборе | |
| 9 | 6101897M1 | Резиновая подушка | |
| 10 | 6101228M1 | Скоба прижимная | |
| 11 | 385361X1 | Шайба | |
| 12 | 339124X1 | Болт | |
| 13 | 1TH0034M91 | Шланг ковша погрузочного | |
| 14 | 6112867M91 | Шланг ковша погрузочного | |
| 15 | 6102461M91 | Труба в сборе | |
| 16 | 6102463M91 | Труба в сборе | |
| 17 | 3520538M2 | Скоба прижимная | |
| 18 | 3520534M1 | Хомут трубки стрелы погрузчика | |
| 19 | 339291X1 | Винт | |
| 20 | 6106109M1 | Резиновая подушка | |
| 21 | 3520534M1 | Хомут трубки стрелы погрузчика | |
| 22 | 339337X1 | Болт | |
| 23 | 6106109M1 | Резиновая подушка | |
| 24 | 3520534M1 | Хомут трубки стрелы погрузчика | |
| 25 | 339337X1 | Болт | |
| 26 | 6102384M91 | Шланг и головка цилиндра ковша в сборе | |
| 27 | 6102383M91 | Шланг и шток цилиндра ковша в сборе | |
| 28 | 1876229M1 | Кабельная стяжка | |
| 29 | 1H0147 | Цилиндр управления ковша погрузочного | |
| 30 | 815-00-33.01.000 | Кронштейн крепления труб | |
| 31 | 3009505X1 | Болт | |
| 32 | 385363X1 | Гайка | |
| 33 | 6100591M91 | Труба-переходник | |
| 34 | 355574X1 | Гайка | |
| 35 | 835007M91 | Угольник | |
| 36 | Угольник | Угольник | |
| 37 | 835025M1 | Уплотнение | |
| 38 | 6102381M91 | Труба в сборе | |
| 39 | 835013M91 | Муфта в сборе | |
| 40 | 358735X1 | Муфта | |
| 41 | 835024M1 | Уплотнение | |
| 42 | 6101690M1 | Заклепка Гайка |
Содержащиеся в справочниках-каталогах запасные части и детали не предлагаются к продаже, а носят исключительно информационный характер