Вернуться на главную
Поиск
Каталоги запчастей к технике
Спецтехника
ТВЭКС
ТЭП-18
ЭО-3323А.07.21.010-10 Гидрораспределитель
Каталог запасных частей к технике: ТВЭКС ТЭП-18. ЭО-3323А.07.21.010-10 Гидрораспределитель
zoom-in
zoom-out
enlarge
shrink
circle-right
circle-left
file-text2
info
cart
Тип техники
Не выбрано
Легковые автомобили
Грузовые автомобили и прицепы
Автобусы
Сельхозтехника
Спецтехника
Двигатели
Мототехника
Марка
Не выбрано
Ammann
BOMAG
CARMIX
CASE IH
Changlin
ChengGong
Dimex
Doosan
DYNAPAC
Foton
HAMM
Hidromek
Hitachi
Hyundai
JCB
JLG
John Deere
Komatsu
LIEBHERR
LiuGong
Lonking (LongGong)
Luneng
MANITOU
Mitsuber
New Holland
PENGPU
RM-Terex
SANY
SDLG
SEM
Shantui
Shehwa HBXG
Soosan
TIGARBO
VOGELE
Volvo
WAY
WIRTGEN
XCMG
XGMA
Xiamen
YTO
Yuchai
Zoomlion
Автокран
АЗСМ
Алтайлесмаш
Амкодор
АОМЗ
Атек
АТЗ
Балканкар Рекорд
БелАЗ
Беловеж
Борекс
Брянский Арсенал
Булат
ВЭКС
ГАЗ
Геомаш
Гидромаш
Донекс
Дормаш
Дормашина
Дорэлектромаш
ДЭЗ
ЕлАЗ
ЗЗГТ
Ижнефтемаш
Канаш-электрокар
КЗКТ
ККЗ
Клевер
Клинцовский автокрановый завод
КМЗ
КМЗ 1 Мая
Ковровец
Коммаш
Кранэкс
КЭЗ
КЭМЗ
ЛЗА
МАЗ
МЗИК
МЗКМ
МЗКТ
Михневский РМЗ
МоАЗ
Мозырский МЗ
МТЗ
ОЗП
Онежец
ПАО "ТЗА"
ППС Детва
Промтрактор
ПТЗ
Раскат
СпецАгрегат
ТВЭКС
ТТМ
УВЗ
Угличмаш
УЗТМ
ХТЗ
ЧЗКМ
ЧСДМ
ЧТЗ
ЭКСКО
ЭКСМАШ
ЮрМаш
Модель
Не выбрано
5846ТМ (ЕА17) (2010)
E145W (ЕК-14)
E145W (ЕК-14) (2005)
E185W (ЕК-18)
E185W (ЕК-18) (2005)
E185W (ЕК-18) (2008)
E225LC (2022)
E225NLC (2022)
TLB 825 (2016)
TLB 825 (2017)
TLB 825 (2019)
TLB 935 (2020)
TLB 935 (2021)
TVEX-140W (2015)
TVEX-180i (2015)
TVEX-180W (2015)
TX220LC (2019)
TX220NLC (2019)
WX200 (2019)
WХ-200 (2015)
WХ-200 (2017) (2017)
ВП-03 (2005)
ВП-05
ВП-05 (2015)
ВП-05 (2005) (2005)
ВП-05 (вариант) (2005)
Е200СН (2018)
Е245СН (2018)
ЕК-12 (2005)
ЕК-12 (2007) (2007)
ЕК-12 (2013) (2013)
ЕК-14-20 (2013)
ЕК-14-90 (2011)
ЕК-14-90 (2015)
ЕК-18-20 (2010)
ЕК-18-40 (2005)
ЕК-18-45-60 (2008)
ЕК-18-90 (2012)
ЕК-18-90 (2015)
ЕК-20-20 (2010)
ЕТ-16 (2005)
ЕТ-16-20 (2007)
ЕТ-18-20 (2005)
ЕТ-20-20 (2012)
ЕТ-25
ЕТ-25-20 (2007)
ЕТ-26i (2010)
ЕТ-26i (2015)
ТХ-210 (2015)
ТХ-210 (2017)
ТХ-220 (2017)
ТХ-270 / 300 (2017)
ТЭП-18 (2012)
ЭО-3122
ЭО-3323
ЭО-3323А (2002)
ЭО-3326 (2000)
ЭОВ-3521 (2007)
ЭОВ-3521М-1 (2007)
ЭОВ-3521М-1 (2017)
ЭОВ-3521М-1 (2017)
Схема
>
Не выбрано
422-10-00.00.000 Экскаватор-планировщик на автомобильном ходу ТЭП-18
422-10-20.00.000 Платформа поворотная с механизмами
422-00-80.00.000 Гидрооборудование на поворотной платформе
422-00-80.01.000-10 Трубопроводы на поворотной платформе
422-00-520.00 Гидрораспределитель
520.10.00.000 Секция рабочая (опоры)
520.20.50.100 Секция рабочая (добавка хода, гидромолот)
520.20.51.000 Секция рабочая (поворот)
520.20.01.000 Клапан подпиточный
520.20.53.100 Секция рабочая (ковш)
520.20.50.200 Секция рабочая (рукоять)
520.21.65.000 Секция напорно-сливная
520.21.75.000 Напорно-сливная секция
520.32.00.000-20 Блок клапанов «ИЛИ»
314-02-80.01.600 Клапан предохранительный
ЭО-3323А.08.07.110-20 Клапан подпорный
402.90.00.030 Гидрораспределитель
422-00-80.04.000 Гидроуправление на поворотной платформе (монтажная схема)
ЭО-3323.07.10.010-10 Гидрораспределитель
ЭО-3323А.07.21.010-10 Гидрораспределитель
ЭО-3323А.07.15.020 Клапан «ИЛИ»
ЭО-3323А.07.15.020-10 Клапан «ИЛИ»
ЭО-3332А.49.01.140-10 Клапан «ИЛИ»
13.80.04.800 Блок управления
13.80.04.920-20 Блок управления
13.80.04.940 Блок управления
13.80.04.960-10 Блок управления
64002.10.000-10 Пневмогидроаккумулятор
64011.10.000-10 Блок гидроклапанов
422-00-80.08.000 Бак гидравлический
314-20-80.06.000 Установка маслоохладительная
422-00-03.00.000 Установка силовая
422-00-03.01.000 Установка глушителя
422-00-03.02.000 Установка радиаторов
422-00-03.03.000 Установка агрегата насосного
422-00-06.00.000 Установка бака топливного
312-20-02.00.000-30 Кабина
312-20-02.30.000 Рамка верхняя
312-20-02.40.000 Дверь в сборе
312-20-02.42.000 Установка замков
312-20-02.50.000 Установка люка
312-20-02.80.000 Установка зеркала заднего вида
422-00-87.60.000 Установка подогревателя
225-10-86.91.000-71 Управление экскаватором
225-10-86.91.200-60 Пульт правый
312-20-86.90.200-90 Пульт левый
320-10-07.00.000 Механизм поворота
422-00-60.00.000 Ход пневмоколесный
422-00-60.72.000 Гидрооборудование на ходовой раме
422-00-60.72.100 Коллектор
418-00-50.72.100, (418-00-50.72.200) Гидроцилиндр выносных опор правый (левый)
125-80-04.03.000 Гидроцилиндр
13.71.80.670-10, (13.71.80.680-10) Гидрозамок двухсторонний
422-00-88.66.000 Электрооборудование
422-00-29.00.000-10 Установка рабочего оборудования
125-70-10.00.000 Гидроцилиндр
125-70-10.00.000-10 Гидроцилиндр
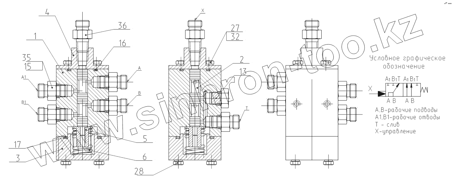
1
2
3
4
5
6
13
15
16
17
27
28
32
35
36
Позиция на иллюстрации
Заводской номер детали
Название детали
1
ЭО-3323А.07.21.011
Корпус
2
ЭО-3323А.07.21.012
Золотник
3
ЭО-3323А.07.21.013
Крышка
4
ЭО-3323.07.10.011
Крышка
5
ЭО-3323.07.10.014
Тарелка
6
ЭО-3323.07.10.015-10
Пружина
13
ЭО-3322А.24.01.014
Заглушка
15
012-016-25-2-2
Кольцо
16
030-035-30-1-2
Кольцо
17
038-044-36-2-3
Кольцо
27
М6-6gх16.58.016
Болт
28
М6-6gх35.58.016
Болт
32
6.65Г.016
Шайба
35
100406.1
Адаптер
36
101806.1
Адаптер
Содержащиеся в справочниках-каталогах запасные части и детали не предлагаются к продаже, а носят исключительно информационный характер
Дополнительная информация
×
Название:
Номер:
Примечание: