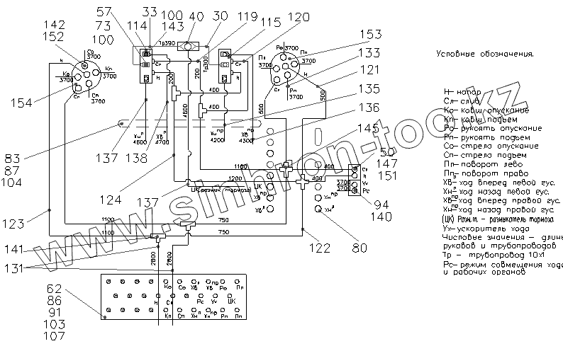
Каталог запасных частей к технике: ТВЭКС ЕТ-26i. 842251450100 60 Гидроуправление в кабине
30
33
40
50
57
62
73
80
83
86
87
91
94
100
100
103
104
107
114
115
119
120
122
123
124
131
133
135
136
137
137
138
140
141
142
143
145
147
151
152
153
154
| Позиция на иллюстрации | Заводской номер детали | Название детали | |
|---|---|---|---|
| 30 | 00013072137000 | Трубопровод | |
| 33 | 00013071538000 | Трубопровод | |
| 40 | 31430800402000 | Клапан «ИЛИ» | |
| 50 | 00013800494000 | Блок управления | |
| 57 | 01600800401000 | Переходник | |
| 62 | 31840800400100 | Планка | |
| 73 | 01600800400100 | Болт | |
| 80 | 00001112004101 | Втулка предохранительная | |
| 83 | 00018150100100 | Планка | |
| 86 | 00002640012101 | Болт M8-6gx20.58.016 | |
| 87 | 00002640022101 | Болт М10-6gх20.58.016 | |
| 91 | 00002641060801 | Гайка М8-6Н.5.016 | |
| 94 | 00006421000501 | Кольцо 012-016-25-2-3 | |
| 100 | 00000233581400 | Прокладка | |
| 103 | 00002644020501 | Шайба 8.65Г.016 | |
| 104 | 00002644020601 | Шайба 10.65Г.016 | |
| 107 | 00002644060801 | Шайба С8.01.08кп.016 | |
| 114 | 00010006007401 | Блок управления | |
| 115 | 00010006007501 | Блок управления | |
| 119 | 00006417000401 | Рукав высокого давления | |
| 120 | 00006417000501 | Рукав высокого давления | |
| 122 | 00006417001201 | Рукав высокого давления | |
| 123 | 00006417001701 | Рукав высокого давления | |
| 124 | 00006417001901 | Рукав высокого давления | |
| 131 | 00006417003101 | РВД | |
| 133 | 00006417004501 | РВД | |
| 135 | 00006417005201 | РВД | |
| 136 | 00006417005301 | Рукав высокого давления | |
| 137 | 00006417005501 | РВД | |
| 138 | 00006417005801 | РВД | |
| 140 | 00002648200101 | Адаптер | |
| 141 | 00002648200701 | Адаптер | |
| 142 | 00002648201101 | Адаптер | |
| 143 | 00002648200301 | Адаптер | |
| 145 | 00002648200901 | Адаптер | |
| 147 | 00002648200401 | Адаптер | |
| 151 | Loctite542 | Герметик | |
| 152 | 00006431250301 | Прокладка | |
| 153 | 00010240150101 | Джойстик правый | |
| 154 | 00010240150201 | Клапан |
Содержащиеся в справочниках-каталогах запасные части и детали не предлагаются к продаже, а носят исключительно информационный характер