Вернуться на главную
Поиск
Каталоги запчастей к технике
Спецтехника
ТВЭКС
ЕТ-26i
4225А.17.90.160 Клапан предохранительный
Каталог запасных частей к технике: ТВЭКС ЕТ-26i. 4225А.17.90.160 Клапан предохранительный
zoom-in
zoom-out
enlarge
shrink
circle-right
circle-left
file-text2
info
cart
Тип техники
Не выбрано
Легковые автомобили
Грузовые автомобили и прицепы
Автобусы
Сельхозтехника
Спецтехника
Двигатели
Мототехника
Марка
Не выбрано
Ammann
BOMAG
CARMIX
CASE IH
Changlin
ChengGong
Dimex
Doosan
DYNAPAC
Foton
HAMM
Hidromek
Hitachi
Hyundai
JCB
JLG
John Deere
Komatsu
LIEBHERR
LiuGong
Lonking (LongGong)
Luneng
MANITOU
Mitsuber
New Holland
PENGPU
RM-Terex
SANY
SDLG
SEM
Shantui
Shehwa HBXG
Soosan
TIGARBO
VOGELE
Volvo
WAY
WIRTGEN
XCMG
XGMA
Xiamen
YTO
Yuchai
Zoomlion
Автокран
АЗСМ
Алтайлесмаш
Амкодор
АОМЗ
Атек
АТЗ
Балканкар Рекорд
БелАЗ
Беловеж
Борекс
Брянский Арсенал
Булат
ВЭКС
ГАЗ
Геомаш
Гидромаш
Донекс
Дормаш
Дормашина
Дорэлектромаш
ДЭЗ
ЕлАЗ
ЗЗГТ
Ижнефтемаш
Канаш-электрокар
КЗКТ
ККЗ
Клевер
Клинцовский автокрановый завод
КМЗ
КМЗ 1 Мая
Ковровец
Коммаш
Кранэкс
КЭЗ
КЭМЗ
ЛЗА
МАЗ
МЗИК
МЗКМ
МЗКТ
Михневский РМЗ
МоАЗ
Мозырский МЗ
МТЗ
ОЗП
Онежец
ПАО "ТЗА"
ППС Детва
Промтрактор
ПТЗ
Раскат
СпецАгрегат
ТВЭКС
ТТМ
УВЗ
Угличмаш
УЗТМ
ХТЗ
ЧЗКМ
ЧСДМ
ЧТЗ
ЭКСКО
ЭКСМАШ
ЮрМаш
Модель
Не выбрано
5846ТМ (ЕА17) (2010)
E145W (ЕК-14)
E145W (ЕК-14) (2005)
E185W (ЕК-18)
E185W (ЕК-18) (2005)
E185W (ЕК-18) (2008)
E225LC (2022)
E225NLC (2022)
TLB 825 (2016)
TLB 825 (2017)
TLB 825 (2019)
TLB 935 (2020)
TLB 935 (2021)
TVEX-140W (2015)
TVEX-180i (2015)
TVEX-180W (2015)
TX220LC (2019)
TX220NLC (2019)
WX200 (2019)
WХ-200 (2015)
WХ-200 (2017) (2017)
ВП-03 (2005)
ВП-05
ВП-05 (2015)
ВП-05 (2005) (2005)
ВП-05 (вариант) (2005)
Е200СН (2018)
Е245СН (2018)
ЕК-12 (2005)
ЕК-12 (2007) (2007)
ЕК-12 (2013) (2013)
ЕК-14-20 (2013)
ЕК-14-90 (2011)
ЕК-14-90 (2015)
ЕК-18-20 (2010)
ЕК-18-40 (2005)
ЕК-18-45-60 (2008)
ЕК-18-90 (2012)
ЕК-18-90 (2015)
ЕК-20-20 (2010)
ЕТ-16 (2005)
ЕТ-16-20 (2007)
ЕТ-18-20 (2005)
ЕТ-20-20 (2012)
ЕТ-25
ЕТ-25-20 (2007)
ЕТ-26i (2010)
ЕТ-26i (2015)
ТХ-210 (2015)
ТХ-210 (2017)
ТХ-220 (2017)
ТХ-270 / 300 (2017)
ТЭП-18 (2012)
ЭО-3122
ЭО-3323
ЭО-3323А (2002)
ЭО-3326 (2000)
ЭОВ-3521 (2007)
ЭОВ-3521М-1 (2007)
ЭОВ-3521М-1 (2017)
ЭОВ-3521М-1 (2017)
Схема
>
Не выбрано
ЕТ26.27.23.33.00 Экскаватор
261.27.00.000 Тележка
4125.16.66.000-02 Каток
4125.16.66.450 Каток со втулками
4227.16.28.000-01 Механизм натяжения
4227.16.28.100-01 Гидроцилиндр
4227.16.24.100 Колесо натяжное в сборе
4127.16.03.150 Колесо натяжное
261.27.02.000 Гидроразводка тележки
4225А.16.22.180-02 Коллектор в сборе
261.01.02.030 Блок клапанов
262.23.00.000 Платформа поворотная с механизмами
262.22.00.300 Подключение отопителя
262.01.00.500-01 Установка подогревателя
262.22.01.000 Механизм подъёма кабины
318-45-31.08.000 Установка централизованной смазки
060-40-06.02.000-01, 060-40-06.03.000-01 Гидроцилиндр подъёма правый (левый)
262.43.00.000 Установка силовая
262.40.01.000 Установка радиаторов
262.40.03.500-01 Механизм управления двигателем
262.43.04.000 Установка агрегата насосного
262.42.05.000 Установка глушителя
4225А.11.47.300 Вентилятор в сборе
262.40.02.500 Система питания
262.54.00.000 Гидросистема силовая
262.53.00.010 Гидрораспределитель с блоком клапанов
262.63.00.000-10 Кабина с оборудованием
312-20-02.00.000-20 Кабина
312-20-02.50.000 Установка люка
312-20-02.40.000 Дверь
312-20-02.42.000 Установка замков
312-20-02.80.000, 312-20-02.80.000-10, 312-20-02.80.000-20 Установка зеркала заднего вида
312-20-02.30.000 Рамка верхняя
262.75.00.000 Установка контргруза
262.78.50.000 Установка капотов
005-01-02.04.100 Замок
262.76.02.000 Блок левый
262.78.03.000 Блок правый
262.76.04.000 Крыша в сборе
262.78.07.000 Настил верхний
МЛ-119А.03.10.200 Установка замка
262.78.02.100 Дверь левая
225-10-86.91.000-40 Управление экскаватором
225-10-86.91.200-40 Пульт правый
312-20-86.90.200-60 Пульт левый
262.65.02.000 Электрооборудование в кабине
4225.14.50.200 Установка рычагов
4225.14.50.100-60 Гидрооборудование в кабине
262.66.31.000 Электрооборудование
262.65.10.100 Установка аккумуляторов
262.66.31.200 Установка фар на рабочем оборудовании
262.72.03.000 Установка баков
262.70.01.200-01 Бак гидравлический
262.72.02.000 Бак топливный
262.82.00.000 Установка механизма поворота
262.93.00.000 Гидросистема управления
262.91.00.020 Гидрораспределитель
402.90.00.030 Гидрораспределитель
262.91.00.030 Блок питания
402.90.00.040 Блок клапанов
4225А.17.90.160 Клапан предохранительный
4225А.17.92.040 Блок клапанов
263.33.00.000 Рабочее оборудование для переработки и погрузки металлолома
263.31.10.000 Стрела
263.31.30.000 Рукоять
263.31.45.000 Гидроцилиндр
263.31.39.000-01 Гидроразводка рабочего оборудования
263.31.96.000 Централизованная смазка
140-90-23.20.999-05 Гидроцилиндр
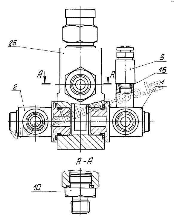
1
2
5
10
16
25
Позиция на иллюстрации
Заводской номер детали
Название детали
1
4225А.17.90.170
Соединение поворотное
2
4225А.17.90.180
Соединение поворотное
5
4225А.19.27.000
Переходник манометра
10
4225А.17.90.161
Штуцер
16
9833.011-015-25-2-2
Кольцо
25
У462.815.1У1
Гидроклапан предохранительный
Содержащиеся в справочниках-каталогах запасные части и детали не предлагаются к продаже, а носят исключительно информационный характер
Дополнительная информация
×
Название:
Номер:
Примечание: