Каталог запасных частей к технике: ТВЭКС ЕТ-25. Установка силовая
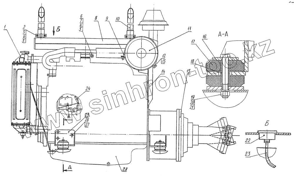
1
2
3
4
4
5
5
6
7
8
9
10
11
12
13
14
15
16
17
18
19
20
21
22
23
24
25
26
27
28
| Позиция на иллюстрации | Заводской номер детали | Название детали | |
|---|---|---|---|
| 1 | 225-00-03.03.000 | Установка радиатора | |
| 2 | ЭО-3323.04.00.002 | Планка | |
| 3 | ЭО-3323.04.00.003 | Хомут | |
| 4 | 5915.М10-6Н.5.019 | Гайка | |
| 5 | 11371.10.01.019 | Шайба | |
| 6 | 225-00-03.00.012 | Хомут | |
| 7 | 7798.М10-8gх35.58.019 | Болт | |
| 8 | 225-00-03.05.000 | Глушитель | |
| 9 | 225-00-03.00.013 | Хомут | |
| 10 | 225-00-03.06.000 | Труба выхлопная | |
| 11 | 260-1109005 | Воздухоподводящий тракт | |
| 12 | 5915.М8-7Н.5.019 | Гайка | |
| 13 | 11371.8.01.019 | Шайба | |
| 14 | 225-00-03.04.000 | Кронштейн воздухоочистителя | |
| 15 | 225-00-03.01.000 | Установка насоса | |
| 16 | ЭО-3322А.02.00.010 | Шайба упорная | |
| 17 | ЭО-3322А.02.00.012 | Подушка резиновая | |
| 18 | ЭО-3322Б.13.00.003 | Втулка | |
| 19 | 7798.М16-6gх110.58.019 | Болт | |
| 20 | 5915.М16-6Н.5.019 | Гайка | |
| 21 | 6402.16.65Г.019 | Шайба | |
| 22 | ТХ-131 | Тахомотосчетчик | |
| 23 | 12391.ГВН-20Г-01 | Гибкий вал | |
| 24 | 225-00-03.02.000 | Топливопроводы и управление подачей топлива | |
| 25 | 225-00-03.07.000 | Опора передняя | |
| 26 | 7798.М14-8gх45.58.019 | Болт | |
| 27 | 6402.14.65Г.019 | Шайба | |
| 28 | 260-0000100-03 ТУ23.3.03-86 | Двигатель Д-260.1 |
Содержащиеся в справочниках-каталогах запасные части и детали не предлагаются к продаже, а носят исключительно информационный характер