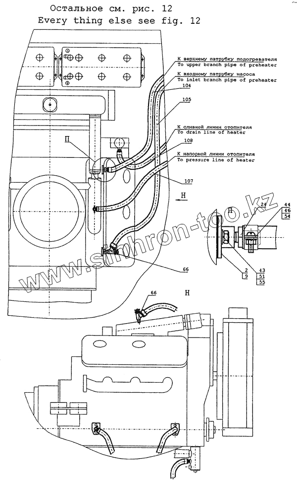
Каталог запасных частей к технике: ТВЭКС ЕТ-25. Установка предпускового подогрева двигателя и отопления кабины
2
9
24
43
44
46
51
54
55
66
66
| Позиция на иллюстрации | Заводской номер детали | Название детали | |
|---|---|---|---|
| 1 | 225-00-87.25.100 | Площадка | |
| 2 | 225-00-87.25.200 | Фланец | |
| 5 | 314-02-87.12.100 | Площадка | |
| 6 | 314-02-87.12.200 | Кожух | |
| 8 | 710-00-87.50.100 | Бачок топливный | |
| 9 | 225-06-87.25.001 | Прокладка | |
| 10 | 620-00-87.10.001 | Штуцер | |
| 11 | 13.01.12.002 | Кнопка | |
| 12 | 13.01.12.003 | Тройник | |
| 13 | ЭО-3323А.01.10.001 | Рукоятка | |
| 14 | ЭО-3323А.01.10.002 | Пружина | |
| 15 | ЭО-3323А.01.10.003 | Шпилька | |
| 16 | ЭО-3323А.01.10.004 | Ось | |
| 17 | ЭО-3323А.01.10.005 | Рычаг | |
| 18 | ЭО-3323А.01.10.006 | Планка | |
| 19 | ЭО-3323А.01.10.007 | Заслонка | |
| 21 | 16.03.14.001 | Крышка | |
| 22 | 16.03.14.002 | Прокладка | |
| 23 | 16.03.14.003 | Крышка | |
| 24 | ЭО-3123.31.12.302 | Штуцер | |
| 27 | ЭО-3323.04.04.016 | Хомут | |
| 31 | ЭО-3322А.09.30.102 | Серьга | |
| 32 | ЭО-3322А.09.30.103 | Лента | |
| 34 | Э-302-1-1600-14 | Хомутик | |
| 40 | 7798.М6-8gх.16.58.019 | Болт | |
| 41 | 7798.ВМ8-8gх36.58.019 | Болт | |
| 42 | 7798.ВМ10-8gх20.58.019 | Болт | |
| 43 | 7798.ВМ8-8gх20.58.019 | Болт | |
| 44 | 17473.В1М6-8gх22.58.019 | Винт | |
| 46 | 5915.М6-7Н.5.019 | Гайка | |
| 47 | 5915.М8-7Н.5.019 | Гайка | |
| 48 | 5915.М10-7Н.5.019 | Гайка | |
| 50 | 6402.6.65Г.019 | Шайба | |
| 51 | 6402.8.65Г.019 | Шайба | |
| 52 | 6402.10.65Г.019 | Шайба | |
| 54 | 11371.6.01.019 | Шайба | |
| 55 | 11371.8.01.019 | Шайба | |
| 56 | 11371.10.01.019 | Шайба | |
| 60 | 397.3,2х20.019 | Шплинт | |
| 61 | 23358.14М3 | Прокладка | |
| 65 | ОСТ37001-240-81.ПС7 | Кран | |
| 66 | 0СТ37001-240-81.ВС11 | Кран | |
| 67 | ОСТ37001-240-81.КР12 | Кран | |
| 69 | 159-8101010 | Отопитель | |
| 70 | 15.8106 | Подогреватель жидкостный | |
| 75 | 240-1117010 | Фильтр топливный тонкой очистки | |
| 78 | 35.3730 | Электродвигатель с насосом | |
| 80 | 10362.6х14-1,6 | Рукав L=700+/-10мм | |
| 81 | 10362.6х14-1,6 | Рукав L=700+/-10мм | |
| 82 | 10362.6х14-1,6 | Рукав L=700+/-10мм | |
| 85 | ТУ381051731.16-1,0-ВГ | Рукав L=1300+/-10мм | |
| 86 | ТУ381051731.16-1,0-ВГ | Рукав L=1300+/-10мм | |
| 87 | ТУ381051731.16-1,0-ВГ | Рукав L=1300+/-10мм | |
| 89 | ТУ381051731.16-1.0-ВГ | Рукав L=550+/-10мм | |
| 90 | ТУ381051731.16-1,0-ВГ | Рукав L=1300+/-10мм | |
| 91 | ТУ381051731.16-1,0-ВГ | Рукав L=1300+/-10мм | |
| 92 | ТУ381051731.16-1.0-ВГ | Рукав L=550+/-10мм | |
| 93 | ТУ381051731.16-1,0-ВГ | Рукав L=1300+/-10мм | |
| 94 | ТУ381051731.16-1,0-ВГ | Рукав L=1300+/-10мм | |
| 98 | ОСТ3865183-80.МИ 03-21 | Профиль губчатый 1=280 мм |
Содержащиеся в справочниках-каталогах запасные части и детали не предлагаются к продаже, а носят исключительно информационный характер