Вернуться на главную
Поиск
Каталоги запчастей к технике
Спецтехника
ТВЭКС
ЕТ-25
Гидрораспределитель
Каталог запасных частей к технике: ТВЭКС ЕТ-25. Гидрораспределитель
zoom-in
zoom-out
enlarge
shrink
circle-right
circle-left
file-text2
info
cart
Тип техники
Не выбрано
Легковые автомобили
Грузовые автомобили и прицепы
Автобусы
Сельхозтехника
Спецтехника
Двигатели
Мототехника
Марка
Не выбрано
Ammann
BOMAG
CARMIX
CASE IH
Changlin
ChengGong
Dimex
Doosan
DYNAPAC
Foton
HAMM
Hidromek
Hitachi
Hyundai
JCB
JLG
John Deere
Komatsu
LIEBHERR
LiuGong
Lonking (LongGong)
Luneng
MANITOU
Mitsuber
New Holland
PENGPU
RM-Terex
SANY
SDLG
SEM
Shantui
Shehwa HBXG
Soosan
TIGARBO
VOGELE
Volvo
WAY
WIRTGEN
XCMG
XGMA
Xiamen
YTO
Yuchai
Zoomlion
Автокран
АЗСМ
Алтайлесмаш
Амкодор
АОМЗ
Атек
АТЗ
Балканкар Рекорд
БелАЗ
Беловеж
Борекс
Брянский Арсенал
Булат
ВЭКС
ГАЗ
Геомаш
Гидромаш
Донекс
Дормаш
Дормашина
Дорэлектромаш
ДЭЗ
ЕлАЗ
ЗЗГТ
Ижнефтемаш
Канаш-электрокар
КЗКТ
ККЗ
Клевер
Клинцовский автокрановый завод
КМЗ
КМЗ 1 Мая
Ковровец
Коммаш
Кранэкс
КЭЗ
КЭМЗ
ЛЗА
МАЗ
МЗИК
МЗКМ
МЗКТ
Михневский РМЗ
МоАЗ
Мозырский МЗ
МТЗ
ОЗП
Онежец
ПАО "ТЗА"
ППС Детва
Промтрактор
ПТЗ
Раскат
СпецАгрегат
ТВЭКС
ТТМ
УВЗ
Угличмаш
УЗТМ
ХТЗ
ЧЗКМ
ЧСДМ
ЧТЗ
ЭКСКО
ЭКСМАШ
ЮрМаш
Модель
Не выбрано
5846ТМ (ЕА17) (2010)
E145W (ЕК-14)
E145W (ЕК-14) (2005)
E185W (ЕК-18)
E185W (ЕК-18) (2005)
E185W (ЕК-18) (2008)
E225LC (2022)
E225NLC (2022)
TLB 825 (2016)
TLB 825 (2017)
TLB 825 (2019)
TLB 935 (2020)
TLB 935 (2021)
TVEX-140W (2015)
TVEX-180i (2015)
TVEX-180W (2015)
TX220LC (2019)
TX220NLC (2019)
WX200 (2019)
WХ-200 (2015)
WХ-200 (2017) (2017)
ВП-03 (2005)
ВП-05
ВП-05 (2015)
ВП-05 (2005) (2005)
ВП-05 (вариант) (2005)
Е200СН (2018)
Е245СН (2018)
ЕК-12 (2005)
ЕК-12 (2007) (2007)
ЕК-12 (2013) (2013)
ЕК-14-20 (2013)
ЕК-14-90 (2011)
ЕК-14-90 (2015)
ЕК-18-20 (2010)
ЕК-18-40 (2005)
ЕК-18-45-60 (2008)
ЕК-18-90 (2012)
ЕК-18-90 (2015)
ЕК-20-20 (2010)
ЕТ-16 (2005)
ЕТ-16-20 (2007)
ЕТ-18-20 (2005)
ЕТ-20-20 (2012)
ЕТ-25
ЕТ-25-20 (2007)
ЕТ-26i (2010)
ЕТ-26i (2015)
ТХ-210 (2015)
ТХ-210 (2017)
ТХ-220 (2017)
ТХ-270 / 300 (2017)
ТЭП-18 (2012)
ЭО-3122
ЭО-3323
ЭО-3323А (2002)
ЭО-3326 (2000)
ЭОВ-3521 (2007)
ЭОВ-3521М-1 (2007)
ЭОВ-3521М-1 (2017)
ЭОВ-3521М-1 (2017)
Схема
>
Не выбрано
Сиденье машиниста
Сиденье машиниста
Установка предпускового подогрева двигателя и отопления кабины
Установка предпускового подогрева двигателя и отопления кабины
Платформа поворотная с механизмами
Механизм поворота
Установка силовая
Установка насоса
Установка силовая
Установка насоса
Топливопроводы и управление подачей топлива
Топливопроводы и управление подачей топлива
Топливопроводы и управление подачей топлива
Установка радиатора
Установка радиаторов
Привод хода
Тележка гусеничная
Колесо направляющее
Каток опорный
Механизм натяжения гусеничной цепи
Пост управления
Пост управления
Консоль правая
Пульт правый
Консоль левая
Электрооборудование (с двигателем ЯМЗ-236)
Электрооборудование (с двигателем ЯМЗ-236)
Электрооборудование (с двигателем ЯМЗ-236)
Электрооборудование (с двигателем ЯМЗ-236)
Электрооборудование (с двигателем ЯМЗ-236)
Щиток приборов
Гидрооборудование на ходовой раме
Коллектор
Клапан подпорный
Клапан предохранительный
Блок переливных клапанов
Гидрораспределитель
Секция рабочая (ход)
Секция рабочая (поворот)
Клапан подпиточный
Секция рабочая (гидромолот)
Напорно-сливная секция
Секция рабочая (стрела)
Блок клапанов "ИЛИ"
Секция рабочая (ковш)
Секция рабочая (рукоять)
Напорно-сливная секция
Секция рабочая (добавка рукояти)
Гидрораспределитель
Гидроуправление на поворотной платформе
Пневмогидроаккумулятор с гидроклапанами
Гидрораспределитель
Гидрораспределитель
Блок управления левый\правый
Блок управления
Блок управления
Клапан "ИЛИ"
Клапан "ИЛИ"
Трубопроводы на поворотной платформе с двигателем Д-260.1
Трубопроводы на поворотной платформе с двигателем ЯМЗ-236
Гидроцилиндр
Гидроцилиндр
Гидроцилиндр
Гидроцилиндр
Бак гидравлический
Рабочее оборудование обратной лопаты
Ковш обратной лопаты
Экскаватор гусеничный гидравлический ЕТ-25
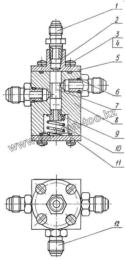
1
2
3
4
5
6
7
8
9
10
11
12
Позиция на иллюстрации
Заводской номер детали
Название детали
1
ЭО-3322А.24.00.005
Штуцер
2
ЭО-3323.07.10.011
Крышка
3
17473.М6х8g-12.58.019
Винт
4
6402.6.65Г.019
Шайба
5
9833.030-035-30-1-2
Кольцо
6
9833.012-016-25-2-2
Кольцо
7
ЭО-3323.07.10.012
Золотник
8
ЭО-3323.07.10.013
Корпус
9
ЭО-3323.07.10.014
Тарелка
10
ЭО-3323.07.10.015
Пружина
11
ЭО-3323.07.10.016
Крышка
12
ЭО-3322А.24.01.006
Штуцер
Содержащиеся в справочниках-каталогах запасные части и детали не предлагаются к продаже, а носят исключительно информационный характер
Дополнительная информация
×
Название:
Номер:
Примечание: