Вернуться на главную
Поиск
Каталоги запчастей к технике
Спецтехника
ТВЭКС
ЕТ-25-20
222-00.43.610 Колесо направляющее
Каталог запасных частей к технике: ТВЭКС ЕТ-25-20. 222-00.43.610 Колесо направляющее
zoom-in
zoom-out
enlarge
shrink
circle-right
circle-left
file-text2
info
cart
Тип техники
Не выбрано
Легковые автомобили
Грузовые автомобили и прицепы
Автобусы
Сельхозтехника
Спецтехника
Двигатели
Мототехника
Марка
Не выбрано
Ammann
BOMAG
CARMIX
CASE IH
Changlin
ChengGong
Dimex
Doosan
DYNAPAC
Foton
HAMM
Hidromek
Hitachi
Hyundai
JCB
JLG
John Deere
Komatsu
LIEBHERR
LiuGong
Lonking (LongGong)
Luneng
MANITOU
Mitsuber
New Holland
PENGPU
RM-Terex
SANY
SDLG
SEM
Shantui
Shehwa HBXG
Soosan
TIGARBO
VOGELE
Volvo
WAY
WIRTGEN
XCMG
XGMA
Xiamen
YTO
Yuchai
Zoomlion
Автокран
АЗСМ
Алтайлесмаш
Амкодор
АОМЗ
Атек
АТЗ
Балканкар Рекорд
БелАЗ
Беловеж
Борекс
Брянский Арсенал
Булат
ВЭКС
ГАЗ
Геомаш
Гидромаш
Донекс
Дормаш
Дормашина
Дорэлектромаш
ДЭЗ
ЕлАЗ
ЗЗГТ
Ижнефтемаш
Канаш-электрокар
КЗКТ
ККЗ
Клевер
Клинцовский автокрановый завод
КМЗ
КМЗ 1 Мая
Ковровец
Коммаш
Кранэкс
КЭЗ
КЭМЗ
ЛЗА
МАЗ
МЗИК
МЗКМ
МЗКТ
Михневский РМЗ
МоАЗ
Мозырский МЗ
МТЗ
ОЗП
Онежец
ПАО "ТЗА"
ППС Детва
Промтрактор
ПТЗ
Раскат
СпецАгрегат
ТВЭКС
ТТМ
УВЗ
Угличмаш
УЗТМ
ХТЗ
ЧЗКМ
ЧСДМ
ЧТЗ
ЭКСКО
ЭКСМАШ
ЮрМаш
Модель
Не выбрано
5846ТМ (ЕА17) (2010)
E145W (ЕК-14)
E145W (ЕК-14) (2005)
E185W (ЕК-18)
E185W (ЕК-18) (2005)
E185W (ЕК-18) (2008)
E225LC (2022)
E225NLC (2022)
TLB 825 (2016)
TLB 825 (2017)
TLB 825 (2019)
TLB 935 (2020)
TLB 935 (2021)
TVEX-140W (2015)
TVEX-180i (2015)
TVEX-180W (2015)
TX220LC (2019)
TX220NLC (2019)
WX200 (2019)
WХ-200 (2015)
WХ-200 (2017) (2017)
ВП-03 (2005)
ВП-05
ВП-05 (2015)
ВП-05 (2005) (2005)
ВП-05 (вариант) (2005)
Е200СН (2018)
Е245СН (2018)
ЕК-12 (2005)
ЕК-12 (2007) (2007)
ЕК-12 (2013) (2013)
ЕК-14-20 (2013)
ЕК-14-90 (2011)
ЕК-14-90 (2015)
ЕК-18-20 (2010)
ЕК-18-40 (2005)
ЕК-18-45-60 (2008)
ЕК-18-90 (2012)
ЕК-18-90 (2015)
ЕК-20-20 (2010)
ЕТ-16 (2005)
ЕТ-16-20 (2007)
ЕТ-18-20 (2005)
ЕТ-20-20 (2012)
ЕТ-25
ЕТ-25-20 (2007)
ЕТ-26i (2010)
ЕТ-26i (2015)
ТХ-210 (2015)
ТХ-210 (2017)
ТХ-220 (2017)
ТХ-270 / 300 (2017)
ТЭП-18 (2012)
ЭО-3122
ЭО-3323
ЭО-3323А (2002)
ЭО-3326 (2000)
ЭОВ-3521 (2007)
ЭОВ-3521М-1 (2007)
ЭОВ-3521М-1 (2017)
ЭОВ-3521М-1 (2017)
Схема
>
Не выбрано
225-20-00.00.000 Экскаватор гусеничный гидравлический
225-20-20.00.000 Платформа поворотная с механизмами
225-10-87.25.000 Установка предпускового подогрева двигателя и отопителя кабины
225-10-86.91.000 Управление экскаватором
005-04-90.00.000 Сиденье (до 01.06.2005 г.)
225-10-86.91.200 Пульт правый
312-20-86.90.200-10 Пульт левый
312-20-02.00.000 Кабина
312-20-02.50.000 Установка люка
312-20-02.40.000 Дверь
312-20-02.42.000 Установка замков
312-20-02.80.000, 312-20-02.80.000-10, 312-20-02.80.000-20 Установка зеркала заднего вида
312-20-02.80.000 Рамка верхняя
225-10-07.00.000 Механизм поворота
225-20-80.00.000 Гидрооборудование на поворотной платформе (с гидравликой «Bosch-Rexroth»)
225-10-80.01.000 Трубопроводы на поворотной платформе (с гидравликой «Bosch-Rexroth»)
ЭО-3323А.08.07.110-10 (60 атм.) Клапан предохранительный
ЕТ-25-520.00 Гидрораспределитель
520.20.51.100 Секция рабочая (ход), 520.20.51.000 Секция рабочая (поворот)
Секция рабочая (гидромолот)
520.21.70.000 Напорно-сливная секция
520.20.53.400 Секция рабочая (стрела)
520.20.53.100 Секция рабочая (ковш), 520.20.53.200 Секция рабочая (рукоять)
520.21.80.000 Напорно-сливная секция
520.20.50.300 Секция рабочая (добавка рукояти)
520.32.00.000-20 Блок клапанов «ИЛИ»
ЕТ22-521.00 Гидрораспределитель
225-10-80.04.000 Гидроуправление на поворотной платформе (монтажная схема) (с гидравликой «Bosch-Rexroth»)
ЭО-3323.07.10.010 Гидрораспределитель, 18.15.01.010 Гидрораспределитель
ЭО-3323А.07.21.010 Гидрораспределитель
ЭО-3323А.49.01.140 Клапан «ИЛИ»
ЭО-3332А.07.15.020 Клапан «ИЛИ»
13.80.04.500 Блок управления
13.80.04.800/850 Блок управления левый/правый
64002.10.000 Пневмогидроаккумулятор с гидроклапанами
225-00-80.09.000-10 Бак гидравлический (гидравлика «Bosch-Rexroth»)
225-00-80.06.000-20 Установка маслоохладительная (с г/м 310.12)
225-00-80.06.000-30 Установка маслоохладительная (с г/м 310.12)
225-01-03.00.000-10 Установка силовая
225-01-03.10.000 Установка радиаторов
225-01-03.13.000 Установка насоса
225-01-03.03.000 Топливопроводы и управление подачей топлива
225-00-25.00.000 Рабочее оборудование обратной лопаты
225-00-25.80.000 Трубопроводы рабочего оборудования
225-00-25.91.000 (160х110-1400) Гидроцилиндр (с уплотнениями «Элконт»), 225-00-25.91.000-11 (160х110-1400) Гидроцилиндр (с уплотнениями «ГидраПак»)
225-00-25.92.000 (140х90-1100) Гидроцилиндр (с уплотнениями «Элконт»), 225-00-25.92.000-11 (140х90-1100) Гидроцилиндр (с уплотнениями «ГидраПак»)
140-90-11.02.000 (140х90-1100) Гидроцилиндр (с уплотнениями «Элконт»), 140-90-11.02.000-11 (140х90-1100) Гидроцилиндр (с уплотнениями «ГидраПак»)
225-00-25.15.120 Ковш обратной лопаты
225-00-25.15.030 Зуб в сборе
225-00-44.00.000 Тележка гусеничная
222-00.43.700 Каток опорный
222-00.43.600 Механизм натяжения гусеничной цепи
222-00.43.620 Гидроцилиндр
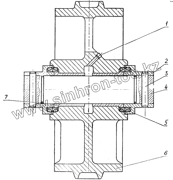
222-00.43.610 Колесо направляющее
225-00-44.60.000 Привод хода
225-00-44.80.000 Гидрооборудование на ходовой раме
ЭО-3123.31.12.300 Коллектор
225-10-88.12.000 Электрооборудование (с подогревателем HYDRONIC)
225-10-88.12.000 Э4 Схема электрическая соединений
1
2
3
4
5
6
7
Позиция на иллюстрации
Заводской номер детали
Название детали
1
ЭО-3322А.09.04.004
Пробка
2
222-00.43.611
Ползун
3
222-00.43.614
Штифт
4
222-00.43.612
Ось
5
ЭО-3122.30.10.200
Уплотнение
6
222-00.43.660
Колесо направляющее
7
9833.080-090-58-2-3
Кольцо
Содержащиеся в справочниках-каталогах запасные части и детали не предлагаются к продаже, а носят исключительно информационный характер
Дополнительная информация
×
Название:
Номер:
Примечание: